欢迎来到知嘟嘟! 联系电话:13336804447 卖家免费入驻,海量在线求购! 卖家免费入驻,海量在线求购!
知嘟嘟
我要发布
联系电话:13336804447
知嘟嘟经纪人
收藏
专利号: 2013107444831
申请人: 华侨大学
专利类型:发明专利
专利状态:已下证
专利领域: 一般车辆
更新日期:2024-01-05
缴费截止日期: 暂无
价格&联系人
年费信息
委托购买

摘要:

权利要求书:

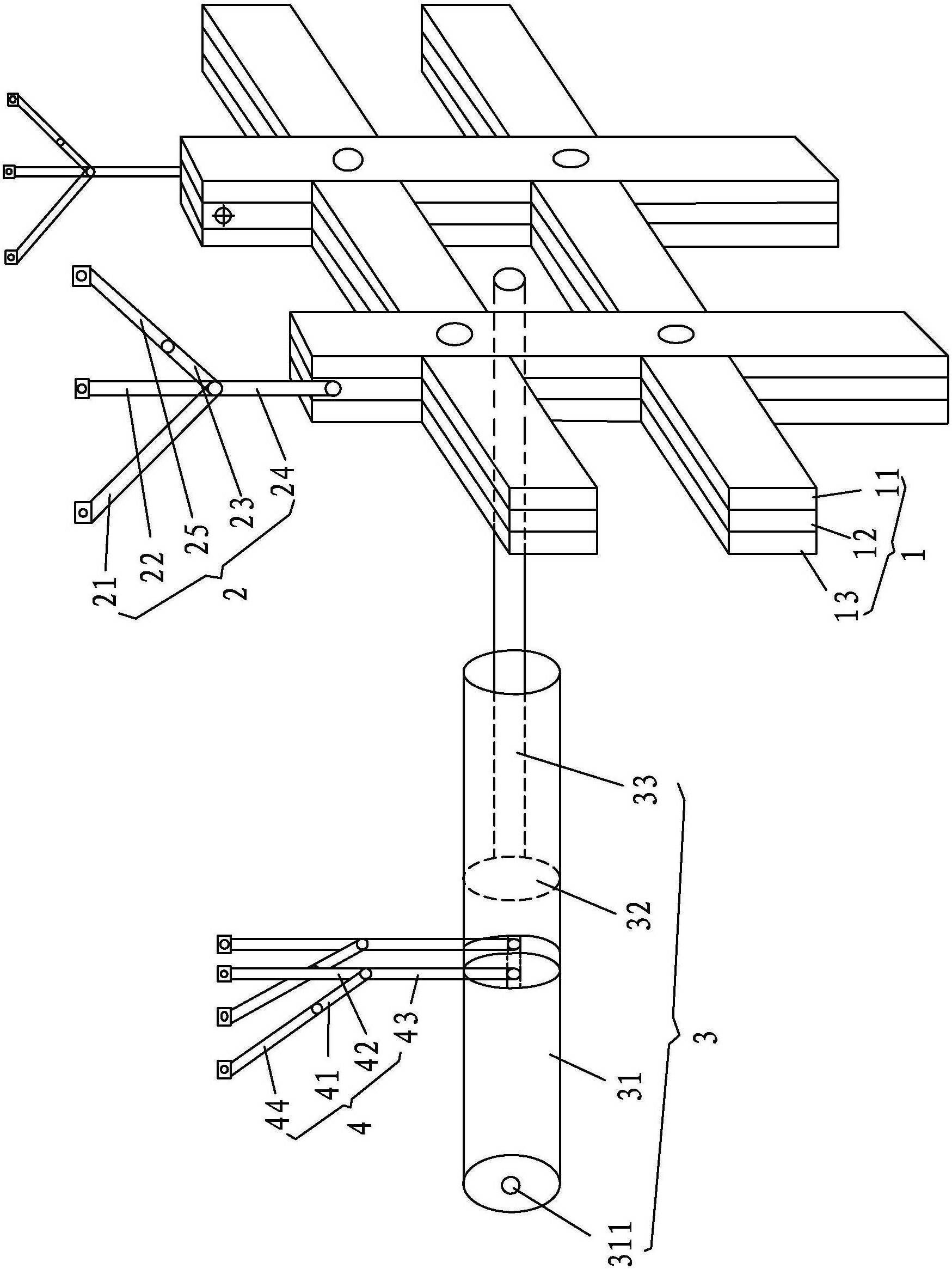
1.一种兼具碰撞兼容性与通过性的缓冲吸能防撞机构,其特征在于:包括能通过弹性变形缓冲吸能的井子缓冲吸能架,以及能通过压缩气体缓冲吸能的辅助缓冲吸能气缸,且井子缓冲吸能架的弹性变形部位抵接在辅助缓冲吸能气缸上;井子缓冲吸能架上设有能收放于车尾部的耙型连杆机构,辅助缓冲吸能气缸上设有能收放于车尾部的叉型连杆机构。

2.如权利要求1所述的一种兼具碰撞兼容性与通过性的缓冲吸能防撞机构,其特征在于:所述井子缓冲吸能架包括依次叠设在一起的外缓冲吸能层、中缓冲吸能层和内缓冲吸能层;所述外缓冲吸能层和中缓冲吸能层分别包括外壳和填充于外壳内的填充料;外缓冲吸能层的外壳、中缓冲吸能层的外壳和内缓冲吸能层的材料刚度依次增强;所述外缓冲吸能层的填充料和中缓冲吸能层的填充料的强度和硬度依次增加。

3.如权利要求2所述的一种兼具碰撞兼容性与通过性的缓冲吸能防撞机构,其特征在于:所述外缓冲吸能层的所述外壳采用铝外壳和/或所述外缓冲吸能层的所述填充料采用泡沫。

4.如权利要求2所述的一种兼具碰撞兼容性与通过性的缓冲吸能防撞机构,其特征在于:所述中缓冲吸能层的所述外壳采用具有蜂窝状内腔的铝外壳和/或所述中缓冲吸能层的所述填充料采用聚氨酯泡沫胶。

5.如权利要求2所述的一种兼具碰撞兼容性与通过性的缓冲吸能防撞机构,其特征在于:所述内缓冲吸能层采用高强度钢板。

6.如权利要求1所述的一种兼具碰撞兼容性与通过性的缓冲吸能防撞机构,其特征在于:所述辅助缓冲吸能气缸包括筒体、塞体和推杆,筒体的一端底面上开有气孔,筒体的另一端内部以能滑动密封接触的方式设置塞体,塞体上设置推杆,推杆伸出筒体的此端部并能抵接在所述井子缓冲吸能架上。

7.如权利要求6所述的一种兼具碰撞兼容性与通过性的缓冲吸能防撞机构,其特征在于:所述井子缓冲吸能架的井子中部设有抵接板,抵接板采用高强度钢板且能与所述推杆的端部相抵接。

8.如权利要求1所述的一种兼具碰撞兼容性与通过性的缓冲吸能防撞机构,其特征在于:所述耙型连杆机构包括端部铰接在一起的第一侧杆、上中杆和第二下侧杆,第二下侧杆的端部向上沿其杆身方向还铰接有第二上侧杆,上中杆的上述铰接点处沿其杆长方还铰接有下中杆从而构成耙型,下中杆的端部铰接在所述井子缓冲吸能架上。

9.如权利要求1所述的一种兼具碰撞兼容性与通过性的缓冲吸能防撞机构,其特征在于:所述叉型连杆机构包括端部铰接在一起的下斜撑杆和上竖支杆,下斜撑杆沿其杆长方向铰接有上斜撑杆,上竖支杆的上述铰接点处沿其杆长方向还铰接有下竖支杆从而构成叉型,下竖支杆的端部铰接在所述辅助缓冲吸能气缸上。

10.如权利要求1所述的一种兼具碰撞兼容性与通过性的缓冲吸能防撞机构,其特征在于:所述井子缓冲吸能架的外表上涂有反光层。