欢迎来到知嘟嘟! 联系电话:13336804447 卖家免费入驻,海量在线求购! 卖家免费入驻,海量在线求购!
知嘟嘟
我要发布
联系电话:13336804447
知嘟嘟经纪人
收藏
专利号: 2018100036783
申请人: 西南交通大学
专利类型:发明专利
专利状态:已下证
专利领域: 道路、铁路或桥梁的建筑
更新日期:2024-01-05
缴费截止日期: 暂无
价格&联系人
年费信息
委托购买

摘要:

权利要求书:

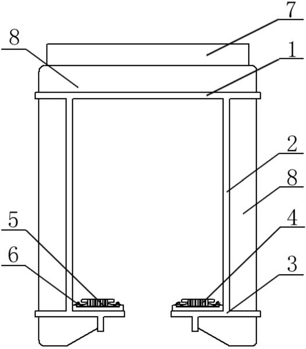
1.一种悬挂式单轨交通轨道梁,包括轨道梁顶板(1)、设置在轨道梁顶板(1)左右两侧的轨道梁腹板(2)以及设置在轨道梁腹板(2)内侧壁上的轨道梁底板(3),其特征在于:轨道梁底板(3)上设置有减振橡胶垫(5),减振橡胶垫(5)上设有走行轨(4),走行轨(4)通过扣件系统(6)连接在轨道梁底板(3)上;

减振橡胶垫(5)包括横截面为梯形的主减振垫(52),主减振垫(52)的两侧设置有横截面为三角形的副减振垫(51),副减振垫(51)的斜面与主减振垫(52)的斜面贴合;

轨道梁底板(3)的上表面设置有多组承轨台(9),多组承轨台(9)沿轨道梁底板(3)的长度方向均布;每组承轨台(9)的上表面均设置有胶垫放置槽,胶垫放置槽的长度与减振橡胶垫(5)的主减振垫(52)的底边长度相等,减振橡胶垫(5)放置于对应的承轨台(9)的胶垫放置槽内。

2.如权利要求1所述的一种悬挂式单轨交通轨道梁,其特征在于:每个单跨的轨道梁顶板(1)上在轨道梁顶板(1)的中间位置处以及两侧1/4的位置处均设置有环形凹槽,每个环形凹槽内均设置有被动式减振系统(7)。

3.如权利要求2所述的一种悬挂式单轨交通轨道梁,其特征在于:被动式减振系统(7)包括质量块和弹性连接件,弹性连接件置于环形凹槽内,环形凹槽的底面及四周与弹性连接件接触,质量块设置在弹性连接件顶面上。

4.如权利要求3所述的一种悬挂式单轨交通轨道梁,其特征在于:位于轨道梁顶板(1)

1/4、3/4处的质量块的质量为: ;

位于轨道梁顶板(1)1/4、3/4处的弹性连接件的刚度为:

位于轨道梁顶板(1)1/4、3/4处的弹性连接件的阻尼系数为:

其中, , 为轨道梁从第j个自由度观察到的

第i阶模态的具有物理含义的等价质量, 为轨道梁的动能, 为轨道

梁第i阶模态的固有向量, 为轨道梁的离散的单自由度质量, 为轨

道梁的第i阶固有圆频率, 为 与 的比值, 为轨道梁在第i阶模态处被动式减振系统(7)的质量块的质量,Mi为轨道梁第i阶模态等价质量,Ki为轨道梁第i阶模态等价刚度,为轨道梁在第i阶模态处被动式减振系统(7)的弹性连接件的刚度, 为轨道梁在第i阶模态处被动式减振系统(7)的弹性连接件的阻尼, 为轨道梁第i阶模态等价阻尼, 为轨道梁第i阶模态等价阻尼比,i取值为2。

5.如权利要求3所述的一种悬挂式单轨交通轨道梁,其特征在于:位于轨道梁顶板(1)

1/2处的质量块的质量为: ;

位于轨道梁顶板(1)1/2处的弹性连接件的刚度为:

位于轨道梁顶板(1)1/2处的弹性连接件的阻尼系数为:

其中, , 为轨道梁从第j个自由度观察到的

第i阶模态的具有物理含义的等价质量, 为轨道梁的动能, 为轨道

梁第i阶模态的固有向量, 为轨道梁的离散的单自由度质量, 为轨

道梁的第i阶固有圆频率, 为 与 的比值, 为轨道梁在第i阶模态处被动式减振系统(7)的质量块的质量, 为轨道梁第i阶模态等价质量,Ki为轨道梁第i阶模态等价刚度,为轨道梁在第i阶模态处被动式减振系统(7)的弹性连接件的刚度, 为轨道梁在第i阶模态处被动式减振系统(7)的弹性连接件的阻尼, 为轨道梁第i阶模态等价阻尼, 为轨道梁第i阶模态等价阻尼比,i取值为1。

6.如权利要求1所述的一种悬挂式单轨交通轨道梁,其特征在于:轨道梁顶板(1)的顶面上、轨道梁腹板(2)的外侧壁上以及轨道梁底板(3)上均设置有多组加强筋(8),轨道梁顶板(1)上的多组加强筋(8)沿轨道梁顶板(1)的长度方向均布,轨道梁腹板(2)上的多组加强筋(8)沿轨道梁腹板(2)的长度方向均布,轨道梁底板(3)上的多组加强筋(8)沿轨道梁底板(3)的长度方向均布。

7.如权利要求1所述的一种悬挂式单轨交通轨道梁,其特征在于:走行轨(4)包括多段长走行轨条,长走行轨条的首端和/或尾端设置有叉指结构(41),上一截长走行轨条尾端的叉指结构(41)与下一截长走行轨条首端的叉指结构(41)相适配并错位对接。

8.如权利要求1所述的一种悬挂式单轨交通轨道梁,其特征在于:扣件系统(6)包括扣压板(61),扣压板(61)通过扣压螺栓(62)、扣压螺母(63)安装在轨道梁底板(3)上,且扣压板(61)的扣压端贴紧到走行轨(4)上时扣压板(61)的另一端与轨道梁底板(3)顶面之间留有间隙。