欢迎来到知嘟嘟! 联系电话:13336804447 卖家免费入驻,海量在线求购! 卖家免费入驻,海量在线求购!
知嘟嘟
我要发布
联系电话:13336804447
知嘟嘟经纪人
收藏
专利号: 2017114672239
申请人: 台州金福桂再生资源利用有限公司
专利类型:发明专利
专利状态:已下证
专利领域: 基本电气元件
更新日期:2024-11-01
缴费截止日期: 暂无
价格&联系人
年费信息
委托购买

摘要:

权利要求书:

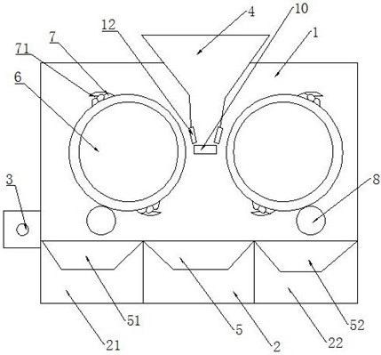
1.一种废电线再生拆解机的抽芯装置,其特征在于:包括挡线装置、理线辊(6)、压线槽 (101)、断线刀具(102)、夹线圈(8)、理线钩(7)和夹线制动轮(9);所述的压线槽(101)和断 线刀具(102)设置在挡线装置上;所述的夹线圈(8)和理线钩(7)设置在理线辊(6)上;所述 的夹线圈(8)位于理线钩(7)左右二侧,可活动地套设在理线辊(6)的圆周上的;所述的夹线圈(8)包括左、右夹臂(82),所述的左、右夹臂(82)构成开口向上的V形夹线圈(8),所述的夹线制动轮(9)设置在夹线圈(8)上;所述的夹线制动轮(9)在夹线圈(8)的V形开口部与夹线圈(8)压紧接触;在所述的夹线制动轮(9)和/或轮轴(92)上设置夹线制动轮(9)的转动阻力,所述的理线钩(7)上设置鸟喙状割皮槽(71)。

2.根据权利要求1所述的一种废电线再生拆解机的抽芯装置,其特征在于:在所述理线钩(7)左右二侧的理线辊(6)圆周面上设有与夹线圈(8)相互配合的向内凹进的线圈槽 (81),在所述的线圈槽(81)底部设有活动轴承,所述的线圈槽(81)内二侧设置弹性装置 (84);所述的夹线圈(8)安装在线圈槽(81)内;所述的弹性装置(84)分别与左、右夹臂(82) 连接。

3.根据权利要求2所述的一种废电线再生拆解机的抽芯装置,其特征在于:在所述的左、右夹臂(82)的夹角底部设置破线刀片(83)。

4.根据权利要求1或2或3所述的一种废电线再生拆解机的抽芯装置,其特征在于:所述的夹线 圈(8)为电热烫夹线圈。

5.根据权利要求1所述一种废电线再生拆解机的抽芯装置,其特征在于:所述的左、右夹臂(82)之间为弹性夹线结构,在所述的夹臂(82)的径向表面上设置夹线凸棱(85)。

6.根据权利要求1或2或3所述的一种废电线再生拆解机的抽芯装置,其特征在于:所述的夹线制动轮(9)设置在理线辊(6)的下部;所述的夹线制动轮(9)通过与理线辊(6)平行设置的固定在机箱2内;所述的夹线制动轮(9)在夹线圈(8)的V形开口部与夹线圈(8)压紧接触;所述的夹线制动轮(9)在向夹线圈(8)的V形夹线角空隙处设置铲皮钩(91)。

7.根据权利要求6所述的一种废电线再生拆解机的抽芯装置,其特征在于:所述的夹线 制动轮(9)和/或轮轴(92)上设置夹线制动轮(9)的转动阻力,使夹线圈(8)在夹线后的转动速度受到夹线制动轮(9)阻力而慢于理线辊(6)的转动速度。

8.根据权利要求6所述的一种废电线再生拆解机的抽芯装置,其特征在于:所述的夹线制动轮(9)与调速电机(3)连接,所述的夹线制动轮(9)的转动阻力通过调速电机(3)控制所述的夹线制动轮(9)与夹线圈(8)的转动速度与转向产生。

9.根据权利要求1所述的一种废电线再生拆解机的抽芯装置,其特征在于:所述的鸟喙状割皮槽(71)为L形结构,所述的鸟喙状割皮槽(71)底部刀刃宽度小于电线的半径。

10.根据权利要求1或2或3所述的一种废电线再生拆解机的抽芯装置,其特征在于:所 述的挡线装置为挡线板(10),所述的挡线板(10)与机体(1)固定,所述的挡线板(10)上端连 接进料口(4),下端设置上下重叠的两排带刃的齿,齿与齿的间隙构成压线槽(101);与挡线板(10)固定一体的下齿为定刀(103),重叠在定刀(103)上的上齿为动刀(104),所述的 定刀(103)与动刀(104)构成断线刀具(102);所述的断线刀具(102)在理线钩(7)转动到压 线槽(101)前,动刀(104)往复移动断线一次。