欢迎来到知嘟嘟! 联系电话:13336804447 卖家免费入驻,海量在线求购! 卖家免费入驻,海量在线求购!
知嘟嘟
我要发布
联系电话:13336804447
知嘟嘟经纪人
收藏
专利号: 2017114393885
申请人: 金华馨菲科技有限公司
专利类型:发明专利
专利状态:已下证
专利领域: 计算;推算;计数
更新日期:2024-02-26
缴费截止日期: 暂无
价格&联系人
年费信息
委托购买

摘要:

权利要求书:

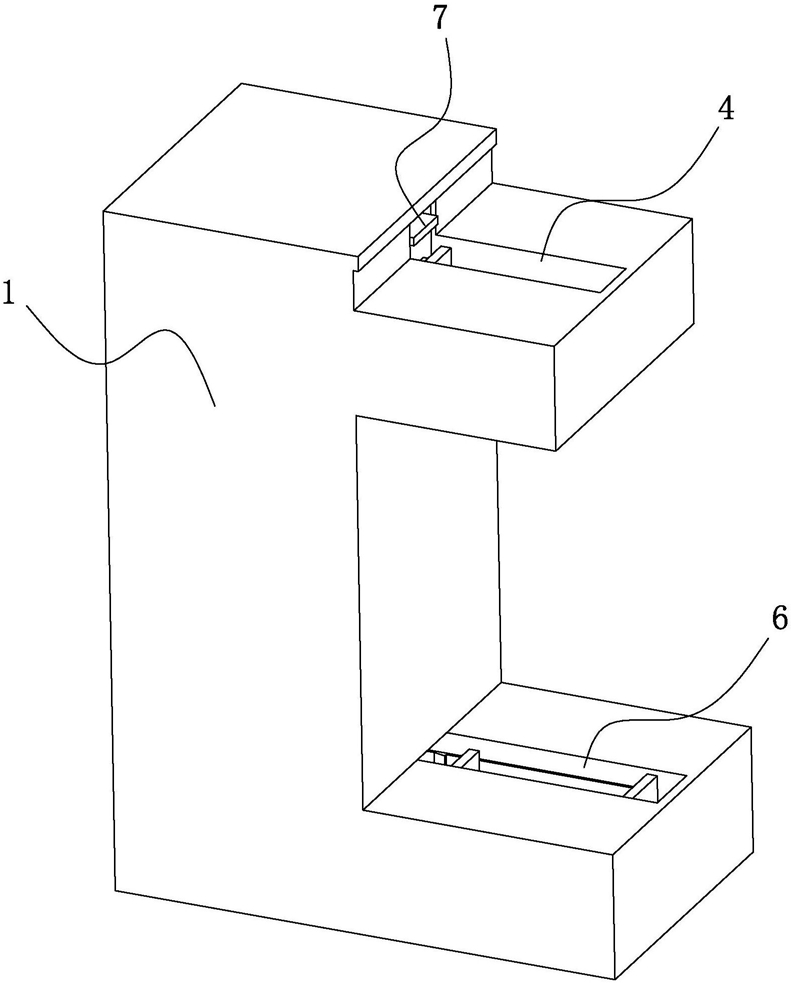
1.一种酒店用智能登记系统,包括壳体(1)、一设于壳体(1)内的集成工业级工控主机(2)及读卡器(3),所述读卡器(3)与集成工业级工控主机(2)电连接,其特征在于:所述壳体(1)内由上至下依次设有进卡槽(4)、读卡通道(5)及收卡槽(6),所述读卡通道(5)的上口位于进卡槽(4)的内侧底面,读卡通道(5)的下口位于收卡槽(6)的内侧上方;

所述进卡槽(4)的内侧面板为进卡挡板(401)、外侧面板为进卡辅助板(402),进卡槽(4)内设有一可在进卡挡板(401)与进卡辅助板(402)之间来回滑动的进卡推板(403),所述进卡推板(403)远离读卡通道(5)一侧与进卡辅助板(402)之间通过若干进卡弹簧(404)弹性连接;所述进卡挡板(401)上开设有一下料块贯穿口(405),所述下料块贯穿口(405)内设有一可上下移动的下料块(7),所述下料块(7)前端伸于进卡槽(4)内,后端位于壳体(1)内部,下料块(7)下移过程中,前端伸于进卡槽(4)部分尺寸可且只可带动一张身份证(16)下移;

所述读卡通道(5)的上口处管壁上设有一个送卡滚筒(501),所述送卡滚筒(501)通过一电机驱动自转,该电机与集成工业级工控主机(2)电连接;读卡通道(5)的下口处管壁上设有一滑块孔(504),所述滑块孔(504)内设有一可拦截读卡通道(5)内身份证(16)滑落的阻挡滑块(8),所述阻挡滑块(8)通过一电动推缸(12)驱动,该电动推缸(12)与集成工业级工控主机(2)电连接;所述读卡器(3)嵌设在所述读卡通道(5)的通道壁上且位于滑块孔(504)上方;所述阻挡滑块(8)的上表面设有弧面,所述下料块(7)下侧设有一连接杆(9),该连接杆(9)上端与下料块(7)固定,下端设有一可自转的滚轮(10),所述滚轮(10)贴设在所述阻挡滑块(8)上侧的弧面上;所述壳体(1)内设有所述连接杆(9)的导向支架(11)及所述连接杆(9)的回复弹簧(13);

所述收卡槽(6)的内侧面板为收卡挡板(601)、外侧面板为收卡辅助板(602),收卡槽(6)内设有一收卡装置,所述收卡装置包括一设于收卡槽(6)底面的支撑板(603)、一竖直固定在支撑板(603)上的收卡定位板(604)及一可在支撑板(603)上滑动的收卡推板(606);所述收卡定位板(604)位于收卡挡板(601)与收卡辅助板(602)之间,收卡定位板(604)两侧朝向收卡挡板(601)方向均设有若干限位横杆(605),两侧限位横杆(605)上设有相对的限卡倒勾(607);所述收卡推板(606)位于收卡挡板(601)与收卡定位板(604)之间且位于收卡定位板(604)两侧的限位横杆(605)之间,收卡推板(606)与收卡定位板(604)之间通过若干收卡弹簧(608)弹性连接;所述读卡通道(5)的下口位于收卡挡板(601)与收卡推板(606)之间的上方;所述收卡挡板(601)下方设有用于支撑板(603)穿过的贯穿孔,收卡挡板(601)两侧设有用于收卡定位板(604)两侧限位横杆(605)穿过的贯穿孔;所述支撑板(603)及收卡定位板(604)也通过上述电动推缸(12)驱动,可使收卡定位板(604)在收卡挡板(601)与收卡辅助板(602)之间作来回滑动。

2.根据权利要求1所述的一种酒店用智能登记系统,其特征在于:所述送卡滚筒(501)下侧依次设有一清洁滚筒(502)和一辅助滚筒(503),所述清洁滚筒(502)和辅助滚筒(503)均可沿着自身中心轴线自转,所述送卡滚筒(501)、清洁滚筒(502)及辅助滚筒(503)的一侧依次通过齿轮啮合,送卡滚筒(501)与清洁滚筒(502)转向相反,送卡滚筒(501)与辅助滚筒(503)的转向一致,所述清洁滚筒(502)外表面为毛刷,所述辅助滚筒(503)与送卡滚筒(501)结构一致。

3.根据权利要求2所述的一种酒店用智能登记系统,其特征在于:所述送卡滚筒(501)与辅助滚筒(503)的周向侧壁上设有多个用于增加与身份证接触摩擦力的摩擦筋。

4.根据权利要求2或3所述的一种酒店用智能登记系统,其特征在于:所述送卡滚筒(501)与辅助滚筒(503)的周向侧壁外侧为橡胶层。

5.根据权利要求1所述的一种酒店用智能登记系统,其特征在于:所述读卡通道(5)横截面的长度与身份证(16)的宽度匹配,横截面的宽度大于一张身份证(16)的厚度且小于两张身份证(16)的厚度。

6.根据权利要求1所述的一种酒店用智能登记系统,其特征在于:所述连接杆(9)上固定有锁圈(901),所述回复弹簧(13)套设在连接杆(9)上,回复弹簧(13)下端与锁圈(901)连接,上端与导向支架(11)连接,回复弹簧(13)保持压缩状态。

7.根据权利要求1所述的一种酒店用智能登记系统,其特征在于:所述进卡弹簧(404)内均设有一光杆(14)和一套管(15),所述光杆(14)一端伸于套管(15)一端端口内并可在套管(15)内滑动,另一端与进卡推板(403)固定,套管(15)另一端与进卡辅助板(402)固定。

8.根据权利要求1所述的一种酒店用智能登记系统,其特征在于:所述收卡弹簧(608)内均设有一光杆(14)和一套管(15),所述光杆(14)一端伸于套管(15)一端端口内并可在套管(15)内滑动,另一端与收卡推板(606)固定,套管(15)另一端与收卡定位板(604)固定。