欢迎来到知嘟嘟! 联系电话:13336804447 卖家免费入驻,海量在线求购! 卖家免费入驻,海量在线求购!
知嘟嘟
我要发布
联系电话:13336804447
知嘟嘟经纪人
收藏
专利号: 2019222850571
申请人: 广东顺德中泽模具有限公司
专利类型:实用新型
专利状态:已下证
专利领域: 塑料的加工;一般处于塑性状态物质的加工
更新日期:2024-07-15
缴费截止日期: 暂无
价格&联系人
年费信息
委托购买

摘要:

权利要求书:

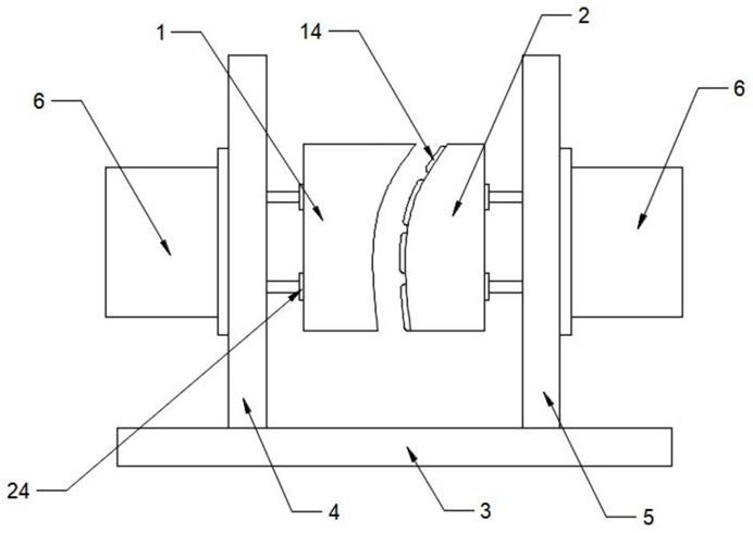
1.酒店用手推式洗地机模具,包括左模和右模,所述左模和右模相互匹配结合,结合后型腔为洗地机外壳状;其特征在于,还包括驱动机构和机架,所述机架包括底板、左侧板和右侧板;所述左侧板竖直安装在底板的左端,所述右侧板竖直安装在底板的右端;所述驱动机构包括两个双轴气缸,所述两个双轴气缸分别安装在左侧板的左侧面和右侧板的右侧面,并且两个双轴气缸的活塞端分别垂直朝向左侧板和右侧板之间;所述左模底部设有弹性伸缩件,所述左模通过弹性伸缩件安装在位于左侧板双轴气缸的活塞端上,所述右模底部也设有弹性伸缩件,所述右模通过弹性伸缩件安装在位于右侧板双轴气缸的活塞端上,并且左模和右模的型腔面相互对应。

2.根据权利要求1所述的酒店用手推式洗地机模具,其特征在于,所述弹性伸缩件包括滑动块和硬质弹簧,所述左模或右模的底部对应弹性伸缩件的位置处开设有与滑动块相互匹配的滑动孔,所述滑动孔与左模或右模的底部垂直,所述滑动孔的底部设有弹簧套接块,并且滑动块的一端也设有弹簧套接块,所述硬质弹簧的两端分别连接在滑动孔的底部和滑动块的弹簧套接块上,所述滑动块的侧壁与滑动孔的侧壁滑动连接,所述滑动孔的开口处还成型有挡圈,所述挡圈将滑动块挡在滑动孔内,所述双轴气缸的活塞端与滑动块固定连接。

3.根据权利要求2所述的酒店用手推式洗地机模具,其特征在于,所述滑动孔的开口位置处还安装有直线轴承,所述双轴气缸的活塞端与直线轴承滑动配合。

4.根据权利要求1所述的酒店用手推式洗地机模具,其特征在于,所述左模型腔面上成型有若干个凹槽,所述右模的型腔面上成型有与左模凹槽相互卡接的凸块。

5.根据权利要求4所述的酒店用手推式洗地机模具,其特征在于,所述凹槽的侧壁和底部之间为圆角,并且凹槽底部到开口位置逐渐变宽。