欢迎来到知嘟嘟! 联系电话:13095918853 卖家免费入驻,海量在线求购! 卖家免费入驻,海量在线求购!
知嘟嘟
我要发布
联系电话:13095918853
知嘟嘟经纪人
收藏
专利号: 2017112738477
申请人: 钟小二
专利类型:发明专利
专利状态:已下证
专利领域: 液力机械或液力发动机;风力、弹力或重力发动机;其他类目中不包括的产生机械动力或反推力的发动机
更新日期:2025-05-16
缴费截止日期: 暂无
价格&联系人
年费信息
委托购买

摘要:

权利要求书:

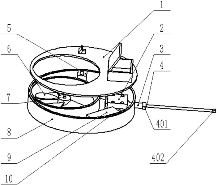
1.一种利用水流和振动发电的便携式发电机,是由上盖、USB充电口密封盖、连接绳收纳盒、电动机上夹板、电动机轴,连接绳、螺纹轴、发电机轴套、USB充电口、涡轮叶片、涡轮轴、螺纹孔、定位轴孔、定位轴、下盒体、支撑架、蓄电池、密封垫圈、小型发电机、发电机下夹板、导线和振动发电机组成的,其特征在于:所述的上盖上具有USB充电口密封盖、连接线收纳盒以及盒盖结构,上盖为圆形结构,中间有偏心的圆形孔,所述的下盒体整体为圆形结构,内部中空,具有与上盖相同大小的圆型孔洞,圆形孔洞底面有十字架形状的支撑板,支撑板中心有一个定位轴,焊接在支撑板中心上,圆形孔洞与下盒体的中心不重和,偏心设置,在外侧立壁有电动机轴孔;所述的发电动机上夹板具有四个螺栓孔,左右两侧各两个,中间处有圆柱形凹槽;所述的发电机下夹板有四个螺纹孔,大小与上夹板的螺纹孔大小一样,分布在两侧成对称分布,中间有圆柱形的凹槽;所述的电动机轴的尾端有螺纹结构;所述的蓄电池有两个,在发电机两侧成对称分布,安装在下盒体的中空部分;所述的电动机安装在电动机上夹板与下盒体的凹槽内;所述的涡轮叶片有五个,在涡轮轴上成圆周阵列分布,具有定位轴孔和与连接线相连的螺纹孔;所述的连接绳有与轴套和螺纹轴,轴套内有螺纹,能够与电动机轴上的螺纹相配合,螺纹轴与涡轮叶片的螺纹孔相配合;所述的振动发电机,安装在下盒体的内部,通过导线与蓄电池相连。

2.如权利要求1所述的一种利用水流和振动发电的便携式发电机,其特征在于:所述的连接绳为柔性材料,可以弯曲任意角度,连接绳中心为金属丝外侧包有一层塑料膜;所述的螺纹轴和发电机轴套都由金属制成,外侧涂有防水保护膜。

3.如权利要求1所述的一种利用水流和振动发电的便携式发电机,其特征在于:所述的发电机轴尾端的螺纹结构、连接绳上的发电机轴套的螺纹、螺纹轴、以及涡轮叶片内的螺纹孔的模数都相同。

4.如权利要求1所述的一种利用水流和振动发电的便携式发电机,其特征在于:所述的上盖和下盒体形状一致,都是圆柱形中空结构,都拥有一个圆形偏心孔。

5.如权利要求1所述的一种利用水流和振动发电的便携式发电机,其特征在于:所述的支撑架为两个杆,两杆在中心铰接在一起,在中心点焊接有一个固定轴。

6.如权利要求1所述的一种利用水流和振动发电的便携式发电机,其特征在于:所述的涡轮叶片在闲置时放置在固定轴上,在使用时与连接绳的轴套相配合,并不是与下盒体组成一个整体。

7.如权利要求1所述的一种利用水流和振动发电的便携式发电机,其特征在于:所述的发电机有两个,即小型发电机和振动发电机,分别通过导线与蓄电池相连。

8.如权利要求7所述的一种利用水流和振动发电的便携式发电机,其特征在于:所述的小型发电机和振动发电机都为防水发电机。

9.如权利要求1所述的一种利用水流和振动发电的便携式发电机,其特征在于:涡轮叶片转动形成的扇面直径都是20厘米,上盖和下盒体的直径为40厘米,上盖和下盒体中间的孔直径都为22厘米。

10.如权利要求1所述的一种利用水流和振动发电的便携式发电机,其特征在于:上盖、下盒体、涡轮叶片、连接绳由硬质塑料制成,整体质量轻易于携带。