欢迎来到知嘟嘟! 联系电话:13336804447 卖家免费入驻,海量在线求购! 卖家免费入驻,海量在线求购!
知嘟嘟
我要发布
联系电话:13336804447
知嘟嘟经纪人
收藏
专利号: 2017111568587
申请人: 浙江理工大学
专利类型:发明专利
专利状态:已下证
专利领域: 测量;测试
更新日期:2024-11-06
缴费截止日期: 暂无
价格&联系人
年费信息
委托购买

摘要:

权利要求书:

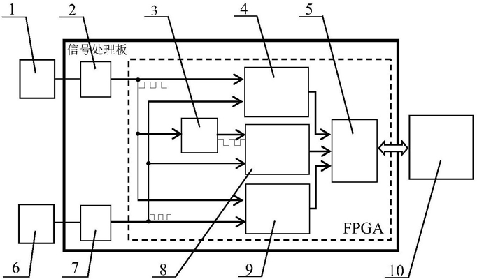
1.一种基于参考信号移相的激光外差干涉信号处理方法,其特征在于:

1)激光外差干涉仪中的参考光电探测器和测量光电探测器探测到参考信号和测量信号,两信号分别经参考信号预处理模块和测量信号预处理模块处理转变为矩形波参考信号Ref和矩形波测量信号Mea;

2)将两矩形波信号输入至鉴相模块进行整数和小数测量,具体为:

2.1)鉴相模块中对矩形波参考信号Ref和矩形波测量信号Mea进行上升沿计数和同步对减得到整数初值NInt0;

2.2)鉴相模块中将矩形波参考信号Ref经180°移相模块(3)处理后生成移相180°的测量信号Ref180,鉴相模块中对测量信号Ref180和矩形波测量信号Mea进行上升沿计数和同步对减得到整数补偿值NInt180;

2.3)鉴相模块中对矩形波参考信号Ref和矩形波测量信号Mea之间的相位差区间以及矩形波测量信号Mea的单周期相位区间进行填脉冲计数,将相位差区间的填脉冲计数值FNphase除以单周期相位区间的填脉冲计数值FNMea得到小数值NFrac;

3)在360°相位区间内,将由矩形波参考信号Ref和矩形波测量信号Mea的信号上升沿抖动导致的小数相位值为0°附近的整数初值不稳定跳变的相位区间[NFracL,1)和[0,NFracR]作为不稳定区间,不稳定区间以外的其他相位区间作为稳定区间;其中,NFracL,NFracR分别表示不稳定区间与稳定区间划分边界处设定的小数阈值;

4)由鉴相模块测得整数初值NInt0、整数补偿值NInt180和小数值NFrac,对小数值所在区间进行判别和不稳定区间整数补偿处理后,得到整小数结合值NReal。

2.根据权利要求1所述的一种基于参考信号移相的激光外差干涉信号处理方法,其特征在于:所述的整小数结合值NReal由以下公式得到:其中,ΔN为测量开始时分别由Ref和Ref180经整数测量模块得到整数值的差值,ΔN由下面的公式计算得到:其中,N0Frac为测量初始时的小数值,N0Int0和N0Int180分别为测量初始时分别由Ref0和Ref180信号经整数测量模块测量得到的整数值。