欢迎来到知嘟嘟! 联系电话:13336804447 卖家免费入驻,海量在线求购! 卖家免费入驻,海量在线求购!
知嘟嘟
我要发布
联系电话:13336804447
知嘟嘟经纪人
收藏
专利号: 2017111216183
申请人: 华侨大学
专利类型:发明专利
专利状态:已下证
专利领域: 测量;测试
更新日期:2024-01-05
缴费截止日期: 暂无
价格&联系人
年费信息
委托购买

摘要:

权利要求书:

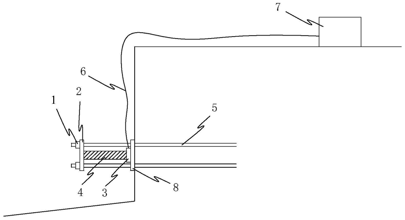
1.一种土崖蚀退过程监测装置,其特征在于:包括支撑单元、固定单元、活动单元和测量单元:所述支撑单元的前端插入土崖中,其裸露在外的部分由末端向前端的方向上依次套设有固定单元和活动单元;所述测量单元通过活动单元状态变化监测土崖崖面蚀退量;

所述支撑单元包括两根固定杆,所述两根固定杆的前端沿水平方向上下平行地部分插入土崖陡立面,裸露于土崖外部的长度至少为活动单元的最大压缩长度,所述两根固定杆的末端设有螺纹;

所述固定单元设置于支撑单元的末端,包括一固定垫片和两个螺母,所述固定垫片设有两个通孔,所述两个固定杆的尾端分别穿过通孔,所述螺母设置于垫片远离土崖陡立面的一侧,并与垫片紧密贴合;

所述活动单元包括压力器、压力传感器和活动垫片;所述活动垫片紧贴土崖设置,且其上设有两个通孔,所述两个固定杆分别穿过两个通孔;所述压力器位于两个固定杆间,且固定设置于固定垫片与活动垫片之间;所述压力器具有最大压缩长度和自由长度,所述固定杆长度大于压力器自由长度;所述压力器与活动垫片之间还设有压力传感器,所述压力传感器通过电缆与测量仪电信号连接;所述测量仪用于监测压力传感器传来的实时压力信号。

2.根据权利要求1所述的一种土崖蚀退过程监测装置,其特征在于:所述压力器包括长压缩弹簧,其最大压缩长度为0.5m,自由长度为1.0m。

3.根据权利要求1所述的一种土崖蚀退过程监测装置,其特征在于:所述固定杆长度为

1.5m,裸露于土崖外部的长度至少为0.5m。

4.根据权利要求1所述的一种土崖蚀退过程监测装置,其特征在于:所述测量仪为频率读数仪。

5.利用上述权利要求所述监测装置的一种土崖蚀退过程的监测方法,其特征在于,包括如下步骤:(1)实验室模拟试验:用电缆将压力传感器和测量仪连接,将固定垫片、压力器、压力传感器从左到右依次连接;由压力传感器端向压力器施以一个轴向力,使压力器处于压缩至最短的状态,读取此时测量仪度数D1,不断增长压力器长度,当压力器增长长度为Δxi时,频率仪读数为Di,根据最小二乘法建立压力器增长长度Δx与测量仪读数D之间的经验关系式:Δx=aD+b       ①

式中,a和b分别为经验拟合系数;

(2)架设监测装置:于台风来临前2-3天,取长度相同的固定杆两根,所述固定杆的一端设有螺纹;将两根固定杆沿水平方向上下平行地插入土崖陡立面,插入深度能使压力器处于最大压缩长度状态;将活动垫片套设于固定杆并紧贴土崖陡立面;在活动垫片的另一侧安装压力器和压力传感器,所述压力传感器设置于压力器与活动垫片之间,且通过电缆与安置在土崖非陡立面的测量仪电信号连接;之后在压力器末端套设固定垫片,并在垫片外侧拧上螺母,通过螺母控制压力器压缩至最大压缩长度;

(3)监控土崖蚀退程度:台风期间强波浪使得土崖不断侵蚀,此时土崖崖面后退,压力器长度不断增长使活动垫片始终保持紧贴土崖陡立面,根据测量仪收到的压力传感器实时读数与步骤(1)中的经验关系式①,能够得到蚀退量随时间的变化关系,从而监控土崖蚀退程度;

(4)待台风结束后,下次台风来临前,将固定杆继续打入至步骤(2)深度,重复上述步骤(3)进行持续监测。

6.根据权利要求5所述的一种土崖蚀退过程的监测方法,其特征在于:所述测量仪设置于土崖上,其高度大于台风波浪侵蚀高度。

7.根据权利要求5所述的一种土崖蚀退过程的监测方法,其特征在于:所述压力器包括长压缩弹簧,其最大压缩长度为0.5m,自由长度为1.0m。

8.根据权利要求7所述的一种土崖蚀退过程的监测方法,其特征在于:所述固定杆长度为1.5m,步骤(2)中使压力器处于最大压缩长度状态的插入长度为1.0m。

9.根据权利要求5所述的一种土崖蚀退过程的监测方法,其特征在于:所述固定垫片、压力器、压力传感器、活动垫片通过焊接固定连接。