欢迎来到知嘟嘟! 联系电话:13336804447 卖家免费入驻,海量在线求购! 卖家免费入驻,海量在线求购!
知嘟嘟
我要发布
联系电话:13336804447
知嘟嘟经纪人
收藏
专利号: 2017110210207
申请人: 台州市诺贝格塑模有限公司
专利类型:发明专利
专利状态:已下证
专利领域: 家具;家庭用的物品或设备;咖啡磨;香料磨;一般吸尘器
更新日期:2025-04-21
缴费截止日期: 暂无
价格&联系人
年费信息
委托购买

摘要:

权利要求书:

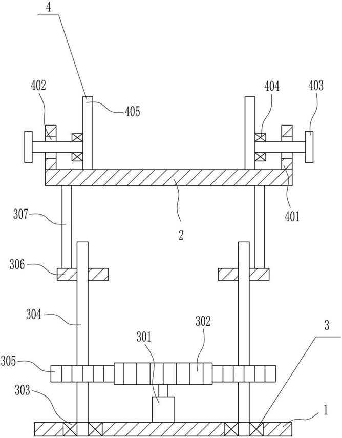
1.一种集成电路测试仪用展示台,其特征在于,包括有底板(1)、放置板(2)、高度调节装置(3)和固定装置(4),底板(1)正上方设有放置板(2),底板(1)上安装有高度调节装置(3),放置板(2)上安装有固定装置(4)。

2.根据权利要求1所述的一种集成电路测试仪用展示台,其特征在于,高度调节装置(3)包括有第一电机(301)、大齿轮(302)、第一轴承座(303)、第一螺杆(304)、小齿轮(305)、螺母(306)和连杆(307),底板(1)顶部中间通过螺栓连接有第一电机(301),第一电机(301)顶端的输出轴上通过联轴器连接有大齿轮(302),底板(1)上左右对称通过过盈连接有第一轴承座(303),第一轴承座(303)上通过过盈连接有第一螺杆(304),第一螺杆(304)偏下位置通过键连接有小齿轮(305),两个小齿轮(305)与大齿轮(302)啮合,第一螺杆(304)上活动式设有螺母(306),螺母(306)位于小齿轮(305)正上方,螺母(306)顶部焊接有连杆(307),连杆(307)顶部与放置板(2)底部通过焊接连接。

3.根据权利要求2所述的一种集成电路测试仪用展示台,其特征在于,固定装置(4)包括有固定杆(401)、T型螺杆(403)、第二轴承座(404)和固定板(405),放置板(2)顶部左右对称焊接有固定杆(401),固定杆(401)上开有螺孔(402),螺孔(402)内活动式设有T型螺杆(403),T型螺杆(403)内侧通过过盈连接有第二轴承座(404),第二轴承座(404)内侧通过螺栓连接有固定板(405)。

4.根据权利要求3所述的一种集成电路测试仪用展示台,其特征在于,还包括有角度调节装置(5),底板(1)底部安装有角度调节装置(5),角度调节装置(5)包括有第一连板(501)、滑块(503)、支杆(504)和第二电机(505),第一连板(501)顶部开有环形滑槽(502),环形滑槽(502)内滑动式设有两个滑块(503),两个滑块(503)顶部焊接有支杆(504),支杆(504)顶端与底板(1)底部通过焊接连接,第一连板(501)顶部中间通过螺栓连接有第二电机(505),第二电机(505)顶端的输出轴上与底板(1)底部通过联轴器连接。

5.根据权利要求4所述的一种集成电路测试仪用展示台,其特征在于,还包括有防尘装置(6),放置板(2)左右两侧安装有防尘装置(6),防尘装置(6)包括有第二连板(601)、卡块(603)、防尘罩(604)和把手(605),放置板(2)左右两侧对称焊接有第二连板(601),第二连板(601)上开有卡槽(602),卡槽(602)内设有卡块(603),放置板(2)顶部设有防尘罩(604),防尘罩(604)底部两侧与卡块(603)通过焊接连接,防尘罩(604)顶部焊接有把手(605)。

6.根据权利要求5所述的一种集成电路测试仪用展示台,其特征在于,还包括有第一橡胶块(7)和第二橡胶块(8),放置板(2)顶部左侧的固定板(405)右侧粘接有第一橡胶块(7),放置板(2)顶部右侧的固定板(405)左侧粘接有第二橡胶块(8)。

7.根据权利要求6所述的一种集成电路测试仪用展示台,其特征在于,还包括有安装杆(9)和轮子(10),第一连板(501)底部周围焊接有安装杆(9),安装杆(9)底端通过螺栓连接有轮子(10)。

8.根据权利要求7所述的一种集成电路测试仪用展示台,其特征在于,还包括有气缸(11)和固定块(12)第一连板(501)底部左侧通过螺栓连接有气缸(11),气缸(11)底端通过螺栓连接有固定块(12)。

9.根据权利要求8所述的一种集成电路测试仪用展示台,其特征在于,还包括有橡胶套(13),把手(605)外侧通过螺钉连接有橡胶套(13)。