欢迎来到知嘟嘟! 联系电话:13336804447 卖家免费入驻,海量在线求购! 卖家免费入驻,海量在线求购!
知嘟嘟
我要发布
联系电话:13336804447
知嘟嘟经纪人
收藏
专利号: 2017110055447
申请人: 青岛理工大学
专利类型:发明专利
专利状态:已下证
专利领域: 工程元件或部件;为产生和保持机器或设备的有效运行的一般措施;一般绝热
更新日期:2024-02-23
缴费截止日期: 暂无
价格&联系人
年费信息
委托购买

摘要:

权利要求书:

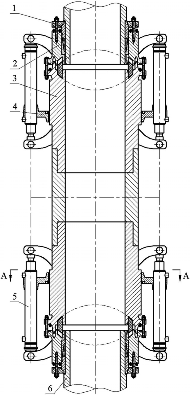
1.一种轴向内拉式快速连接海底管道装置,两套对接器和端部密封器沿轴向由内而外依次同轴心放置并对称布置于导向器的两侧端,滑移体与导向器同轴心布置且两滑移体分别置于导向器的花键齿式导轨,两套独立的液压轴拉系统沿周向均布于导向器的外环面;

该连接海底管道装置采用透镜密封环及锥形密封环和六角形密封环,并结合左右对称式构造及齿槽式对接器、花键齿式导向器和键槽式滑移体,实施水下液压驱动轴向内拉快速连接作业,实现不同管段海底管道的快速连接,其特征在于:一端部密封器;所述端部密封器采用回转体,轴推盘采用圆盘体,其环腔内壁加工有锥形卡槽,轴推盘的盘面上铣有沿径向分层排列的环形凹槽;挤压套采用环体,其外环面沿轴向依次铣有环形沟槽和锥形卡环,挤压套的锥形卡环与轴推盘的锥形卡槽相配合;

一对接器;所述对接器采用齿槽式筒体,对接支座沿周向均布于对接体的外环面上;对接体由筒体和盘体组合而成,对接体沿轴向的外侧端面设有与轴推盘环形凹槽相同位置和规格的环形凹槽,对接体的环腔内壁采用阶梯回转面,其内配置对接衬套;对接体的内侧端面沿径向依次铣有环形沟槽和拱形齿槽,对接体的环形沟槽与导向体的环形沟槽沿轴向对称布置且所形成的对称锥面环腔内配置透镜密封环,实现对接体与导向体间的第一级密封,透镜密封环两侧半球面的球心均位于对接体的轴线上,对接体的拱形齿槽沿周向均匀布置,其拱形齿槽与导向体的拱形卡齿相配合,对接体盘体的盘面上沿径向依次设有环形凹槽和对接螺孔;六角形密封环由外六角形密封环和内六角形密封环组成,对接衬套由管体加工而成,其环腔内壁依次设有锥状沟槽和柱状滑环,对接衬套的锥状沟槽内配置锥形密封环;

一导向器;所述导向器采用卡齿式长管体,导向体沿轴向的内侧端设有柱状卡环,而导向体的外侧端沿径向由内而外依次设有环形沟槽、拱形卡齿和盘体,导向体拱形卡齿的外环面设置锥状环齿面,导向体拱形卡齿的环腔内壁沿轴向依次设有锥状凹槽和柱状凹槽,导向体盘体的盘面上分别设有与对接体盘体相同位置和规格的环形凹槽和导向螺孔;导向体的外环面上设有沿周向均布的花键齿,导向体的花键齿顺延轴向放置,而为滑移体提供轴向滑移的花键齿式导轨,导向体花键齿两侧齿面的齿廓采用对称分布的渐开线;导向管的两侧铣有柱状卡槽,导向支座沿周向均布于导向体的外环面上,导向支座和对接支座沿轴向对称布置,每个导向支座和对接支座沿径向的外侧端设置矩形沟槽;

一滑移体;所述滑移体采用键槽式剖分盘体,上滑移盘的剖分面上设有沿径向对称布置的条形卡块,下滑移盘的剖分面上铣有沿径向对称布置的条形卡槽,下滑移盘的条形卡槽与上滑移盘的条形卡块相配合;上滑移盘和下滑移盘沿轴向的内侧端设有锥状凸台,且其外侧端沿径向依次设有环形凹槽和锥状卡环;上滑移盘和下滑移盘的盘体和锥状凸台的环腔内壁铣有沿周向均布的花键齿槽,各花键齿槽两侧齿槽面的齿槽轮廓采用对称分布的渐开线;

一液压轴拉系统;所述两套独立的液压轴拉系统提供对接器与导向器自动快速对接时的驱动力,每套液压轴拉系统采用沿导向体圆周方向均匀布置的三个独立液压缸。

2.根据权利要求1所述的轴向内拉式快速连接海底管道装置,其特征在于:所述轴向内拉式快速连接海底管道装置整体设计为左右对称式构造,其端部密封器、对接器、滑移体和液压轴拉系统采用分体式结构,而导向器则采用单体式结构;

所述对接器的透镜密封环和六角形密封环以及端部密封器的锥形密封环同轴心布置,透镜密封环两侧的密封面为沿轴向对称布置的半球面,且透镜密封环两侧半球面与对接器和导向器环形沟槽底面的密封接触部位为同轴心布置的环形密封带,锥形密封环的横截面呈直角梯形,而六角形密封环的横截面则呈六边形。

3.根据权利要求1所述的轴向内拉式快速连接海底管道装置,其特征在于:所述端部密封器中轴推盘的外径等于对接器中对接体的外环面直径,轴推盘环腔内壁锥形卡槽所在锥面的大端圆面直径大于对接体柱形环腔的直径,轴推盘盘面上环形凹槽的横截面呈等腰梯形;

所述端部密封器中挤压套外环面的环形沟槽等间距分层排列,挤压套的外环面与对接体柱形环腔的内壁之间精密配合同时挤压套的环腔内壁与海底管道预制环面之间精密配合而构成移动副,锥形密封环的规格与挤压套环腔内壁的直径保持一致。

4.根据权利要求1所述的轴向内拉式快速连接海底管道装置,其特征在于:所述对接器中对接体的主体采用筒体,且对接体沿轴向的内侧设有盘体,对接体环腔内壁截面变化处形成的轴肩实现对接衬套的轴向定位;

所述对接器中对接体内侧端面上环形沟槽的横截面呈直角梯形,对接体环形沟槽的沟槽底面为对接体和透镜密封环的密封接触部位;对接体拱形齿槽的齿槽底两侧设有锥状卡环面实现导向体拱形卡齿的轴向定位,对接体的拱形齿槽沿径向的内外两齿槽面端部均铣有锥状坡口,且对接体盘体的环形凹槽与对接体外侧端的环形凹槽依次同轴心布置。

5.根据权利要求1所述的轴向内拉式快速连接海底管道装置,其特征在于:所述对接器的对接支座沿径向朝外放置,对接体外侧端的环形凹槽内配置外六角形密封环,实现对接体与轴推盘间的密封,同时对接体盘体的环形凹槽内配置内六角形密封环,实现对接体与导向体间的第二级密封;对接衬套的外环面直径等于挤压套的外环面直径,且对接衬套环腔内壁的柱状滑环与海底管道预制环面之间精密配合而构成移动副。

6.根据权利要求1所述的轴向内拉式快速连接海底管道装置,其特征在于:所述导向器中导向管柱状卡槽的卡槽面与导向体柱状卡环的外环面之间采用过盈配合,导向管柱状卡槽的卡槽底面实现导向体的轴向定位,同时导向管柱状卡槽与导向体柱状卡环之间的结合面通过实施圆周焊的方式而将两导向体依次接于导向管的两侧;导向管的内径等于导向体环腔内壁的直径,且导向管的外径和导向体外环面的直径均等于对接体的外环面直径;

所述导向支座和对接支座均由矩形钢块和梯形钢块组合而成,沿轴向相同位置处的导向支座和对接支座整体呈现U形。

7.根据权利要求1所述的轴向内拉式快速连接海底管道装置,其特征在于:所述导向器的导向体由两个相同构造和规格的单体组成并对称布置于导向管的两侧,导向体外侧端环形沟槽的沟槽底面为导向体和透镜密封环的密封接触部位,且导向体环形沟槽沿径向的内外两沟槽面所在的柱面与对接体环形沟槽的内外两沟槽面所在的柱面分别保持重合;

所述导向体外侧端的拱形卡齿沿周向均匀布置,导向体拱形卡齿的锥状环齿面与对接体拱形齿槽外齿槽面上的锥状坡口相配合;导向体拱形卡齿的锥状凹槽所在锥面的锥度等于对接体拱形齿槽内齿槽面上锥状坡口所在锥面的锥度并与对接体拱形齿槽齿槽底的锥状卡环面相配合,拱形卡齿柱状凹槽与对接体拱形齿槽的内齿槽面之间精密配合而构成移动副;

所述导向体外环面的花键齿两侧齿面的齿廓与导向体外环面相交的部位采用圆弧过渡曲线,导向体花键齿的齿顶面采用圆拱面并位于同一柱面上,同时导向体花键齿式导轨的轴向长度大于滑移体盘体的厚度、滑移体锥状凸台的高度和液压轴拉系统液压缸的推程之和。

8.根据权利要求1所述的轴向内拉式快速连接海底管道装置,其特征在于:所述滑移体的上滑移盘和下滑移盘结构和规格相同,上滑移盘和下滑移盘的剖分面两端均设有柱形圆台,上滑移盘条形卡块的两侧端面与滑移体盘体的盘面相平齐,上滑移盘条形卡块的横截面呈等腰梯形,上滑移盘和下滑移盘外侧端的锥状卡环沿周向均布且其锥状卡环的环腔内壁与液压轴拉系统液压缸缸筒的外环面之间采用过盈配合。

9.根据权利要求1所述的轴向内拉式快速连接海底管道装置,其特征在于:所述上滑移盘和下滑移盘的各花键齿槽的齿槽顶面采用圆拱面并位于同一柱面上,滑移体各花键齿槽的齿槽顶面所在柱面的直径大于导向体花键齿的齿顶面所在柱面的直径,且滑移体的盘体和锥状凸台环腔内壁的直径大于导向体的外环面直径,同时导向体花键齿的两侧齿面分别与滑移体各花键齿槽的两侧齿槽面之间精密配合而构成移动副。

10.根据权利要求1所述的轴向内拉式快速连接海底管道装置,其特征在于:所述液压轴拉系统的各液压缸均沿轴向水平布置,并通过对接支座和导向支座将对接器与滑移体和导向器连为一体,从而完成端部密封器和对接器的轴向内拉;各液压缸的液压油均通过多路换向阀统一供给和分配,实现液压轴拉系统的自动同步轴向推进;液压缸缸筒通过对接支座和对接销轴与对接器和滑移体相连,液压缸活塞杆通过导向支座和导向销轴与导向器相连。