欢迎来到知嘟嘟! 联系电话:13336804447 卖家免费入驻,海量在线求购! 卖家免费入驻,海量在线求购!
知嘟嘟
我要发布
联系电话:13336804447
知嘟嘟经纪人
收藏
专利号: 201710988965X
申请人: 山东科技大学
专利类型:发明专利
专利状态:已下证
专利领域: 测量;测试
更新日期:2023-12-04
缴费截止日期: 暂无
价格&联系人
年费信息
委托购买

摘要:

权利要求书:

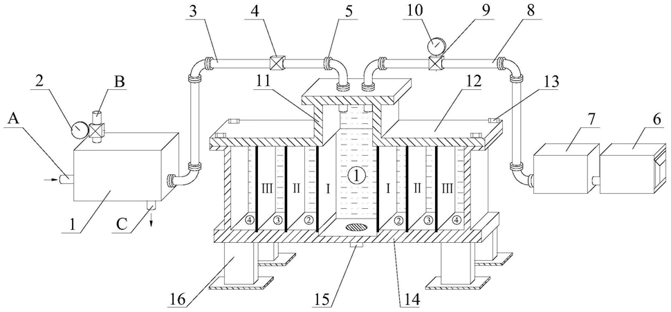
1.一种多功能室内土体注浆模拟试验装置的试验方法,其特征在于,所述的多功能室内土体注浆模拟试验装置包括依次连接的注浆机构、试验腔室以及控压机构,其中:所述的试验腔室设置在底架上,它是一个密封腔体,密封腔体由试验槽和与试验槽紧密活动连接的顶盖组成,密封腔体通过竖向设置的可拆卸的隔板隔成多腔室结构,所述的多腔室结构包括中间的主腔室,以及对称分布在主腔室两边的第二至第四腔室;主腔室的底部设有浆液或气体排放阀,第二至第四腔室的底部设有泻流口;要求顶盖活动连接在试验槽上时能保证不被密封腔体中的气体顶开;

所述的注浆机构包括调浆槽,调浆槽通过注浆管道与主腔室的顶部接通;在注浆管道上设有第一压力表和控浆阀门;

所述的控压机构包括空压机以及与空压机相连接的稳压装置,控压机构通过气体管道与主腔室的顶部连通,在气体管道上设有第二压力表和调压阀;

试验方法包括浆液单向注浆模拟试验、浆液侧向注浆模拟及滤过特性试验和浆液压滤效应及压密作用试验三种情况,其中:第一种情况:浆液单向注浆模拟试验,具体方法是:

1.1:打开密封腔体的顶盖,将主腔室左右两边的隔板选用金属隔板,在主腔室下方放置透液滤布,形成了一个用来实验的主腔室,将不同的土体按照预设的密实度和高度要求放置到主腔室内,土体高度为主腔室高度的(⅓-½),然后重新密封连接上顶盖,进而实现土体单向注浆浆液扩散模拟装置的组装;

1.2:通过调浆槽调节预设浓度的浆液,关闭主腔室底部的排放阀门,打开注浆管上的控浆阀门,将调浆槽中的浆液压入到主腔室内,通过第一压力表来控制注入主腔室内的注浆量,随着浆液的注入,主腔室中多余的气体通过气体管道泄出主腔室;

1.3:当注浆量达到要求时,关闭控浆阀门,打开主腔室底部的排放阀门,通过控制空压机的空气压力对主腔室浆液进行加载,使得浆液在空气压力的作用下渗透扩散到土体中,加载完毕后打开顶盖,研究浆液的扩散情况;

1.4:通过改变注浆压力、浆液水灰比、水泥粒度、浆液流速、土体级配、土体渗透系数或土体密实度,按照上述1.1和1.3方法多次试验,从而得到不同注浆压力、浆液水灰比、水泥粒度、浆液流速、土体级配、土体渗透系数或土体密实度条件下的浆液的单向扩散特性的研究;

第二种情况:浆液侧向注浆模拟及滤过特性试验,具体方法是:

2.1:打开密封腔体的顶盖,将试验腔室中的隔板选用可透浆滤网的隔板,在主腔室以及主腔室左右两侧的第二至第四腔室下方均放置有透液滤布,关闭主腔室底部的排放阀门以及第二至第四腔室底部的泻流口,将配置好的不同颗粒级配的土体按照预设的密实度和高度要求分别放置到第二至第四腔室内,然后重新密封连接上顶盖,进而实现浆液侧向注浆模拟装置的组装;

2.2:通过调浆槽调节预设浓度的浆液,打开注浆管上的控浆阀门,利用外界的气压输入,将调浆槽中的浆液压入到主腔室内,通过第一压力表的气压来控制注入腔室内的注浆量,随着浆液的注入,主腔室中多余的气体通过气体管道泄出主腔室;

2.3:当注浆量达到要求时,关闭控浆阀门,依次仅打开第二至第四腔室下方的泻流口其中之一,通过控制空压机的空气压力对主腔室内的浆液进行加载,使得浆液在空气压力的作用下侧向渗透扩散到第二至第四腔室的土体中,通过依次研究第二至第四泻流口出浆的浆液浓度,分析浆液扩散过程中的滤过特性;加载完毕后打开顶盖,取出注浆土体,研究浆液的扩散情况对土体的加固作用;

2.4:通过改变注浆压力、浆液水灰比、水泥粒度、浆液流速、土体级配、土体渗透系数或土体密实度,按照上述第2.1到2.3方法多次试验,从而得到不同注浆压力、浆液水灰比、水泥粒度、浆液流速、土体级配、土体渗透系数或土体密实度条件下对浆液侧向扩散及压滤的影响;

第三种情况:浆液压滤效应及压密作用试验,具体方法是:

3.1:打开密封腔体的顶盖,将主腔室与第二腔室共用的的隔板选用水泥颗粒不可渗透,仅水可透过的弹性滤膜材料材质的隔板,将第二腔室的另一块隔板换成金属隔板,在主腔室和第二腔室底部放置透液滤布,关闭主腔室底部的排放阀门以及第二腔室底部的泻流口,将配置好的不同颗粒级配的土体放置到第二腔室,然后重新密封连接上顶盖,进而实现压滤作用注浆模拟装置的组装;

3.2:通过调浆槽调节预设浓度的浆液,打开注浆管上的控浆阀门,利用外界的气压输入,将调浆槽中的浆液压入到主腔室内,通过第一压力表的气压来控制注入主腔室内的注浆量,随着浆液的注入,主腔室中多余的气体通过气体管道泄出主腔室;

3.3:当注浆量达到要求时,关闭控浆阀门,打开第二腔室底部的泻流口,通过控制空压机的空气压力对主腔室内浆液进行加载,使得浆液中的水在空气压力的作用下侧向扩散到土体中,水泥颗粒发生逐渐滤出,通过研究第二腔室底部的泻流口出浆的流速及主腔室内的空气压力的变化研究浆液的压滤特性;加载完毕后打开顶盖,取出压滤土体,通过力学试验分析压滤和压密条件下对土体的加固作用;

3.4:通过改变注浆压力、浆液水灰比、水泥粒度、浆液流速、土体级配、土体渗透系数或土体密实度,按照上述第3.1-3.3方法多次试验,从而得到不同注浆压力、浆液水灰比、土体渗透系数、土体密实度条件下对浆液压滤效应及土体压密作用的影响。

2.如权利要求1所述的多功能室内土体注浆模拟试验装置的试验方法,其特征在于,所述的顶盖是一个带有凸起的顶盖,凸起部分刚好处于主腔室的顶部。

3.如权利要求1所述的多功能室内土体注浆模拟试验装置的试验方法,其特征在于,在试验槽的底板、顶盖以及前后端盖上分别设有相对应的卡槽,隔板通过卡槽设置在密封腔体中。

4.如权利要求1所述的多功能室内土体注浆模拟试验装置的试验方法,其特征在于,主腔室左右两边的第二至第四腔室等间距设置。