欢迎来到知嘟嘟! 联系电话:13336804447 卖家免费入驻,海量在线求购! 卖家免费入驻,海量在线求购!
知嘟嘟
我要发布
联系电话:13336804447
知嘟嘟经纪人
收藏
专利号: 2017109268495
申请人: 六安中达信息科技有限公司
专利类型:发明专利
专利状态:已下证
专利领域: 运动;游戏;娱乐活动
更新日期:2024-02-28
缴费截止日期: 暂无
价格&联系人
年费信息
委托购买

摘要:

权利要求书:

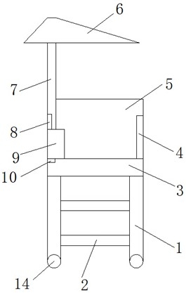
1.一种体育竞赛用发令装置,包括底座(3),其特征在于,所述底座(3)的顶部一侧通过紧固螺栓连接有扶手(4),所述底座(3)的顶部另一侧通过紧固螺栓连接有中空的安装座(9),所述底座(3)顶部的一端通过紧固螺栓连接有靠背(5),所述安装座(9)顶部外壁的一端通过紧固螺栓连接有立柱(7),所述立柱(7)远离安装座(9)的一端通过紧固螺栓连接有遮阳伞(6),所述安装座(9)顶部外壁的一侧通过紧固螺栓连接有LED显示屏(8),所述底座(3)一端顶部的一侧通过紧固螺栓连接有卡栓(10),所述底座(3)的底部四角均开设有垂直方向的螺纹孔,且四个螺纹孔内均螺纹连接有支撑腿(1),四个所述支撑腿(1)远离底座(3)的一端均螺纹连接有万向轮(14),且相邻两个支撑腿相对的一侧均通过紧固螺栓连接有两个横撑(2),所述安装座(9)底部内壁的一侧通过紧固螺栓连接有控制器(12),所述安装座(9)一侧内壁的顶部开设有穿孔,且穿孔的内部通过紧固螺栓连接有扬声器(11),所述安装座(9)另一侧外壁的顶部开设有通孔,且通孔的内部通过紧固螺栓连接有开关(13)。

2.根据权利要求1所述的一种体育竞赛用发令装置,其特征在于,所述靠背(5)靠近扶手(4)的一侧粘接有第一海绵垫,且扶手(4)的顶部粘接有第二海绵垫。

3.根据权利要求1所述的一种体育竞赛用发令装置,其特征在于,所述LED显示屏(8)的顶部包覆有保护罩,且保护罩的底部通过紧固螺栓和安装座(9)连接。

4.根据权利要求1所述的一种体育竞赛用发令装置,其特征在于,所述遮阳伞(6)的顶部涂覆有防水涂料,且遮阳伞(6)的底部涂覆有黑胶涂层。

5.根据权利要求1所述的一种体育竞赛用发令装置,其特征在于,所述安装座(9)一侧外壁的顶部通过紧固螺栓连接有防尘板,且防尘板的外径大于穿孔的内径。

6.根据权利要求1所述的一种体育竞赛用发令装置,其特征在于,所述支撑腿(1)和横撑(2)均为不锈钢材质,且横撑(2)的顶部粘接有防滑垫。

7.根据权利要求1所述的一种体育竞赛用发令装置,其特征在于,所述底座(3)、扶手(4)和靠背(5)均为松木材质,且安装座(9)为塑料材质。

8.根据权利要求1所述的一种体育竞赛用发令装置,其特征在于,所述LED显示屏(8)、扬声器(11)均通过导线和开关(13)连接,且开关(13)通过导线和控制器(12)连接。