欢迎来到知嘟嘟! 联系电话:13095918853 卖家免费入驻,海量在线求购! 卖家免费入驻,海量在线求购!
知嘟嘟
我要发布
联系电话:13095918853
知嘟嘟经纪人
收藏
专利号: 2017108162949
申请人: 福州思琪科技有限公司
专利类型:发明专利
专利状态:已下证
专利领域: 测量;测试
更新日期:2024-02-28
缴费截止日期: 暂无
价格&联系人
年费信息
委托购买

摘要:

权利要求书:

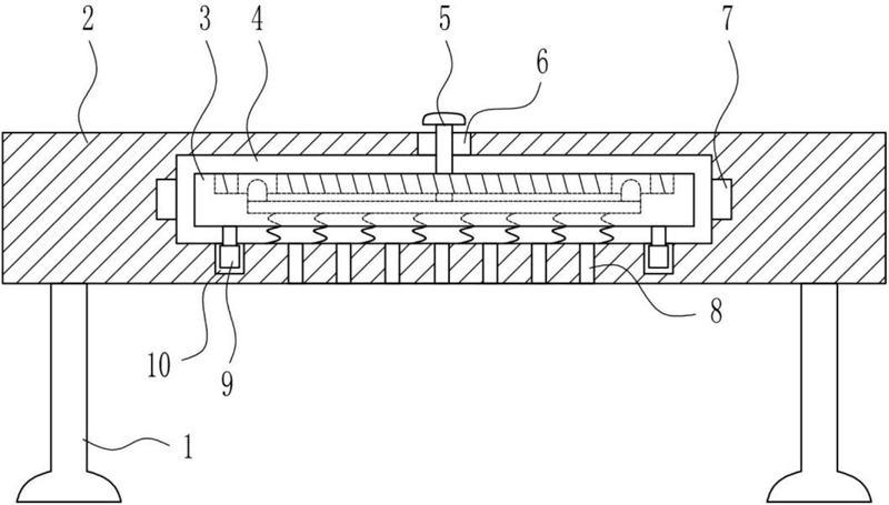
1.一种存储卡集成电路测试用测试台,其特征在于,包括有支撑柱(1)、工作板(2)、放置装置(3)、固定装置(5)、感应器(7)和滚动轮(9),工作板(2)顶部设置有通孔(6),工作板(2)中部设置有第一凹槽(4),第一凹槽(4)内设置有放置装置(3),放置装置(3)底部左右对称式设置有滚动轮(9),放置装置(3)后侧连接有固定装置(5),固定装置(5)穿过通孔(6),工作板(2)底部均匀设置有透气孔(8),透气孔(8)位于第一凹槽(4)下方,透气孔(8)与第一凹槽(4)连通,工作板(2)底部左右对称式设置有第二凹槽(10),第二凹槽(10)位于第一凹槽(4)下方,第二凹槽(10)位于透气孔(8)两侧,左侧的滚动轮(9)位于左侧的第二凹槽(10)内,右侧的滚动轮(9)位于右侧的第二凹槽(10)内,工作板(2)内左右两侧对称式设置有感应器(7),感应器(7)位于第一凹槽(4)两侧,左侧的工作板(2)底壁左右两侧和前后两侧均对称式设置有支撑柱(1)。

2.根据权利要求1所述的一种存储卡集成电路测试用测试台,其特征在于,放置装置(3)包括有连接板(31)、凸起(32)和放置框(33),第一凹槽(4)内设置有放置框(33),放置框(33)前后两侧均连接有连接板(31),前侧的连接板(31)的前侧设置有凸起(32),凸起(32)位于第一凹槽(4)前侧。

3.根据权利要求2所述的一种存储卡集成电路测试用测试台,其特征在于,固定装置(5)包括有U形板(52)、压块(53)、升降杆(54)、卡块(55)、第一弹簧(56)和横杆(57),后侧的连接板(31)后侧连接有U形板(52),U形板(52)左右对称式设置有导向孔(51),第一凹槽(4)内后侧均匀设置有第一弹簧(56),第一弹簧(56)顶端设置有横杆(57),横杆(57)顶部中间设置有升降杆(54),升降杆(54)穿过通孔(6),升降杆(54)顶端设置有压块(53),压块(53)位于工作板(2)外方,横杆(57)顶部左右两侧对称式设置有卡块(55),卡块(55)位于导向孔(51)内。

4.根据权利要求3所述的一种存储卡集成电路测试用测试台,其特征在于,测试台还包括有散热装置(11),散热装置(11)包括有固定槽(111)、电机(112)、滑块(113)、风扇片(114)、连杆(115)、凸轮(116)、固定框(117)和滑轨(118),工作板(2)底部设置有固定槽(111),固定槽(111)位于透气孔(8)正下方,固定槽(111)内底部中间设置有电机(112),电机(112)顶部连接有凸轮(116),凸轮(116)顶部连接有连杆(115),连杆(115)顶部左右两侧对称式设置有风扇片(114),固定槽(111)内底部左右对称式设置有滑轨(118),滑轨(118)上设置有滑块(113),滑块(113)顶部之间连接有固定框(117),凸轮(116)位于固定框(117)内,凸轮(116)与固定框(117)配合。

5.根据权利要求4所述的一种存储卡集成电路测试用测试台,其特征在于,测试台还包括有第二弹簧(14)、扇板(15)、摆杆(16)和条板(17),固定槽(111)左右两壁均均匀设置有通风孔(12),固定槽(111)左右两壁均均匀铰接连接有扇板(15),扇板(15)位于通风孔(12)内,左侧的扇板(15)右侧和右侧的扇板(15)左侧均连接有摆杆(16),扇板(15)底部与固定槽(111)内底部之间均连接有第二弹簧(14),固定框(117)左右两侧均连接有条板(17),条板(17)上均均匀设置有第三凹槽(13),左侧的摆杆(16)位于左侧的第三凹槽(13)内,右侧的摆杆(16)位于右侧的第三凹槽(13)内。

6.根据权利要求5所述的一种存储卡集成电路测试用测试台,其特征在于,测试台还包括有第三弹簧(18)、移动块(19)、插杆(20)和移动槽(21),第一凹槽(4)内后侧对称式设置有移动槽(21),移动槽(21)位于升降杆(54)两侧,移动槽(21)内后侧设置有第三弹簧(18),第三弹簧(18)前侧连接有移动块(19),U形板(52)后侧对称式设置有插杆(20),插杆(20)位于U形板(52)左右对称式设置的导向孔(51)之间,插杆(20)位于移动槽(21)前侧,插杆(20)与移动槽(21)配合。

7.根据权利要求6所述的一种存储卡集成电路测试用测试台,其特征在于,测试台还包括有转轴(22)、轴承座(23)、连接杆(24)和压板(25),连接板(31)中部均设置有轴承座(23),轴承座(23)上设置有转轴(22),转轴(22)顶端设置有连接杆(24),连接杆(24)末端设置有压板(25)。