欢迎来到知嘟嘟! 联系电话:13336804447 卖家免费入驻,海量在线求购! 卖家免费入驻,海量在线求购!
知嘟嘟
我要发布
联系电话:13336804447
知嘟嘟经纪人
收藏
专利号: 2017106211940
申请人: 湖南文理学院
专利类型:发明专利
专利状态:已下证
专利领域: 计算;推算;计数
更新日期:2024-01-05
缴费截止日期: 暂无
价格&联系人
年费信息
委托购买

摘要:

权利要求书:

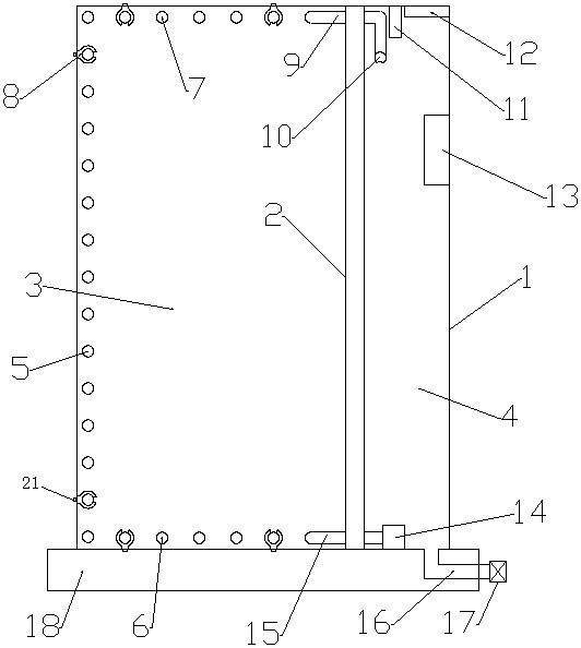
1.一种计算机循环冷却降温系统,包括安装在防水底座(18)上的计算机壳体(1),其特征在于:所述的计算机壳体(1)的内部设置有防水隔离挡板(2),防水隔离挡板(2)一侧设置有硬件安装仓(3),防水隔离挡板(2)另一侧设置有循环水存储仓(4),在硬件安装仓(3)内设置有内部降温装置,在循环水存储仓(4)内设置有与内部降温装置相连接的喷淋抽风降温装置。

2.根据权利要求1所述的计算机循环冷却降温系统,其特征在于:所述的内部降温装置包括安装在硬件安装仓(3)内部的计算机壳体(1)侧面内壁上的侧面降温盘管(5),侧面降温盘管(5)的顶部与安装在计算机壳体(1)顶面内壁上的顶部降温盘管(7)相连通,侧面降温盘管(5)的底部与安装在防水底座(18)顶面上的底部降温盘管(6)相连通,底部降温盘管(6)和顶部降温盘管(7)均与喷淋抽风降温装置相连接。

3.根据权利要求1所述的计算机循环冷却降温系统,其特征在于:所述的防水隔离挡板(2)的顶部与计算机壳体(1)的顶面内壁固定连接,防水隔离挡板(2)的底部与防水底座(18)的顶面固定连接。

4.根据权利要求2所述的计算机循环冷却降温系统,其特征在于:所述的喷淋抽风降温装置包括安装在循环水存储仓(4)顶部的喷淋管(10),在循环水存储仓(4)的底部设置有抽水泵(14),在抽水泵(14)和喷淋管(10)之间的计算机壳体(1)侧面内壁上安装有送风风机(13),送风风机(13)上部的计算机壳体(1)顶面上安装有出风器(12),出风器(12)的一侧安装有进水口(11),在循环水存储仓(4)底部对应的防水底座(18)上安装有排污管(16),排污管(16)的外端安装有阀门(17)。

5.根据权利要求2所述的计算机循环冷却降温系统,其特征在于:所述的所述的侧面降温盘管(5)、顶部降温盘管(7)和底部降温盘管(6)上均设置有固定支架(8),侧面降温盘管(5)和顶部降温盘管(7)通过固定支架(8)与计算机壳体(1)内壁相连接,底部降温盘管(6)通过固定支架(8)与防水底座(18)相连接。

6.根据权利要求4所述的计算机循环冷却降温系统,其特征在于:所述的喷淋管(10)通过第一连接管(9)与顶部降温盘管(7)的输出端相连通,所述的抽水泵(14)通过第二连接管(15)与底部降温盘管(6)的输入端相连接,在喷淋管(10)的底部设置有喷淋出水口(19)。

7.根据权利要求4所述的计算机循环冷却降温系统,其特征在于:所述的出风器(12)为长方形结构,在出风器(12)上开设有出风口(20),出风器(12)的长度不低于喷淋管(10)的长度,送风风机(13)设置在出风器(12)下部的计算机壳体(1)侧面内壁居中位置。

8.根据权利要求5所述的计算机循环冷却降温系统,其特征在于:所述的固定支架(8)的外端安装有固定螺栓(21),在计算机壳体(1)和防水底座(18)上均安装有与固定螺栓(21)相配合的固定螺栓安装孔。

9.根据权利要求6所述的计算机循环冷却降温系统,其特征在于:所述的第一连接管(9)和第二连接管(15)的中部均固定安装在防水隔离挡板(2)内侧,在第二连接管(15)与防水隔离挡板(2)的连接位置套装有防水垫圈。

10.根据权利要求1所述的计算机循环冷却降温系统,其特征在于:所述的硬件安装仓(3)的宽度不小于循环水存储仓(4)的宽度,硬件安装仓(3)的长度和高度与循环水存储仓(4)的长度和高度均相等,计算机壳体(1)的长度和宽度均不大于防水底座(18)的长度和宽度。