欢迎来到知嘟嘟! 联系电话:13336804447 卖家免费入驻,海量在线求购! 卖家免费入驻,海量在线求购!
知嘟嘟
我要发布
联系电话:13336804447
知嘟嘟经纪人
收藏
专利号: 2017101857472
申请人: 江杰明
专利类型:发明专利
专利状态:授权未缴费
专利领域: 计算;推算;计数
更新日期:2023-11-27
缴费截止日期: 暂无
价格&联系人
年费信息
委托购买

摘要:

权利要求书:

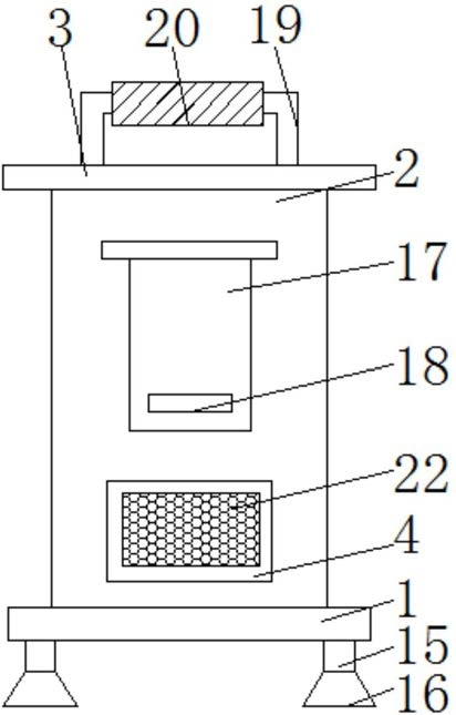
1.一种快速降温的计算机主机冷却装置,包括底座(1),其特征在于:所述底座(1)的顶部固定安装有箱体(2),所述箱体(2)的顶部固定安装有挡板(3),所述箱体(2)的正表面开设有通孔(4),所述通孔(4)的内部镶嵌有过滤网(22);

所述箱体(2)的内部固定安装有滤网(5),所述滤网(5)的底部固定安装有套管(6),所述套管(6)的内部套设有与套管(6)相适配的活塞(7),所述活塞(7)底部的两侧均固定安装有两个弹簧(8),所述弹簧(8)远离活塞(7)的一端与箱体(2)内腔的底部固定连接,所述活塞(7)的顶部固定安装有插杆(9),所述插杆(9)远离活塞(7)的一端贯穿滤网(5)并延伸至滤网(5)的上方,所述插杆(9)的顶部固定安装有滑板(10),所述滑板(10)的顶部固定安装有推杆(11),所述箱体(2)内腔的顶部固定安装有电机(12),所述电机(12)的输出轴固定安装有转盘(13),所述转盘(13)的外圈通过转轴活动连接有连杆(14),所述连杆(14)远离转盘(13)的一端通过转轴与推杆(11)的顶部活动连接,所述电机(12)与外设的控制器电性连接;

所述底座(1)的底部固定安装有支撑腿(15),所述支撑腿(15)的底部固定安装有吸盘(16);

所述支撑腿(15)的数量为四个,且四个支撑腿(15)分布于底座(1)底部的四角;

所述箱体(2)的正表面且位于通孔(4)的上方通过合页活动连接有箱门(17),所述箱门(17)的正表面固定安装有把手(18)。

2.根据权利要求1所述的一种快速降温的计算机主机冷却装置,其特征在于:所述挡板(3)的顶部固定安装有提手(19),所述提手(19)的表面套设有胶皮套(20)。

3.根据权利要求1所述的一种快速降温的计算机主机冷却装置,其特征在于:所述滑板(10)的两侧均固定安装有滑块(21),所述滑块(21)远离滑板(10)的一侧与箱体(2)的内壁接触。