欢迎来到知嘟嘟! 联系电话:13336804447 卖家免费入驻,海量在线求购! 卖家免费入驻,海量在线求购!
知嘟嘟
我要发布
联系电话:13336804447
知嘟嘟经纪人
收藏
专利号: 2017101082892
申请人: 湖北工业大学
专利类型:发明专利
专利状态:已下证
专利领域: 手动工具;轻便机动工具;手动器械的手柄;车间设备;机械手
更新日期:2024-01-05
缴费截止日期: 暂无
价格&联系人
年费信息
委托购买

摘要:

权利要求书:

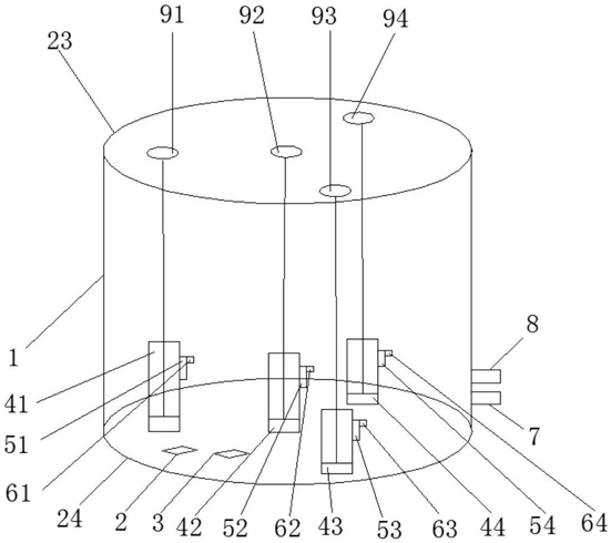
1.一种恒力输出执行器,其特征在于:包括圆筒状的柱体和至少四个自动调整气缸,所述柱体包括顶盖、底盖和柱身,所述底盖与柱身固定相连,所述顶盖为活动盖;所述每一个自动调整气缸的缸体均与底盖固定相连,每一个自动调整气缸顶部可自由伸缩的推杆均与顶盖活接固定相连,其中一个自动调整气缸设于底盖中心处,其他自动调整气缸以底盖中心处为中心对称分布;所述自动调整气缸包括供气管道、第一电磁阀、第二电磁阀、第一气缸、第二气缸、以及第三气缸,所述第一气缸设于第二气缸上方,第一气缸内设有两个活塞,其中上部活塞设有能够伸出第一气缸顶部的推杆,下部活塞与第二气缸内的活塞通过刚性连杆固定相连,第三气缸的顶部与第一气缸下部侧面通过连通管道相连,第一气缸的两个活塞之间部分以及第三气缸的活塞以上部分均充满液压油,第一气缸顶部和第三气缸底部分别设有气口一和气口四,第二气缸顶部和底部分别设有气口二和气口三,所述气口一和气口四通过第一电磁阀与供气管道相连,第一电磁阀控制气口一和气口四分别连上供气管道或者排大气,所述气口二和气口三通过第二电磁阀与供气管道相连或者排大气,第二电磁阀控制气口二和气口三分别连上供气管道或者排大气。

2.如权利要求1所述一种恒力输出执行器,其特征在于:所述底盖上设有控制器和重力传感器,所述重力传感器测得的底盖倾斜角度数据接入控制器,所述控制器控制每一个自动调整气缸的第一电磁阀和第二电磁阀的开度大小和阀位,补偿顶盖自身重力对各个自动调整气缸输出压力的影响。

3.如权利要求1所述一种恒力输出执行器,其特征在于:所述第一气缸侧面设有用于检测液压油压强的压力传感器。

4.如权利要求2所述一种恒力输出执行器,其特征在于:所述供气管道上设有对压缩空气进行过滤和减压的空气过滤装置。