欢迎来到知嘟嘟! 联系电话:13336804447 卖家免费入驻,海量在线求购! 卖家免费入驻,海量在线求购!
知嘟嘟
我要发布
联系电话:13336804447
知嘟嘟经纪人
收藏
专利号: 2017100516235
申请人: 绍兴职业技术学院
专利类型:发明专利
专利状态:已下证
专利领域: 一般车辆
更新日期:2023-08-24
缴费截止日期: 暂无
价格&联系人
年费信息
委托购买

摘要:

权利要求书:

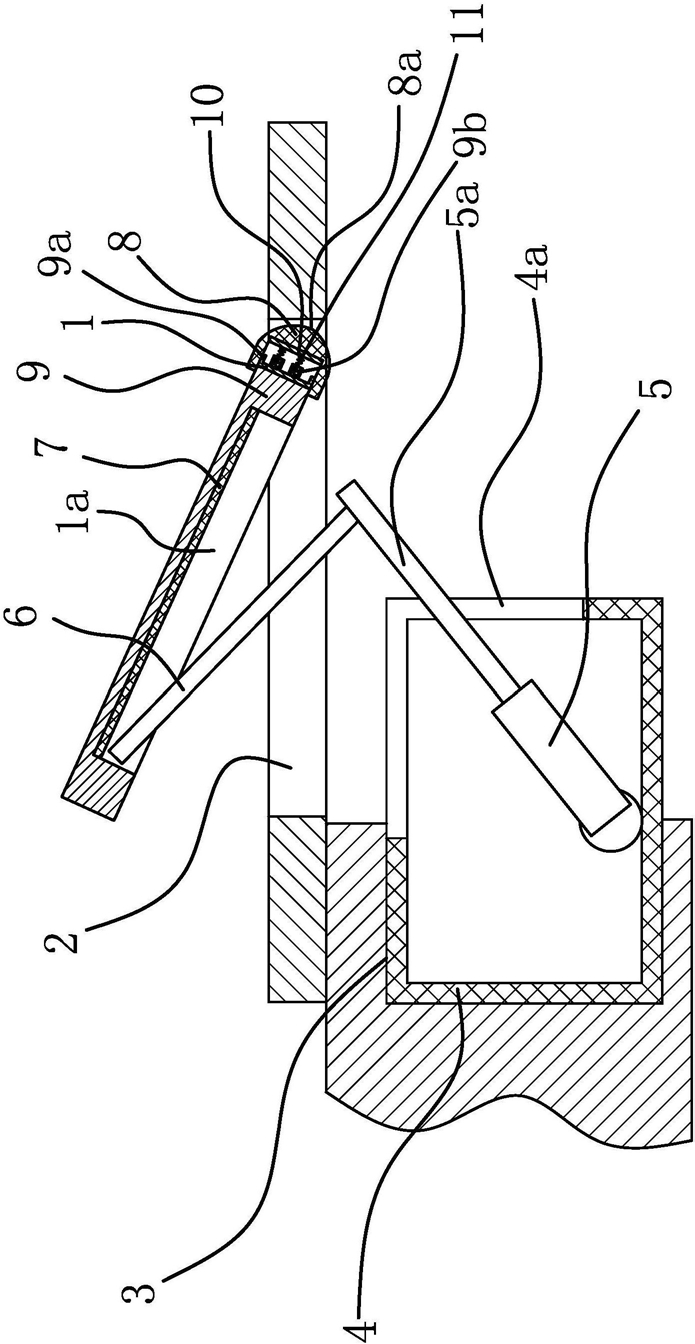
1.一种汽车天窗与车体的连接机构,汽车顶部具有贯穿的窗口,天窗包括呈板状的本体,其特征在于,所述本体内端铰接在窗口边沿处,本体外端能绕其铰接处摆动并使窗口打开,本机构位于本体内端与窗口边沿之间,包括柔性的连接套,上述连接套一端开口且连接套的开口端套在本体内端,所述本体与连接套之间具有能使本体相对于连接套微量移动的缓冲结构。

2.根据权利要求1所述的汽车天窗与车体的连接机构,其特征在于,所述的连接套为橡胶材料且连接套与上述本体紧配合连接。

3.根据权利要求2所述的汽车天窗与车体的连接机构,其特征在于,连接套的端部具有平滑过渡的接触部且接触部抵靠在上述窗口边沿处。

4.根据权利要求2所述的汽车天窗与车体的连接机构,其特征在于,所述的缓冲结构包括上定位板、下定位板和弹簧,所述下定位板位于连接套的底部处,上述上定位板靠近于连接套端口处且上定位板抵靠在本体内端,上述弹簧的两端分别顶压在上定位板和下定位板上。

5.根据权利要求4所述的汽车天窗与车体的连接机构,其特征在于,所述上定位板边沿处具有凸出的导向沿,上述导向沿与连接套内侧面接触。

6.根据权利要求4所述的汽车天窗与车体的连接机构,其特征在于,所述上定位板上固连有呈圆筒状的弹簧座,上述弹簧的一端嵌于弹簧座处。

7.根据权利要求4所述的汽车天窗与车体的连接机构,其特征在于,所述上定位板和下定位板上均具有呈圆筒状的弹簧座,上述弹簧的两端分别嵌在对应的弹簧座处。

8.根据权利要求4所述的汽车天窗与车体的连接机构,其特征在于,所述弹簧的数量至少为两根。

9.根据权利要求4所述的汽车天窗与车体的连接机构,其特征在于,上述上定位板和下定位板之间形成置放腔,上述的弹簧位于置放腔处且在安装腔内还填充有海绵。

10.根据权利要求2所述的汽车天窗与车体的连接机构,其特征在于,所述的连接套为一体式结构。

我要求购
我不想找了,帮我找吧
您有专利需要变现?
我要出售
智能匹配需求,快速出售