欢迎来到知嘟嘟! 联系电话:13336804447 卖家免费入驻,海量在线求购! 卖家免费入驻,海量在线求购!
知嘟嘟
我要发布
联系电话:13336804447
知嘟嘟经纪人
收藏
专利号: 2017100478835
申请人: 绍兴职业技术学院
专利类型:发明专利
专利状态:已下证
专利领域: 一般车辆
更新日期:2023-08-24
缴费截止日期: 暂无
价格&联系人
年费信息
委托购买

摘要:

权利要求书:

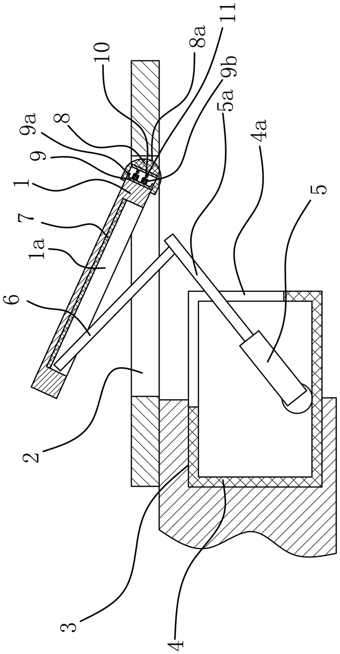
1.一种汽车天窗,车辆顶部具有贯穿的窗口,天窗设置在窗口处,其特征在于,本天窗包括呈板状的本体,所述本体的内端铰接在窗口边沿处,所述本体绕铰接处摆动后能使上述的窗口打开或者关闭,还包括一驱动件和连杆组件,所述车辆顶部处具有内部为空腔的壳体,上述的驱动件位于壳体内且连杆组件的两端分别与驱动件和本体侧部相联;所述本体内端与窗口边沿之间设置有连接机构,所述连接机构包括柔性的连接套,所述连接套一端开口且连接套的开口端套在本体内端,所述本体与连接套之间具有能使本体相对于连接套移动的缓冲结构。

2.根据权利要求1所述的汽车天窗,其特征在于,所述的车辆顶部具有凹入的安装腔,上述的壳体位于安装腔内。

3.根据权利要求2所述的汽车天窗,其特征在于,所述的驱动件为油缸。

4.根据权利要求2所述的汽车天窗,其特征在于,所述的驱动件为气缸。

5.根据权利要求3所述的汽车天窗,其特征在于,所述的连杆组件包括连杆一,所述连杆一的一端与本体侧部相联,所述连杆一的另一端与上述油缸的活塞杆相铰接,上述油缸的缸体铰接在壳体内。

6.根据权利要求5所述的汽车天窗,其特征在于,所述壳体侧部具有条形的避让孔,上述活塞杆中部位于避让孔处。

7.根据权利要求5所述的汽车天窗,其特征在于,所述本体内侧具有呈条形凹入的连接槽,当本体将窗口关闭时上述连杆一嵌于连接槽处。

8.根据权利要求7所述的汽车天窗,其特征在于,所述的连接槽内具有柔性的接触层,上述连杆一能抵靠在接触层上。

9.根据权利要求8所述的汽车天窗,其特征在于,所述的接触层为紧配合连接在连接槽处的橡胶片。

10.根据权利要求8所述的汽车天窗,其特征在于,所述的接触层内侧与连接槽面接触,所述接触层外侧具有若干凸出的凸条。

我要求购
我不想找了,帮我找吧
您有专利需要变现?
我要出售
智能匹配需求,快速出售