欢迎来到知嘟嘟! 联系电话:13336804447 卖家免费入驻,海量在线求购! 卖家免费入驻,海量在线求购!
知嘟嘟
我要发布
联系电话:13336804447
知嘟嘟经纪人
收藏
专利号: 2016112461879
申请人: 大连交通大学
专利类型:发明专利
专利状态:已下证
专利领域: 发电、变电或配电
更新日期:2024-01-05
缴费截止日期: 暂无
价格&联系人
年费信息
委托购买

摘要:

权利要求书:

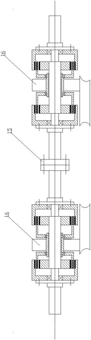
1.多转差级联式永磁调速装置,其特征在于:包括多个双级调速模块(16),多个双级调速模块(16)串联联接,相邻的两个双级调速模块(16)之间通过联轴器(15)联接;

所述的双级调速模块(16)包括左右两个对称级联的单级调速模块,其结构关于左右垂直中心线对称;

所述的单级调速模块包括主动转子总成、调速转子总成和从动转子总成;

所述的主动转子总成由端轴(6)、外套筒(7)、良导体B(8)和轴承B(14);所述的端轴(6)为阶梯轴,其最大直径端通过螺栓或键与外套筒(7)刚性相联;所述的外套筒(7)为筒型结构,其内孔为阶梯孔结构,孔径较小处安装有轴承B(14),孔径较大处安装有良导体B(8);良导体B(8)为环型结构,其外圆表面以过盈配合方式与外套筒(7)的内孔刚性相联;所述的轴承B(14)为滚动球轴承,其外圆表面以过盈或过渡配合方式安装在外套筒(7)的较小内孔处,轴承B(14)的内孔以过盈或过渡配合方式安装在从动转子总成中的联轴(11)一端的较小外圆处;

所述的调速转子总成包括永磁体A(3)、永磁体B(4)、轴承A(5)、内套筒(9)、滑套(10)和轴向气隙磁通调节机构;所述的永磁体A(3)和永磁体B(4)分别安装在内套筒(9)的外圆和内孔处;所述的轴承A(5)为滚动球轴承,其外圆以过盈或过渡配合方式安装在内套筒(9)的较小内孔处,轴承A(5)的内孔以过盈或过渡配合方式安装在滑套(10)一端的较小外圆处;

所述的内套筒(9)为筒型结构,其内孔为阶梯孔结构,孔径较小处安装轴承A(5),孔径较大处安装永磁体A(3),外圆处安装永磁体B(4);所述的滑套(10)为阶梯轴,其中间段外径较大、两端的外径较小,轴承A(5)的内孔与滑套(10)的一端以过盈或过渡形式相配合,滑套(10)的外圆最大直径处与轴向气隙磁通调节机构中的联结板(13)的内孔以过盈或键的形式刚性联结;所述的滑套(10)的内孔与联轴(11)间隙配合;所述的轴向气隙磁通调节机构由联结板(13)及直线运动平台(12)组成,所述的联结板(13)上有内孔及底座,其内孔与滑套(10)的最大外圆以过盈配合或键的方式刚性联结,其底座安装在直线运动平台(12)上;

所述的直线运动平台(12)带动联结板(13)进而带动滑套(10)沿联轴(11)的轴线方向进行直线往复运动;

所述的从动转子总成包括内转子(1)、良导体A(2)和联轴(11);所述的内转子(1)为环形结构,其外圆表面安装良导体A(2),内转子(1)的内孔与联轴(11)以过盈或键的形式刚性联结;所述的良导体A(2)为环形结构,安装在内转子(1)的外圆表面;所述的联轴(11)为阶梯轴,其两端的外径较小,轴承B(14)与联轴(11)的一端过盈或过渡配合;

所述的良导体B(8)与永磁体B(4)之间有一层均匀气隙;所述的永磁体A(3)与良导体A(2)之间有一层均匀气隙;所述的永磁体A(3)、良导体A(2)、良导体B(8)和永磁体B(4)的轴向长度相等;

所述的联轴(11)、滑套(10)和联结板(13)为左右对称结构,用于连接左右两个对称的单级调速模块;左边的端轴(6)作为输入轴、右边的端轴(6)作为输出轴。

2.多转差级联式永磁调速装置,其特征在于:包括多个双级调速模块(16),多个双级调速模块(16)串联联接,相邻的两个双级调速模块(16)之间通过联轴器(15)联接;

所述的双级调速模块(16)包括左右两个对称级联的单级调速模块,其结构关于左右垂直中心线对称;

所述的单级调速模块包括主动转子总成、调速转子总成和从动转子总成组成;

所述的主动转子总成由端轴(6)、外套筒(7)、永磁体B(4)和轴承B(14);所述的端轴(6)为阶梯轴,其最大直径端通过螺栓或键与外套筒(7)刚性相联;所述的外套筒(7)为筒型结构,其内孔为阶梯孔结构,孔径较小处安装有轴承B(14),孔径较大处安装有永磁体B(4);永磁体B(4)为环型结构,其外圆表面以过盈配合方式与外套筒(7)的内孔刚性相联;所述的轴承B(14)为滚动球轴承,其外圆表面以过盈或过渡配合方式安装在外套筒(7)的较小内孔处,轴承B(14)的内孔以过盈或过渡配合方式安装在从动转子总成中的联轴(11)一端的较小外圆处;

所述的调速转子总成包括良导体A(2)、良导体B(8)、轴承A(5)、内套筒(9)、滑套(10)和轴向气隙磁通调节机构;所述的良导体A(2)和良导体B(8)分别安装在内套筒(9)的外圆和内孔处;所述的轴承A(5)为滚动球轴承,其外圆以过盈或过渡配合方式安装在内套筒(9)的较小内孔处,轴承A(5)的内孔以过盈或过渡配合方式安装在滑套(10)一端的较小外圆处;

所述的内套筒(9)为筒型结构,其内孔为阶梯孔结构,孔径较小处安装轴承A(5),孔径较大处安装良导体A(2),外圆处安装良导体B(8);所述的滑套(10)为阶梯轴,其中间段外径较大、两端的外径较小,轴承A(5)的内孔与滑套(10)的一端以过盈或过渡形式相配合,滑套(10)的外圆最大直径处与直线运动装置中的联结板(13)的内孔以过盈或键的形式刚性联结;所述的滑套(10)的内孔与联轴(11)间隙配合;所述的轴向气隙磁通调节机构由联结板(13)及直线运动平台(12)组成,所述的联结板(13)上有内孔及底座,其内孔与滑套(10)的最大外圆以过盈配合或键的方式刚性联结,其底座安装在直线运动平台(12)上;所述的直线运动平台(12)带动联结板(13)进而带动滑套(10)沿联轴(11)的轴线方向进行直线往复运动;

所述的从动转子总成包括内转子(1)、永磁体A(3)和联轴(11);所述的内转子(1)为环形结构,其外圆表面安装永磁体A(3),内转子(1)的内孔与联轴(11)以过盈或键的形式刚性联结;所述的永磁体A(3)为环形结构,安装在内转子(1)的外圆表面;所述的联轴(11)为阶梯轴,其两端的外径较小,轴承B(14)与联轴(11)的一端过盈或过渡配合;

所述的永磁体B(4)与良导体B(8)之间有一层均匀气隙;所述的良导体A(2)与永磁体A(3)之间有一层均匀气隙;所述的良导体A(2)、永磁体A(3)、永磁体B(4)和良导体B(8)的轴向长度相等;

所述的联轴(11)、滑套(10)和联结板(13)为左右对称结构,用于连接左右两个对称的单级调速模块;左边的端轴(6)作为输入轴、右边的端轴(6)作为输出轴。

3.根据权利要求1或2所述的多转差级联式永磁调速装置,其特征在于:包括一个双级调速模块(16),左边的端轴(6)作为输入轴、右边的端轴(6)作为输出轴。

4.根据权利要求1或2所述的多转差级联式永磁调速装置,其特征在于:包括一个单级调速模块,左边的端轴(6)作为输入轴、右边的联轴(11)作为输出轴。

5.根据权利要求1或2所述的多转差级联式永磁调速装置,其特征在于:所述的良导体A(2)和良导体B(8)的材料为铜或铝或铁磁体。

6.根据权利要求1或2所述的多转差级联式永磁调速装置,其特征在于:所述的永磁体A(3)和永磁体B(4)的材料均为稀土永磁。

7.根据权利要求1或2所述的多转差级联式永磁调速装置,其特征在于:所述的良导体B(8)与永磁体B(4)之间的径向气隙长度与所述的永磁体A(3)与良导体A(2)之间的径向气隙长度相同。