欢迎来到知嘟嘟! 联系电话:13336804447 卖家免费入驻,海量在线求购! 卖家免费入驻,海量在线求购!
知嘟嘟
我要发布
联系电话:13336804447
知嘟嘟经纪人
收藏
专利号: 2016112216805
申请人: 中北大学
专利类型:发明专利
专利状态:已下证
专利领域: 测量;测试
更新日期:2024-01-05
缴费截止日期: 暂无
价格&联系人
年费信息
委托购买

摘要:

权利要求书:

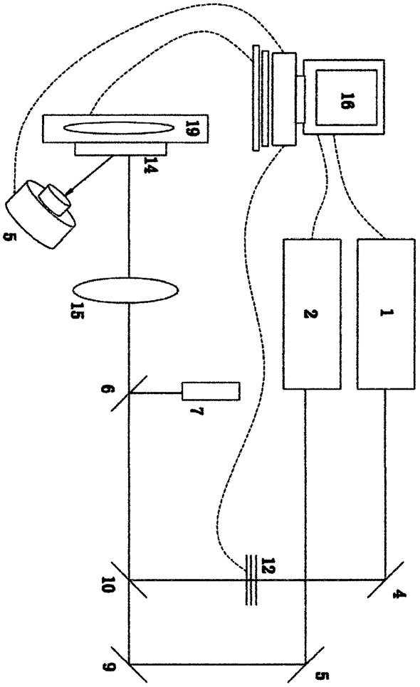
1.一种光学薄膜损伤过程中表面温度的实时测量方法,其特征在于:涉及的实时测量装置包含输出波长为λ1的第一激光器、用于准直光路协助监测损伤破坏的第二激光器以及用于探测光路的第三激光器的激光系统,一个位于由计算机控制的移动平台上的待测样品,用于判断损伤的CCD在线损伤判断装置以及测量热反射信号的两个Si雪崩光电二极管探测器和一个示波器;在所述的第一激光器输出的光路上依次设置45度转折镜一、激光能量衰减器、45度转折镜二、分光镜以及透镜,波长为λ1的第一激光辐照在处于移动平台上的待测样品,在所述的分光镜的反射光路上设置能量计,用于测量波长为λ1的第一激光器的能量;在所述的第三激光器输出光路上设置分束镜,把探测光束分成两束,一束设置45度转折镜三转折光路,在分束镜的反射光路上设置Si雪崩光电二极管探测器二测量反射的探测激光的能量以监控探测激光输出激光的稳定性;另一束通过反射镜反射在待测样品上,待测样品表面的瞬时热反射信号被Si雪崩光电二极管探测器一测量,并被示波器记录,示波器通过数据线与计算机串口相连,具体步骤如下:(1)、调整光路:合理的调节45度转折镜一、45度转折镜二,以及透镜的位置使得波长为λ1的激光辐照在待测样品上;

(2)、通过透镜的移动调节结构,调整透镜位置使波长为λ1的激光辐照在待测样品上有合适的光斑大小;

(3)、进行纳秒脉冲激光诱导光学薄膜损伤的测量:启动第一激光器、第二激光器、移动平台、能量计及CCD在线损伤判断装置,设置第一激光器的能量密度为固定值,通过所述的CCD在线损伤判断装置判断待测样品是否出现损伤,如果待测样品没有出现损伤,则增加第一激光器的能量密度,直至样品开始出现损伤;

(4)、进行损伤过程中表面温度的测量:CCD在线损伤判断装置,启动第三激光器,调整探测光路,使波长为λ3的探测激光与波长为λ1的主激光有一定的角度辐照在待测样品上,同时调节两个Si雪崩光电二极管探测器和示波器,记录待测样品表面的热反射信号,示波器实时记录Si雪崩光电二极管探测器一探测的在主激光不同激光能量密度下样品表面的热反射信号,并把数据传输给计算机,Si雪崩光电二极管探测器二来实时监控探测光束的稳定性;设某一时刻Si雪崩光电二极管探测器一获得的信号强度为S,探测光束对应的功率为P,则根据公式: 即可确定样品表面在主激光辐照下损伤破坏过程中的温度变化。