欢迎来到知嘟嘟! 联系电话:13336804447 卖家免费入驻,海量在线求购! 卖家免费入驻,海量在线求购!
知嘟嘟
我要发布
联系电话:13336804447
知嘟嘟经纪人
收藏
专利号: 2016112216792
申请人: 中北大学
专利类型:发明专利
专利状态:已下证
专利领域: 测量;测试
更新日期:2024-01-05
缴费截止日期: 暂无
价格&联系人
年费信息
委托购买

摘要:

权利要求书:

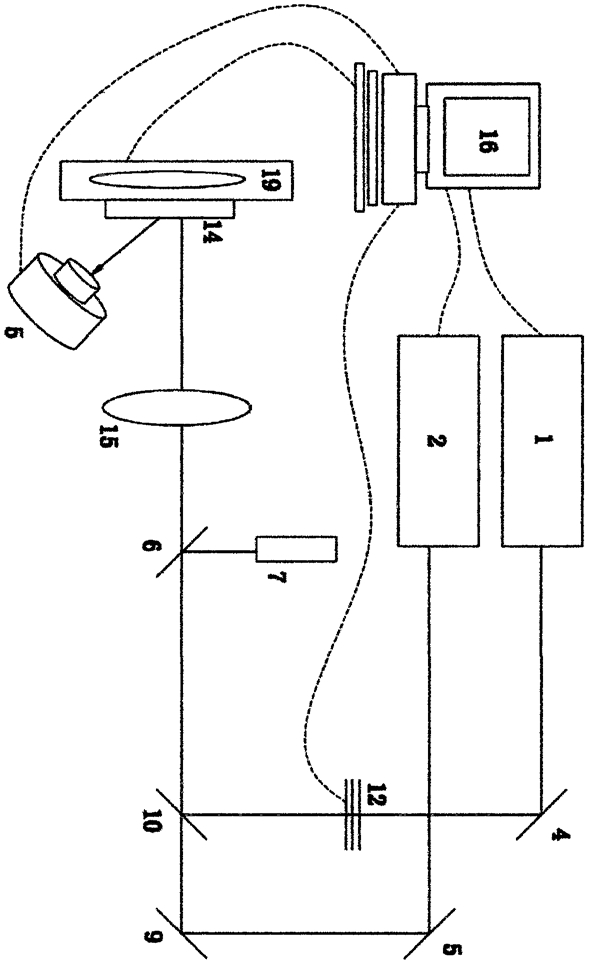
1.一种光学薄膜损伤过程中表面温度的实时测量装置,其特征在于,它的测量装置包含输出波长为λ1的第一激光器、用于准直光路协助监测损伤破坏的第二激光器以及用于探测光路的第三激光器的激光系统,一个位于由计算机控制的移动平台上的待测样品,用于判断损伤的CCD在线损伤判断装置以及测量热反射信号的两个Si雪崩光电二极管探测器和一个示波器;

在所述的第一激光器输出的光路上依次设置45度转折镜一、激光能量衰减器、45度转折镜二、分光镜以及透镜,波长为λ1的第一激光辐照在处于移动平台上的待测样品,在所述的分光镜的反射光路上设置能量计,用于测量波长为λ1的第一激光器的能量;

在所述的第三激光器输出光路上设置分束镜,把探测光束分成两束,一束设置45度转折镜三转折光路,在分束镜的反射光路上设置Si雪崩光电二极管探测器二测量反射的探测激光的能量以监控探测激光输出激光的稳定性;另一束通过反射镜反射在待测样品上,待测样品表面的瞬时热反射信号被Si雪崩光电二极管探测器一测量,并被示波器记录,示波器通过数据线与计算机串口相连;

所述的CCD在线损伤判断装置在测量过程中必须对准损伤测量点,并依赖第二激光器的He-Ne激光在待测样品表面的散射来判断损伤的发生。

2.根据权利要求1所述的一种光学薄膜损伤过程中表面温度的实时测量装置,其特征在于,所述的激光能量衰减器由可旋转的半波片和一个偏振片组成,通过通信线与计算机相连。