欢迎来到知嘟嘟! 联系电话:13336804447 卖家免费入驻,海量在线求购! 卖家免费入驻,海量在线求购!
知嘟嘟
我要发布
联系电话:13336804447
知嘟嘟经纪人
收藏
专利号: 2016110802262
申请人: 华侨大学
专利类型:发明专利
专利状态:已下证
专利领域: 电解或电泳工艺;其所用设备〔4〕
更新日期:2024-01-05
缴费截止日期: 暂无
价格&联系人
年费信息
委托购买

摘要:

权利要求书:

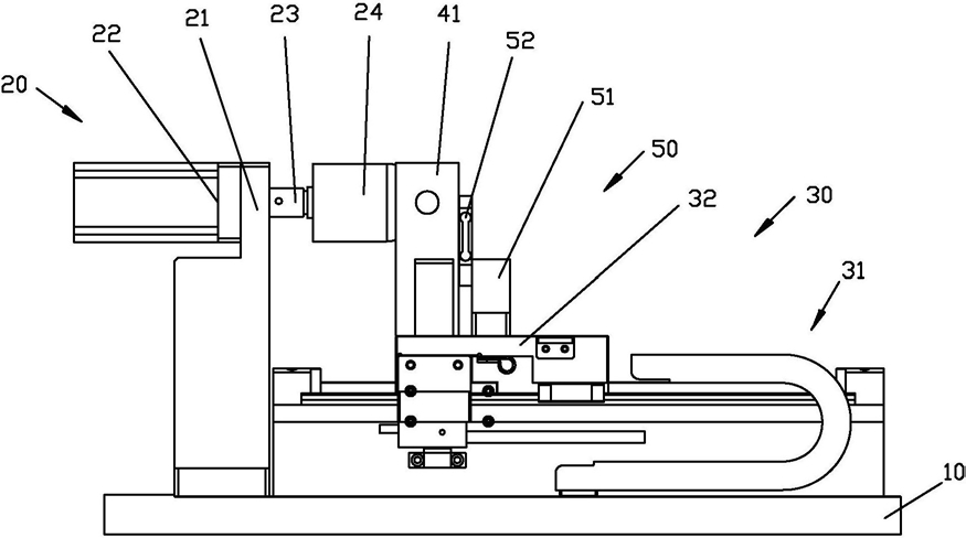
1.一种基于屏蔽层化学取消设备的电镀磨粒工具分段电镀方法,所述电镀磨粒工具沿其轴向分为若干区段,每个区段为直径相同或不同的回转体,至少两个区段需要电镀且电镀要求各不相同;其特征在于:所述屏蔽层化学取消设备包括:底座,底座上设有工件固定机构、位置调整机构、光固化机构及对刀机构;

工件固定机构包括驱动装置,驱动装置设在底座左侧,驱动装置用于装接所述电镀磨粒工具,电镀磨粒工具可通过驱动装置驱动旋转;

位置调整机构设在底座右侧,包括可沿左右方向往复运动的工作台;

光固化机构包括可照射电镀磨粒工具的照射头,设在工作台;

对刀机构包括传感器,传感器设在工作台,传感器位于照射头右侧;

所述电镀磨粒工具分段电镀方法包括:

1)在电镀磨粒工具上均匀涂覆光敏屏蔽层,光敏屏蔽层的厚度为0.1~2mm;

2)将涂覆有屏蔽层的电镀磨粒工具装接在工件固定机构与驱动机构相连,使电镀磨粒工具的轴向沿左右方向布置,且电镀磨粒工具的零点向右与挡板相对应;

3)通过位置调整机构带动对刀机构向电镀磨粒工具行进执行对刀,确定电镀磨粒工具零点的位置;结合电镀磨粒工具尺寸得到电镀磨粒工具各区段的位置参数;对刀成功时,照射头应位于电镀磨粒工具所有待电镀的区段的左侧;

4)结合电镀磨粒工具各区段的位置参数,根据光敏屏蔽层为正光阻或负光阻,通过位置调整机构将照射头定位至电镀磨粒工具第一待电镀区段或除第一待电镀区段之外的其他不需要电镀区段,且照射头与电镀磨粒工具的距离为8~12mm;通过驱动装置带动电镀磨粒工具旋转,开启照射头,对电镀磨粒工具上第一待电镀区段或不需要电镀区段的光敏屏蔽层进行照射;

5)用显影液除去电镀磨粒工具上未被固化的屏蔽层,取消电镀磨粒工具第一待电镀区段的屏蔽,暴露第一待电镀区段;

6)将去除第一待电镀区段屏蔽层的电镀磨粒工具按第一待电镀区段的电镀要求对第一待电镀区段进行电镀;

7)电镀完成后,用剥离液去除电镀磨粒工具上剩余的屏蔽层;

8)根据电镀磨粒工具待电镀区段的数量,重复上述步骤1)~7),依次逐个暴露各待电镀区段并分别按照各区段的不同电镀要求进行电镀,从而实现分段电镀。

2.根据权利要求1所述的基于屏蔽层化学取消设备的电镀磨粒工具分段电镀方法,其特征在于:所述工件固定机构还包括驱动装置支架、联轴器和用于装接电镀磨粒工具的工件固定件,该驱动装置支架设在底座左侧,所述驱动装置设在该驱动装置支架上;该联轴器装设在该驱动装置;该工件固定件装设在该联轴器。

3.根据权利要求1所述的基于屏蔽层化学取消设备的电镀磨粒工具分段电镀方法,其特征在于:所述位置调整机构还包括直线驱动装置,该直线驱动装置设在底座右侧,所述工作台设在该直线驱动装置的动子上。

4.根据权利要求1所述的基于屏蔽层化学取消设备的电镀磨粒工具分段电镀方法,其特征在于:所述光固化机构还包括照射头固定件;该照射头固定件设在所述工作台,所述照射头装接在该照射头固定件。

5.根据权利要求1所述的基于屏蔽层化学取消设备的电镀磨粒工具分段电镀方法,其特征在于:所述电镀磨粒工具的直径范围为2~12mm。

6.根据权利要求1所述的基于屏蔽层化学取消设备的电镀磨粒工具分段电镀方法,其特征在于:所述照射头的光斑为线型,尺寸为2~4mm×14~18mm。

7.根据权利要求1所述的基于屏蔽层化学取消设备的电镀磨粒工具分段电镀方法,其特征在于:所述步骤4)中,照射时间为45~80s。

8.根据权利要求1所述的基于屏蔽层化学取消设备的电镀磨粒工具分段电镀方法,其特征在于:所述对刀机构还包括传感器底座,该传感器底座设在所述工作台,所述传感器设在该传感器底座上。

9.根据权利要求1所述的基于屏蔽层化学取消设备的电镀磨粒工具分段电镀方法,其特征在于:所述驱动装置为主轴电机。

10.根据权利要求1所述的基于屏蔽层化学取消设备的电镀磨粒工具分段电镀方法,其特征在于:所述屏蔽层的原料为碱溶性光敏树脂液体。