欢迎来到知嘟嘟! 联系电话:13336804447 卖家免费入驻,海量在线求购! 卖家免费入驻,海量在线求购!
知嘟嘟
我要发布
联系电话:13336804447
知嘟嘟经纪人
收藏
专利号: 2016110784423
申请人: 华侨大学
专利类型:发明专利
专利状态:已下证
专利领域: 电解或电泳工艺;其所用设备〔4〕
更新日期:2024-01-05
缴费截止日期: 暂无
价格&联系人
年费信息
委托购买

摘要:

权利要求书:

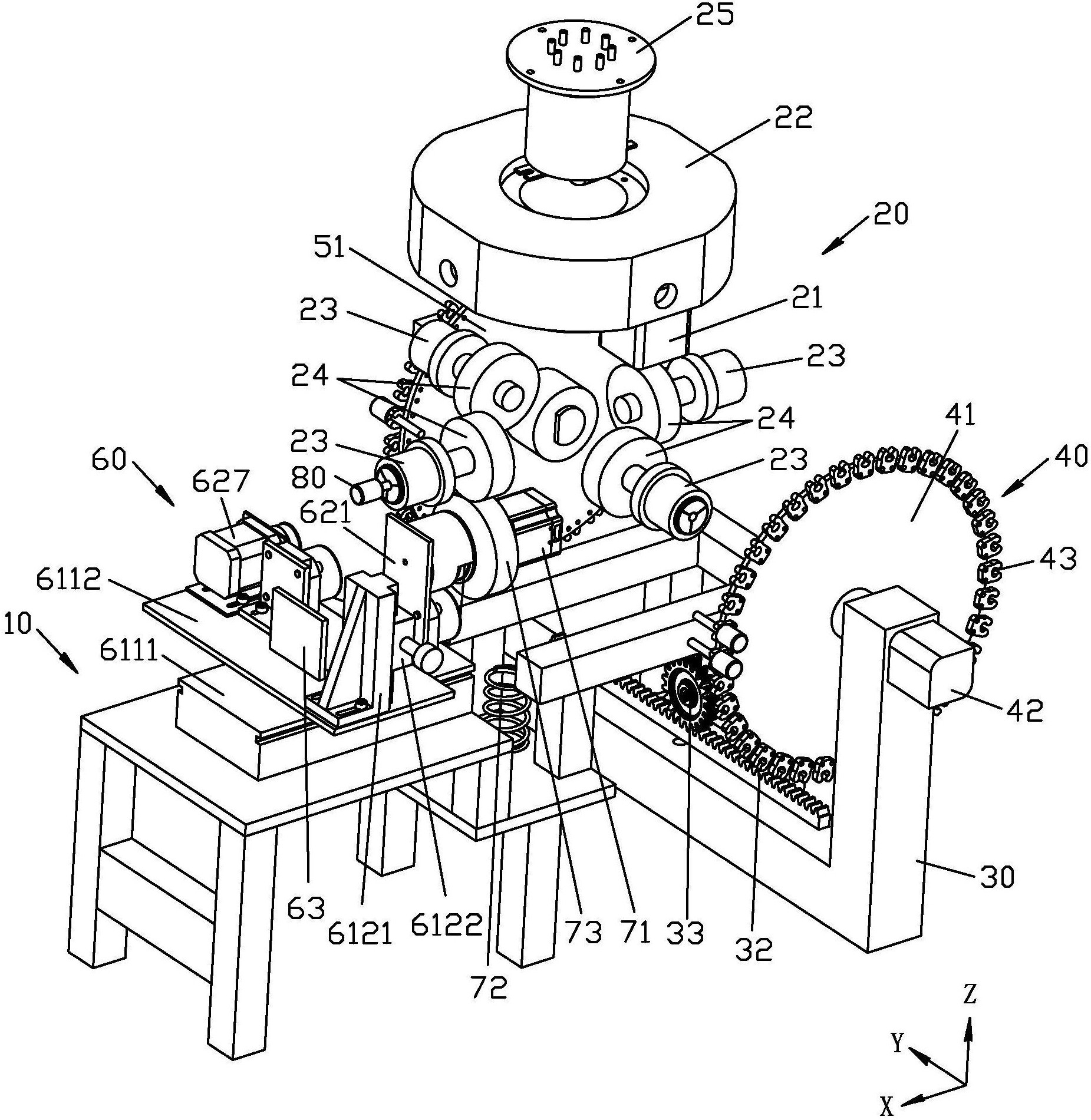
1.一种基于屏蔽层机械去除自动化生产线的电镀磨粒工具分段电镀方法,所述电镀磨粒工具沿其轴向分为若干区段,每个区段为直径相同或不同的回转体,至少两个区段需要电镀且电镀要求各不相同;其特征在于:所述自动化生产线包括:机架,机架上设有多工位输送设备和屏蔽层去除设备;其中,多工位输送设备包括:

回转输送机构,设在机架,包括环形的转台,转台上周向间隔地设有若干夹持装置,夹持装置包括同轴连接的第一摩擦轮和夹持件;

U型架,滑动装接在机架,U型架平行于转台径线布置且可在机架上沿平行于转台径线的方向往复运动;U型架的两端对称布置有第一转盘机构和第二转盘机构,第一转盘机构包括第一转盘,第二转盘机构包括第二转盘,第一转盘和第二转盘相对布置,二者周缘都设有若干夹具,第一转盘和第二转盘各自的部分夹具的位置与转台的位置相对应;通过U型架在机架上滑动以调节第一转盘机构/第二转盘机构至转台的距离;

摩擦传动机构,包括弹性件和用于与任一个第一摩擦轮相配合以实现摩擦传动的第二摩擦轮,弹性件设在机架,第二摩擦轮与弹性件相连;

屏蔽层去除设备与第一转盘机构、第二转盘机构围绕转台呈类品字形排布,所述摩擦传动机构位于转台与屏蔽层去除设备之间;屏蔽层去除设备包括:位置调整机构,包括横向调整组件和竖直调整组件;横向调整组件设在机架,包括可沿X轴方向往复运动的工作台;竖直调整组件设在工作台,包括可沿Z轴方向往复运动的滑块;

运丝机构,包括张紧轮、第一导轮、第二导轮、贮丝筒及刮丝;张紧轮和第一导轮装接在滑块且可通过滑块沿Z轴方向往复运动;第二导轮设在工作台;贮丝筒装设在工作台;刮丝一端经第二导轮引导后卷绕在贮丝筒内,另一端经第一导轮引导后卷绕在张紧轮,第一导轮与第二导轮之间的刮丝悬空,转台的位置与悬空的刮丝的位置相对应;

对刀机构,包括挡板,挡板设在工作台,挡板位于悬空的刮丝的远离转台的一侧;

所述电镀磨粒工具分段电镀方法包括:

1)在电镀磨粒工具上均匀覆盖屏蔽层,屏蔽层的厚度为0.1~2mm;

2)将涂覆有屏蔽层的一批电镀磨粒工具分别安装在第一转盘的若干夹具上,此处为第一工位;

3)U型架带动第一转盘靠近转台,转台上的夹持件夹紧第一转盘上位置对应的夹具上的电镀磨粒工具;转台转动,夹持件带着电镀磨粒工具脱离夹具并转到屏蔽层去除设备,即到达第二工位,在第二工位的电镀磨粒工具的轴向沿X轴方向布置,且电镀磨粒工具的零点与挡板相对;而且,在夹持件带着电镀磨粒工具脱离夹具到达第二工位时,转台上的下一个夹持件经转动对准第一转盘,且第一转盘上的下一个夹具及其夹持的电镀磨粒工具转动到与该下一个夹持件相应的位置,以此持续地将电镀磨粒工具从第一转盘转移到夹持件;

4)通过横向调整组件带动对刀机构向电镀磨粒工具行进执行对刀,确定电镀磨粒工具零点位置;结合电镀磨粒工具尺寸得到电镀磨粒工具各区段的位置参数;对刀成功时,悬空的刮丝的位置应比电镀磨粒工具所有待电镀区段更靠近转台;

5)结合电镀磨粒工具第一待电镀区段的位置参数,通过横向调整组件将刮丝定位至电镀磨粒工具第一待电镀区段;通过竖直调整组件调整张紧轮和第一导轮的高度以调整悬空的刮丝的角度,使悬空的刮丝与电镀磨粒工具第一待电镀区段接触并对电镀磨粒工具第一待电镀区段产生不小于10°的包角;同时通过张紧轮调节刮丝的张力,使悬空的刮丝对电镀磨粒工具第一待电镀区段产生一定的压力;

6)通过摩擦传动机构带动处于第二工位上的夹持件和电镀磨粒工具以50~70r/min的转速转动,运丝机构以0.05~0.2m/s的线速度往复运丝,使刮丝以上述的包角和张力在电镀磨粒工具第一待电镀区段上来回移动,并配合横向调整组件使刮丝在电镀磨粒工具第一待电镀区段沿X轴方向往复移动,刮除电镀磨粒工具第一待电镀区段上的屏蔽层,从而暴露电镀磨粒工具第一待电镀区段;

7)U型架带动第二转盘靠近转台,转台转动,将在第二工位的夹持件及其上的暴露第一待电镀区段的电镀磨粒工具转动到对应第二转盘的位置,并将该电镀磨粒工具装夹在第二转盘的夹具上;然后夹持件松开,U型架带动第二转盘及电镀磨粒工具远离夹持件,即到达第三工位;而且,在第二转盘带走电镀磨粒工具后,第二转盘上的下一个夹具转动到与转台上夹持件相应的位置,以此持续地将电镀磨粒工具从夹持件转移到第二转盘;

8)重复以上步骤3)~7)直至完成一批电镀磨粒工具在屏蔽层去除设备的加工,所有电镀磨粒工具的第一待电镀区段的屏蔽层均被去除而得以暴露,且所有电镀磨粒工具都转移到第二转盘的夹具上;

9)将第二转盘上所有去除第一待电镀区段的屏蔽层的电镀磨粒工具按第一待电镀区段的电镀要求进行电镀;电镀完成后,去除电镀磨粒工具上剩余的屏蔽层;

10)根据电镀磨粒工具待电镀区段的数量,重复上述步骤1)~9),依次逐个暴露电镀磨粒工具的各待电镀区段并分别按照各区段的不同电镀要求进行电镀,从而实现分段电镀。

2.根据权利要求1所述的基于屏蔽层机械去除自动化生产线的电镀磨粒工具分段电镀方法,其特征在于:所述回转输送机构还包括第一驱动装置和多通道气滑环,该第一驱动装置设在机架并传动连接转台且可带动转台沿其环心转动;该多通道气滑环设在转台中央;

所述夹持件为气动夹头,该些气动夹头的通气管由该多通道气滑环引出。

3.根据权利要求1所述的基于屏蔽层机械去除自动化生产线的电镀磨粒工具分段电镀方法,其特征在于:所述U型架上设有齿条;所述机架上设有第二驱动装置,该第二驱动装置传动连接有齿轮,齿轮与所述齿条适配啮合,通过第二驱动装置驱动齿轮转动并与齿条相互配合以带动U型架在机架上滑动。

4.根据权利要求1所述的基于屏蔽层机械去除自动化生产线的电镀磨粒工具分段电镀方法,其特征在于:所述第一转盘机构还包括第三驱动装置,所述第二转盘机构还包括第四驱动装置,该第三驱动装置和第四驱动装置分别设在所述U型架的两端,该第三驱动装置传动连接所述第一转盘并可带动该第一转盘转动,该第四驱动装置传动连接所述第二转盘且可带动该第二转盘转动。

5.根据权利要求1所述的基于屏蔽层机械去除自动化生产线的电镀磨粒工具分段电镀方法,其特征在于:所述第一转盘的转动轴线,第二转盘的转动轴线及夹持件的轴线位于同一水平面。

6.根据权利要求1所述的基于屏蔽层机械去除自动化生产线的电镀磨粒工具分段电镀方法,其特征在于:所述摩擦传动机构还包括第五驱动装置,该第五驱动装置设在弹性件并传动连接所述第二摩擦轮且可带动该第二摩擦轮转动。

7.根据权利要求1所述的基于屏蔽层机械去除自动化生产线的电镀磨粒工具分段电镀方法,其特征在于:所述横向调整组件还包括直线驱动装置,该直线驱动装置设在机架,所述工作台设在该直线驱动装置的动子上;所述竖直调整组件还包括沿Z轴方向布置的导轨,该导轨设在工作台,所述滑块滑动装接在该导轨上。

8.根据权利要求1所述的基于屏蔽层机械去除自动化生产线的电镀磨粒工具分段电镀方法,其特征在于:所述运丝机构还包括转接板、导轮支架、第六驱动装置支架和第六驱动装置;该转接板设在所述滑块上,所述张紧轮和第一导轮装接在该装接板上;该导轮支架设在所述工作台,所述第二导轮设在该导轮支架上;该第六驱动装置支架设在所述工作台,该第六驱动装置设在该第六驱动装置支架上并传动连接所述贮丝筒。

9.根据权利要求1所述的基于屏蔽层机械去除自动化生产线的电镀磨粒工具分段电镀方法,其特征在于:所述第一导轮和第二导轮之间的悬空的刮丝位于垂直于X轴方向的平面上。

10.根据权利要求1所述的基于屏蔽层机械去除自动化生产线的电镀磨粒工具分段电镀方法,其特征在于:所述屏蔽层的原料为非导电又不溶于电解液且易溶于碱性溶液的材料。