欢迎来到知嘟嘟! 联系电话:13336804447 卖家免费入驻,海量在线求购! 卖家免费入驻,海量在线求购!
知嘟嘟
我要发布
联系电话:13336804447
知嘟嘟经纪人
收藏
专利号: 2016110007190
申请人: 无锡新人居科贸有限公司
专利类型:发明专利
专利状态:已下证
专利领域: 运动;游戏;娱乐活动
更新日期:2025-12-11
缴费截止日期: 暂无
价格&联系人
年费信息
委托购买

摘要:

权利要求书:

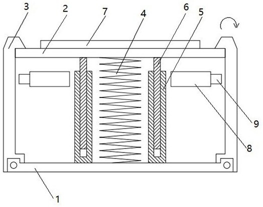
1.一种表演用地面弹射垫,其特征在于,包括底座、弹射板和卡钩,所述底座和弹射板之间设有弹簧和限制弹射板弹起方向的导向装置,所述卡钩的尾端与底座铰接,卡钩的头端钩住所述弹射板的边缘,所述弹射板的上表面设置重量传感器,所述底座和弹射板之间设置气缸,所述气缸的气缸杆伸出时推动所述卡钩的头端离开弹射板的边缘,所述重量传感器检测到重量信号用于控制所述气缸杆的伸出。

2.根据权利要求1所述的表演用地面弹射垫,其特征在于,所述卡钩在脱离所述弹射板的边缘形成的摆动面与所述弹射板表面正交。

3.根据权利要求1所述的表演用地面弹射垫,其特征在于,所述卡钩至少设有两个且分布于所述弹射板的相对两侧。

4.根据权利要求1所述的表演用地面弹射垫,其特征在于,所述导向装置包括相互匹配导套和导柱,所述导套与底座固定连接,所述导柱与弹射板的下表面固定连接,所述导柱插入所述导套。

5.根据权利要求1所述的表演用地面弹射垫,其特征在于,所述导向装置设有四个,所述导向装置以所述弹射板的中心为中心对称布置。