欢迎来到知嘟嘟! 联系电话:13336804447 卖家免费入驻,海量在线求购! 卖家免费入驻,海量在线求购!
知嘟嘟
我要发布
联系电话:13336804447
知嘟嘟经纪人
收藏
专利号: 201610996348X
申请人: 福州幻科机电科技有限公司
专利类型:发明专利
专利状态:已下证
专利领域: 无轨陆用车辆
更新日期:2023-08-24
缴费截止日期: 暂无
价格&联系人
年费信息
委托购买

摘要:

权利要求书:

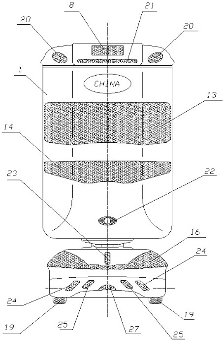
1.一种医院智能多用牵引车,其特征在于包括牵引头、牵引车架、智能控制主机体,所述牵引头由底盘、左右轮驱动电机、左右轮减速器、牵引头驱动轮、壳安装支架、外壳及设置在外壳上相应位置的障碍物探测传感器组成,左右轮驱动电机分别定位在左右轮减速器上,左右轮减速器分别定位在牵引头底盘的两旁,牵引头驱动轮分别定位在左右轮减速器的驱动轮轴上,牵引头底盘的相应位置设有外壳安装支架,牵引头的外壳定位在相应的外壳安装支架上,牵引头底盘的中部设有凸起的平台,平台上定位有一带座轴承,智能控制主机体的铰支轴定位在带座轴承中;所述牵引车架由车架、通过轮轴定位在车架后部左右两旁的车架轮、设置在车架后中部的牵挂机构组成,所述牵挂机构包括扇形蜗轮及其上的牵挂杆、蜗杆、牵挂电机和牵挂杆收放停感应控制电路,整个牵引车架通过车架前部的车架法兰板定位在主机体的铰支轴上部的法兰上;所述智能控制主机体包括主机壳、设置在主机壳上相应位置的障碍物探测传感器、设置在机体内的充电锂电池、智能控制电路系统、自动感应充电装置。

2.根据权利要求1所述的一种医院智能多用牵引车,其特征在于所述障碍物探测传感器为探测雷达,在主机壳上部的左右两侧设有限高探测雷达,在主机壳的正面中部上下设有探测范围小于255°的探测雷达,在主机壳的正面中下部设置有摄像头,在牵引头外壳的正上面设置有探测范围小于205°的探测雷达,在牵引头外壳的正下面左右中分别设置有五个小范围探测的探测雷达。

3.根据权利要求1所述的一种医院智能多用牵引车,其特征在于在主机体外壳的上部中央设有条码或二维码扫描录入仪,在主机体外壳的顶部设有具有智能手机功能的触摸屏平板电脑和相应的触控键,所述触摸屏平板电脑界面设置为:电脑开机后或其他操作键停止一定时间后界面自动显示有:收货触摸键、发货触摸键、取货送货触摸键,主画面为实时导航地图和牵引车所在位置,点击收货触摸键界面显示:下方为数字键盘,上放中间为取货密码录入框,密码输入后按确认键界面显示:收件人和货物名称数量清单,按确认键,柜子相应的抽屉自动弹出或牵挂机构自动脱钩,取走货物关上抽屉或推走柜子显示屏恢复原始界面;点击发货触摸键界面显示:显示屏下方为数字键盘和英文字母键盘,顶行右侧显示提醒请输入货物名称数量,顶行中间显示发送地点录入框,顶行右侧显示收件人姓名录入框和收件人手机号录入框,顶行下面为发货清单列表,所述平板电脑内设有收件密码自动随机生成无线发送模块和智能导航控制模块及语音智能呼叫模块;点击取货送货触摸键界面显示:上方显示取货地录入框和送货地录入框,下方为数字键盘和英文字母键盘。

4.根据权利要求1所述的一种医院智能多用牵引车,其特征在于每辆智能多用牵引车的平板电脑里设有无线指令接收程序模块和自身位置相互无线通联程序模块,智能手机内装上也装有与平板电脑里的相对应的程序模块可自动与多辆智能多用牵引车无线通联,每辆智能多用牵引车之间的自身位置通过自身位置相互无线通联程序模块而相互通联。

5.根据权利要求1所述的一种医院智能多用牵引车,其特征在于所述左右轮驱动电机为带内置编码器的永磁交流伺服电机。