欢迎来到知嘟嘟! 联系电话:13336804447 卖家免费入驻,海量在线求购! 卖家免费入驻,海量在线求购!
知嘟嘟
我要发布
联系电话:13336804447
知嘟嘟经纪人
收藏
专利号: 2016108505662
申请人: 安徽工程大学
专利类型:发明专利
专利状态:已下证
专利领域: 一般车辆
更新日期:2023-07-19
缴费截止日期: 暂无
价格&联系人
年费信息
委托购买

摘要:

权利要求书:

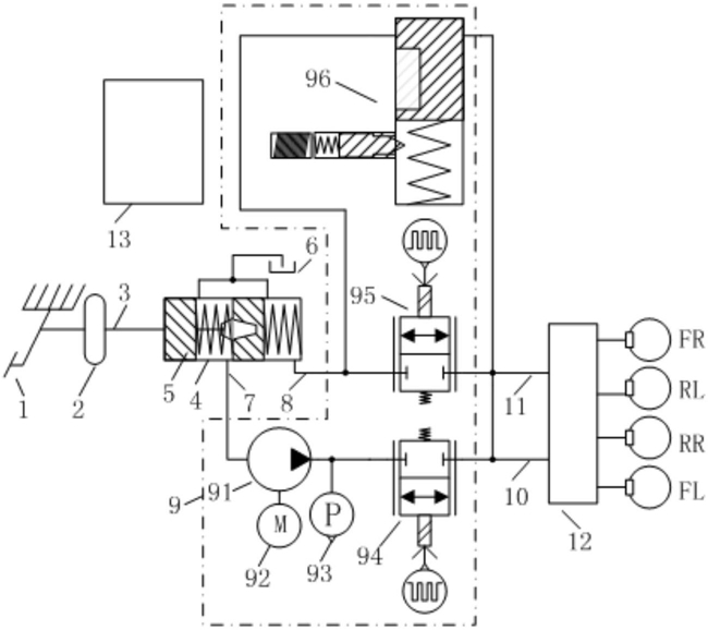
1.一种车辆电子液压制动系统,制动踏板经真空助力器驱动液压制动主缸的主缸推杆和活塞运动,所述液压制动主缸通过管路连接储油罐,所述液压制动主缸的第一输出油管经液压泵连接进油阀,所述进油阀经第一双路输入油管连接ABS/ESP,所述液压制动主缸的第二输出油管连接出油阀,所述出油阀经第二双路输入油管连接ABS/ESP,其特征在于:所述第一双路输入油管和第二双路输入油管连在一起,且均与自锁电磁阀的端口B连接,所述自锁电磁阀的端口A与第二输出油管连接,系统设有增压装置控制单元,所述增压装置控制单元接收所述制动踏板内位置传感器的位置信号,并输出控制信号至液压泵、进油阀、出油阀和自锁电磁阀。

2.根据权利要求1所述的车辆电子液压制动系统,其特征在于:所述自锁电磁阀包括电磁阀外壳、复位弹簧、阀芯、电磁阀线圈、阀口A和阀口B,所述电磁阀外壳一端的两侧设有阀口A和阀口B,所述电磁阀外壳另一端设有复位弹簧,所述复位弹簧上设有控制阀口A和阀口B的通断的阀芯,所述阀芯由电磁阀线圈驱动其在电磁阀外壳内位移。

3.根据权利要求2所述的车辆电子液压制动系统,其特征在于:所述阀芯一侧设有阀芯空槽,所述电磁阀外壳外壁设有套筒,所述套筒内设有磁芯销,所述磁芯销由销线圈驱动伸入阀芯空槽或缩回套筒内,当所述磁芯销伸入阀芯空槽时,所述阀芯位置处于使阀口A和阀口B导通的位置。

4.根据权利要求1、2或3所述的车辆电子液压制动系统,其特征在于:所述增压控制单元通过整车CAN总线获得车辆当前减速度和响应时间信号。

5.根据权利要求4所述的车辆电子液压制动系统,其特征在于:所述液压泵由泵电机驱动,所述进油阀和出油阀为常闭阀,所述主动增压控制器输出PWM的占空比控制泵电机、进油阀和出油阀的开启时间。

6.基于权利要求1-5中任一项所述车辆电子液压制动系统的控制方法,其特征在于:步骤1、实时获取制动踏板位移信号,若判断为人工制动干预,则执行步骤2、否则执行步骤3;

步骤2、进入人工干预制动模式出油阀掉电关闭,自锁电磁阀掉电开启,进油阀掉电关闭,返回步骤1;

步骤3、判断是否有主动制动需求,若有则执行步骤4,否则执行步骤6;

步骤4、进入主动制动模式,根据目标减速度α和整车获取的制动减速度β进行比较判断决定执行动作,当β<α时,执行步骤5a,当α=β时,执行步骤5b,当β>α时则执行步骤5c;

步骤5a、增压,打开进油阀,关闭自锁电磁阀,关闭出油阀,开启液压泵及泵电机,返回步骤1;

步骤5b、保压,关闭进油阀,关闭自锁电磁阀,关闭出油常闭阀,返回步骤1;

步骤5c、减压,关闭进油阀,关闭自锁电磁阀,开启出油阀,返回步骤1;

步骤6、自锁电磁阀处于掉电开启状态,返回步骤1。