欢迎来到知嘟嘟! 联系电话:13336804447 卖家免费入驻,海量在线求购! 卖家免费入驻,海量在线求购!
知嘟嘟
我要发布
联系电话:13336804447
知嘟嘟经纪人
收藏
专利号: 201610673887X
申请人: 浙江工业大学
专利类型:发明专利
专利状态:已下证
专利领域: 一般的物理或化学的方法或装置
更新日期:2023-12-11
缴费截止日期: 暂无
价格&联系人
年费信息
委托购买

摘要:

权利要求书:

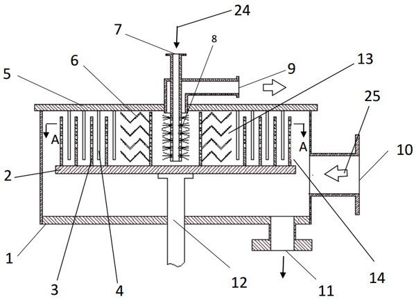
1.复合转子超重力旋转床,包括壳体、静盘、气体进出口、液体进出口;液体进口管设于静盘上方的中央,位于壳体内的液体进口管的管壁上设有毛细出液孔;其特征在于:复合转子由壳体下端向上穿入壳体内,复合转子与静盘同轴布置,复合转子包括同心分布的动折流圈,静盘上向下同心分布有静折流圈,动折流圈和静折流圈相互嵌套,动折流圈上开设若干个通孔,静折流圈上不开设通孔;复合转子最内层设有从上到下均布的若干个波纹碟片,波纹碟片上设有通孔,波纹碟片固定在液体进口管外侧;在壳体下方设有液体出口;在壳体的侧壁设有气体进口,在静盘上方的液体进口管外侧设有气体出口。

2.如上权利要求1所述的复合转子超重力旋转床,其特征在于复合转子最内层为动折流圈,该动折流圈固定在液体进口管外侧,且在该动折流圈的圈壁上固定有从上到下均布的若干个波纹碟片。