欢迎来到知嘟嘟! 联系电话:13336804447 卖家免费入驻,海量在线求购! 卖家免费入驻,海量在线求购!
知嘟嘟
我要发布
联系电话:13336804447
知嘟嘟经纪人
收藏
专利号: 2007101570943
申请人: 浙江工业大学
专利类型:发明专利
专利状态:已下证
专利领域: 一般的物理或化学的方法或装置
更新日期:2023-12-11
缴费截止日期: 暂无
价格&联系人
年费信息
委托购买

摘要:

权利要求书:

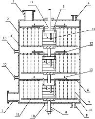
1、一种同心圈逆流型超重力旋转床装置,包括壳体,壳体上端面上设有液相入 口和气相出口,壳体下端设有气相入口和液相出口,壳体中心设有旋转体,所述的旋 转体上连接有转子,所述的转子包括与所述旋转体固定连接的旋转盘、与壳体固定连 接的静止盘,所述转子的下端的两侧设有第一通道口,转子的上端中心设有第二通道 口,所述的第二通道口与所述的气相出口、液相入口相通,所述的第一通道口与所述 的气相入口、液相出口相通,其特征在于:所述的转子还包括同心筛孔动圈,所述的 同心筛孔动圈由一组同心且直径各异的带有筛孔的旋转圈组合而成,所述的同心筛孔 动圈的底端固定连接在旋转盘上,上端与静止盘可转动连接,所述的第一通道口和第 二通道口与同心筛孔动圈通道连通。

2、如权利要求1所述的同心圈逆流型超重力旋转床装置,其特征在于:所述转 子为同轴连接的多层转子结构,其中最上层转子的第二通道口与所述的气相出口、液 相入口相通,最下层转子的第一通道口与所述的气相入口、液相出口相通,其余转子 的第二通道口与上一层转子的第一通道口相通。

3、如权利要求1或2所述的单层同心圈逆流型超重力旋转床装置,其特征在于: 所述的旋转体为单一的转轴。

4、如权利要求1或2所述的同心圈逆流型超重力旋转床装置,其特征在于:所 述的旋转体为串联有液体分布器的转轴,所述的第二通道口通过所述的液体分布器与 同心筛孔动圈通道连通。

5、如权利要求2所述的同心圈逆流型超重力旋转床装置,其特征在于:所述的 静止盘上端面固定连接有引流管。

6、如权利要求5所述的同心圈逆流型超重力旋转床装置,其特征在于:所述的 旋转床装置的侧面上对应于各静止盘的上方设有进料口,从进料口中进入的原料可沿 所述的引流管进入转子的第二通道口。