欢迎来到知嘟嘟! 联系电话:13336804447 卖家免费入驻,海量在线求购! 卖家免费入驻,海量在线求购!
知嘟嘟
我要发布
联系电话:13336804447
知嘟嘟经纪人
收藏
专利号: 2016106649448
申请人: 浙江工业大学
专利类型:发明专利
专利状态:已下证
专利领域: 飞行器;航空;宇宙航行
更新日期:2023-08-24
缴费截止日期: 暂无
价格&联系人
年费信息
委托购买

摘要:

权利要求书:

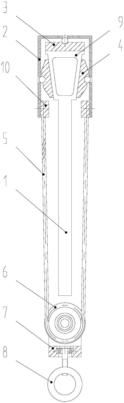
1.一种用于太阳翼板吊挂的柔性吊挂装置,其特征在于:包括横导轨(1)、弹性挂架(2)、平气浮垫(3)、侧气浮垫(4)、钢丝绳(5)、自适应偏移轮(6)、偏移轮连接架(7)和解拧吊环(8),所述横导轨(1)的左右两端固定在纵导轨上并能在纵导轨上直线运动,所述横导轨(1)的上端设有倒梯形滑轨(9),倒梯形滑轨(9)与横导轨(1)一体式成型,倒梯形滑轨(9)的顶面为水平支撑面,倒梯形滑轨(9)上靠近其顶面的两个倾斜面为斜撑面;弹性挂架(2)包覆所述倒梯形滑轨(9),弹性挂架(2)内部的顶部固定有平气浮垫(3),弹性挂架(2)内部左右两个侧面上均设有侧气浮垫(4),弹性挂架(2)内部顶部通过平气浮垫(3)连接倒梯形滑轨(9)的水平支撑面,弹性挂架(2)的内部两侧面分别通过侧气浮垫(4)连接倒梯形滑轨(9)的两个斜撑面,弹性挂架(2)通过平气浮垫(3)和侧气浮垫(4)实现对倒梯形滑轨(9)的包覆并能沿所述倒梯形滑轨(9)进行滑动;所述弹性挂架(2)内部的下端固定有两个钢丝绳连接件(10),两个钢丝绳连接件(10)对称设置在横导轨(1)的左右两侧,钢丝绳(5)绕过所述自适应偏移轮(6),钢丝绳(5)的两端分别连接两个钢丝绳连接件(10);所述偏移轮连接架(7)固定连接在所述自适应偏移轮(6)上,解拧吊环(8)通过第一轴承固定在所述偏移轮连接架(7)上。

2.根据权利要求1所述的一种用于太阳翼板吊挂的柔性吊挂装置,其特征在于:所述自适应偏移轮(6)的中部设有通孔,中心轴(11)穿过自适应偏移轮(6)中部的通孔,中心轴(11)与通孔通过第二轴承连接,偏移轮连接架(7)套装在所述中心轴(11)上并通过设置在中心轴(11)左右两端的限位螺栓(12)固定。

3.根据权利要求1所述的一种用于太阳翼板吊挂的柔性吊挂装置,其特征在于:所述平气浮垫(3)通过两个第一调节螺栓固定在弹性挂架(2)上,所述侧气浮垫(4)通过两个第二调节螺栓固定在弹性挂架(2)上。