欢迎来到知嘟嘟! 联系电话:13095918853 卖家免费入驻,海量在线求购! 卖家免费入驻,海量在线求购!
知嘟嘟
我要发布
联系电话:13095918853
知嘟嘟经纪人
收藏
专利号: 201610590732X
申请人: 黄俊鹏
专利类型:发明专利
专利状态:已下证
专利领域: 锁;钥匙;门窗零件;保险箱
更新日期:2025-07-25
缴费截止日期: 暂无
价格&联系人
年费信息
委托购买

摘要:

权利要求书:

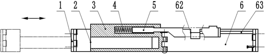
1.一种推拉窗防儿童坠楼器,其特征在于:包括连接件、第一臂板、第二臂板、套筒和固定杆;所述的连接件有两个;所述的两个连接件一端分别与第一臂板和第二臂板一端相铰接,所述的第二臂板的另一端与所述的套筒一端相铰接,所述的套筒内部设有两个沿套筒长度方向走向的开口方向相反的孔,所述的第一臂板嵌套在套筒内开口远离套筒铰接端方向的孔内;所述的固定杆一部分位于所述的套筒内开口朝向套筒铰接端的孔内,另一部分露出,露出部分位于第二臂板下方;固定杆与所在孔的盲端之间设有弹簧;所述的固定杆的露出一端设有卡死装置,所述的卡死装置为倒“V”形的第二钩体,第二钩体前端与所述的固定杆固定连接,第二钩体的后端位于第二臂板的上方;第二钩体为弹性材料;所述的第二臂板上表面设有凸台,所述的凸台前侧面与所述的缺口相交的部分与缺口的后侧面向后下方倾斜,共同组成一平滑斜面;凸台前侧面的斜面部分与非斜面部分交错处形成一个垂直于前侧面的竖直平面;在第二臂板与套筒的铰接处与卡死装置之间,所述的第二臂板前侧边上设有与卡死装置的第二钩体相适应的缺口和断杆缺口,所述的断杆缺口位于所述的第二钩体的正下方;第二臂板内设有沿第二臂板长度方向走向的盲孔,盲孔开口位于所述的断杆缺口的侧壁上,盲孔内设有细杆,细杆与所述的盲孔的盲端之间设有细杆弹簧,细杆一端从盲孔开口处露出,位于所述的断杆缺口内。

2.根据权利要求1所述的推拉窗防儿童坠楼器,其特征在于:所述的固定杆上设有操作手柄。

3.根据权利要求1所述的推拉窗防儿童坠楼器,其特征在于:所述的固定杆连接拉杆或拉绳。

我要求购
我不想找了,帮我找吧
您有专利需要变现?
我要出售
智能匹配需求,快速出售