欢迎来到知嘟嘟! 联系电话:13336804447 卖家免费入驻,海量在线求购! 卖家免费入驻,海量在线求购!
知嘟嘟
我要发布
联系电话:13336804447
知嘟嘟经纪人
收藏
专利号: 2016103047579
申请人: 浙江工业大学
专利类型:发明专利
专利状态:已下证
专利领域: 水利工程;基础;疏浚
更新日期:2023-08-24
缴费截止日期: 暂无
价格&联系人
年费信息
委托购买

摘要:

权利要求书:

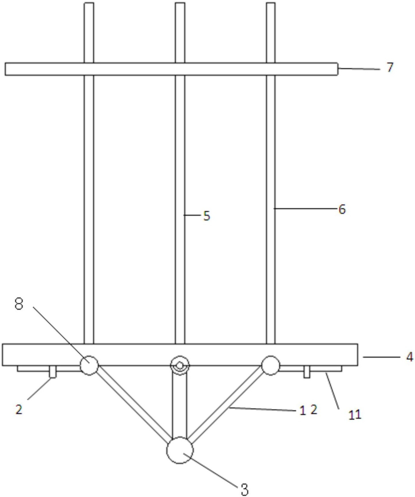
1.机械联动扩大头式抗拔锚,包括锚杆本体,所述的锚杆本体包括嵌入土体中的锚固段和用于锚固锚固段的自由段,其特征在于:所述的锚固段具有一圆形托盘,所述的圆形托盘的底面径向开设有若干个滑槽,若干个所述的滑槽内设置有可沿滑槽平动的锚头筋;所述的锚头筋包括第一钢筋和第二钢筋,所述的第一钢筋设置在所述的滑槽内,所述的第一钢筋的一端与第二钢筋的一端通过限位轴铰接;所述的第二钢筋的另一端与一连接轴铰接;所述的滑槽上设置有用于约束锚头筋的起止销;所述的限位轴与所述的起止销相互配合作用;

所述的圆形托盘的中心设置有连通孔道,所述的连通孔道内穿设有一牵拉主筋,所述的牵拉主筋的上端穿过连通孔道并向上延伸形成所述的自由段;所述的牵拉主筋的下端端部与所述的连接轴连接;牵拉主筋被牵拉时,所述的锚头筋向圆形托盘平面外伸展形成扩大头,所述的锚头筋在牵拉主筋的牵引下紧贴于圆形托盘的底面并与岩土体紧密接触;极限位置时,所述的限位轴抵靠在所述的起止销上。

2.如权利要求1所述的机械联动扩大头式抗拔锚,其特征在于:在所述的圆形托盘的上表面对应锚头筋的位置设置有竖向受拉钢筋。

3.如权利要求2所述的机械联动扩大头式抗拔锚,其特征在于:还包括钢垫板,所述的竖向受拉主筋通过钢垫板固定于土壁上。