欢迎来到知嘟嘟! 联系电话:13336804447 卖家免费入驻,海量在线求购! 卖家免费入驻,海量在线求购!
知嘟嘟
我要发布
联系电话:13336804447
知嘟嘟经纪人
收藏
专利号: 2016103033612
申请人: 浙江工业大学
专利类型:发明专利
专利状态:已下证
专利领域: 土层或岩石的钻进;采矿
更新日期:2023-08-24
缴费截止日期: 暂无
价格&联系人
年费信息
委托购买

摘要:

权利要求书:

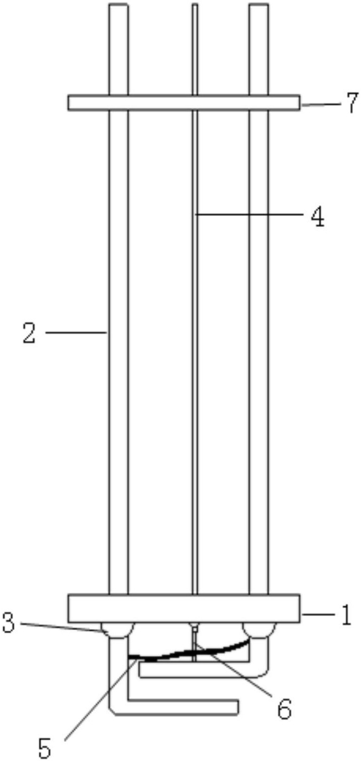
1.机械联动抗拔锚杆,包括锚杆本体,所述的锚杆本体包括嵌入土体中的锚固段和用于锚固锚固段的自由段,其特征在于:所述的锚固段具有一圆形托盘,所述的圆形托盘上开设有三个贯通全长的连通孔道,位于两侧的连通孔道内安装有转动滚轴,并且两侧的连通孔道内设置有受力主筋,两根受力主筋之间通过位于圆形托盘下方的锁丝连接;所述的受力主筋的一端穿过连通孔道并且端部具有弯曲头,所述的受力主筋在转动滚轴的作用下可平面旋转180度;

位于中间的连通孔道内设置有钢筋,所述的钢筋的一端穿过中间的连通孔道且端部连接有用于切断锁丝的刀片;初始位置时,两根受力主筋的弯曲头的弯曲方向均朝向圆形托盘的中心方向;锁丝断开后,两根受力主筋的弯曲头向外旋转并伸出圆形托盘,弯曲方向相向设置,所述的弯曲头在锚固段的端部形成扩大头。

2.如权利要求1所述的机械联动抗拔锚杆,其特征在于:还包括钢垫片,所述的钢垫片上对应受力主筋和钢筋的位置开设有三个通孔,并且所述的主筋通过钢垫片固定于土壁上。