欢迎来到知嘟嘟! 联系电话:13336804447 卖家免费入驻,海量在线求购! 卖家免费入驻,海量在线求购!
知嘟嘟
我要发布
联系电话:13336804447
知嘟嘟经纪人
收藏
专利号: 2016102376348
申请人: 山东科技大学
专利类型:发明专利
专利状态:已下证
专利领域: 测量;测试
更新日期:2023-12-11
缴费截止日期: 暂无
价格&联系人
年费信息
委托购买

摘要:

权利要求书:

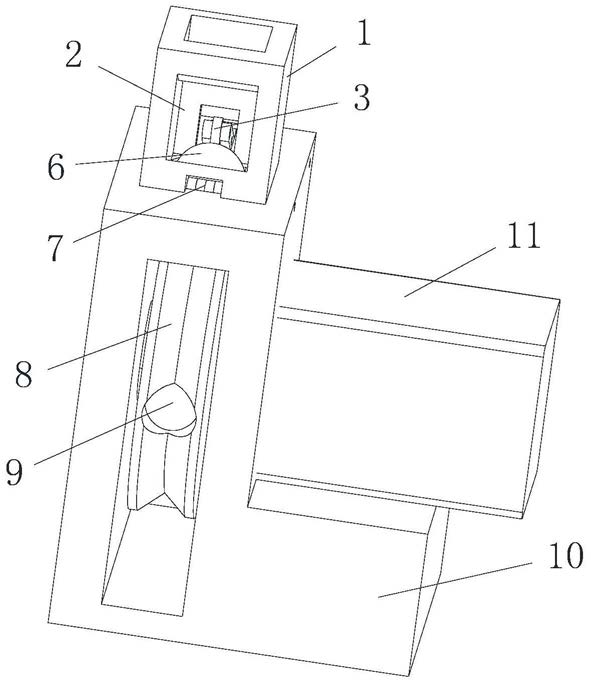
1.一种周向涡流阵列钢球表面质量检测装置,其特征在于,包括机架、待检测钢球及控制系统,机架的顶端设置有进球仓,进球仓上开设有供待检测钢球穿入的进球口;机架上还设置有钢球表面质量检测机构及钢球驱动机构,钢球表面质量检测机构包括涡流阵列探头及用于盛放待检测钢球的检测腔,检测腔位于进球仓的底端,涡流阵列探头与上述控制系统相连,涡流阵列探头包括多个均布在检测腔外围周圈的检测线圈;所述钢球驱动机构包括摩擦轮,摩擦轮位于检测腔的下方,摩擦轮的外围周圈开设有用于承托待检测钢球的凹槽,摩擦轮转动带动待检测钢球滚动,凹槽上开设有与待检测钢球相适配的出球口。

2.根据权利要求1所述的一种周向涡流阵列钢球表面质量检测装置,其特征在于,所述检测腔的外围周圈设置有多个用于放置检测线圈的线圈安放仓,一个线圈安放仓内对应放置一个检测线圈,所有检测线圈配合形成能够覆盖半个待检测钢球的检测区域。

3.根据权利要求2所述的一种周向涡流阵列钢球表面质量检测装置,其特征在于,各所述线圈安放仓均与待检测钢球相切,且与各线圈安放仓相垂直的垂直面均过待检测钢球的球心。

4.根据权利要求3所述的一种周向涡流阵列钢球表面质量检测装置,其特征在于,相邻两个所述检测线圈的圆心与待检测钢球的球心连线的夹角小于30°,且相邻两个检测线圈在待检测钢球表面的扫描区域不重复。

5.根据权利要求2所述的一种周向涡流阵列钢球表面质量检测装置,其特征在于,所有所述检测线圈配合形成一个半球,该半球的直径与被检测钢球的直径之差大于0.8mm、小于

2mm。

6.根据权利要求1所述的一种周向涡流阵列钢球表面质量检测装置,其特征在于,所述凹槽的截面呈V型,所述钢球驱动机构还包括带动摩擦轮旋转的驱动电机,驱动电机设置在机架的一侧,驱动电机与上述控制系统相连。

7.根据权利要求1至6任一项权利要求所述的一种周向涡流阵列钢球表面质量检测装置,其特征在于,所述机架上还设置有钢球压持机构,钢球压持机构包括压杆和支撑轴承,压杆的一端与机架相铰接、另一端设置有压球轴承,压杆设置有压球轴承的一端伸入进球仓内,待检测钢球落入检测腔后,压球轴承在压杆的带动下落至待检测钢球的斜上方形成对待检测钢球的压持,所述检测腔未放置线圈安放仓的一侧开设有轴承仓,支撑轴承安装在轴承仓内,待检测钢球落入检测腔后,支承轴承形成对待检测钢球的横向支撑力。

8.根据权利要求7所述的一种周向涡流阵列钢球表面质量检测装置,其特征在于,所述压杆通过压球轴承作用在待检测钢球上的力分解为水平分力与竖直分力,水平分力与上述横向支撑力大小相等、方向相反。

9.根据权利要求7所述的一种周向涡流阵列钢球表面质量检测装置,其特征在于,所述钢球压持机构还包括压紧弹簧,压紧弹簧位于压杆的下方,压紧弹簧的一端与压杆的中部相连、另一端与机架相连。

10.根据权利要求7所述的一种周向涡流阵列钢球表面质量检测装置,其特征在于,所述机架上还设置有用于检测压杆位置的光电开关传感器,光电开关传感器与上述控制系统相连。