欢迎来到知嘟嘟! 联系电话:13336804447 卖家免费入驻,海量在线求购! 卖家免费入驻,海量在线求购!
知嘟嘟
我要发布
联系电话:13336804447
知嘟嘟经纪人
收藏
专利号: 2016101417622
申请人: 浙江工业大学
专利类型:发明专利
专利状态:已下证
专利领域: 测量;测试
更新日期:2023-08-24
缴费截止日期: 暂无
价格&联系人
年费信息
委托购买

摘要:

权利要求书:

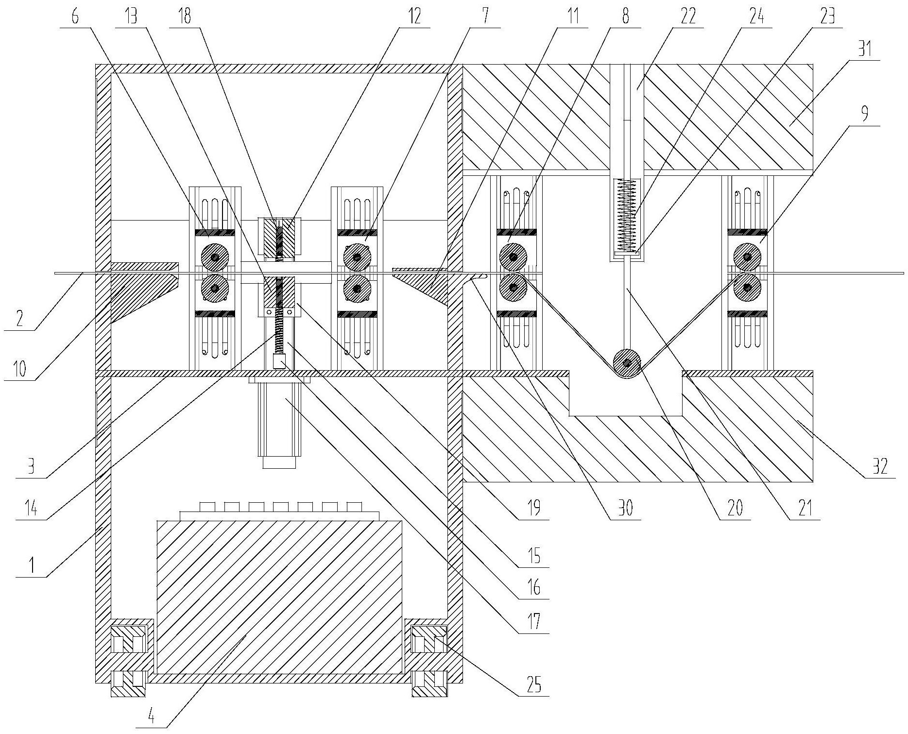
1.一种能够连续在线检测钢带厚度的装置,其特征在于:包括箱式外壳(1)、支撑板(3)、充电电池(4)、压平装置、一对超声波距离传感器(5)、四对传动滚轮组、钢带缓冲装置和压力检测装置,所述支撑板(3)水平设置,支撑板(3)的一部分固定在箱式外壳(1)内部,另外一部分伸出于所述箱式外壳(1)的一侧,所述充电电池(4)固定在箱式外壳(1)的底板上并为整个装置提供动力,四对传动滚轮组分别位第一传动滚轮组(6)、第二传动滚轮组(7)、第三传动滚轮组(8)和第四传动滚轮组(9),第一传动滚轮组(6)和第二传动滚轮组(7)固定在箱式外壳(1)内部的支撑板(3)上,第三传动滚轮组(8)和第四传动滚轮组(9)固定在箱式外壳(1)外部的支撑板(3)上;所述箱式外壳(1)内部沿钢带(2)水平运动方向依次设有左限位块(10)、第一传动滚轮组(6)、压平装置、第二传动滚轮组(7)和右限位块(11),所述箱式外壳(1)外部沿钢带(2)水平运动方向依次设置第三传动滚轮组(8)、钢带缓冲装置和第四传动滚轮组(9);所述左限位块(10)固定在箱式外壳(1)的一侧壁上,该侧壁上设有与所述左限位块(10)相配合的钢带入口,所述右限位块(11)固定在箱式外壳(1)的另一侧壁上,该侧壁上设有与所述右限位块(11)相配合的钢带出口,左限位块(10)和右限位块(11)上均设有用于进出钢带(2)的限位方孔;所述压平装置包括上压块(12)、下压块(13)、滚珠丝杠(14)、压块导轨(15)、联轴器(16)和驱动电机(17),所述驱动电机(17)固定在所述支撑板(3)底部,所述驱动电机(17)的电机头穿过所述支撑板(3)并通过联轴器(16)连接滚珠丝杠(14),上压块(12)和下压块(13)上分别设有与所述滚珠丝杠(14)相配合的螺纹孔,上压块(12)和下压块(13)还分别固定连接与压块导轨(15)相配合的压紧滑块(19),所述上压块(12)和下压块(13)在所述滚珠丝杠(14)和压块导轨(15)的共同作用下对钢带(2)进行压紧和分离;所述压力检测装置包括分别位于上压块(12)和下压块(13)上的两个压力传感器(18),两个压力传感器(18)的探头分别位于上压块(12)和下压块(13)与钢带(2)相接触的压紧面上;一对超声波距离传感器(5)分别内嵌在上压块(12)和下压块(13)内,两个超声波距离传感器(5)的探头正对钢带(2);所述钢带缓冲装置包括下压滚轮(20)、下压杆(21)、固定块(22)、限位支座(23)和复位弹簧(24),下压滚轮(20)固定在下压杆(21)的底部,下压滚轮(20)设置在钢带(2)的正上方,限位支座(23)倒置安装在箱式外壳(1)外部,限位支座(23)内部设有与所述下压杆(21)相配合的竖直的通孔,下压杆(21)套装在所述限位支座(23)内并沿竖直方向运动,固定块(22)固定在所述下压杆(21)中部,复位弹簧(24)套装在固定块(22)与限位支座(23)之间的下压杆(21)上,复位弹簧(24)初始状态时钢带(2)处于压弯状态。

2.根据权利要求1所述的一种能够连续在线检测钢带厚度的装置,其特征在于:还包括无线传输装置和控制模块,控制模块与驱动电机(17)、压力传感器(18)、超声波距离传感器(5)和无线传输装置电连接;超声波距离传感器(5)测得的数据传输给控制模块,控制模块通过无线传输装置将该数据传输给数据总控中心。

3.根据权利要求1所述的一种能够连续在线检测钢带厚度的装置,其特征在于:所述箱式外壳(1)的底部设有四个行走轮(25)。

4.根据权利要求1所述的一种能够连续在线检测钢带厚度的装置,其特征在于:两个压力传感器(18)分别内嵌在上压块(12)和下压块(13)的压紧面内,两个压力传感器(18)的探头伸出压紧面外。

5.根据权利要求1所述的一种能够连续在线检测钢带厚度的装置,其特征在于:所述驱动电机(17)为220V交流电机,充电电池(4)为12V蓄电池,充电电池(4)通过逆变器连接所述驱动电机(17)。

6.根据权利要求1所述的一种能够连续在线检测钢带厚度的装置,其特征在于:每对所述传动滚轮组均包括上滚轮(26)、下滚轮(27)、滚轮滑块(28)和滚轮导轨(29),上滚轮(26)和下滚轮(27)分别固定在一个滚轮滑块(28)上,滚轮导轨(29)设有左右对称的一对,滚轮导轨(29)上设有沿竖直方向设置的槽孔,滚轮滑块(28)的两端通过螺栓固定在两个滚轮导轨(29)的槽孔上,滚轮滑块(28)的高度通过调整螺栓的固定位置进行调整。

7.根据权利要求1所述的一种能够连续在线检测钢带厚度的装置,其特征在于:所述箱式外壳(1)的进料口处设有与所述进料口底部平行设置的凸台(30)。

8.根据权利要求1所述的一种能够连续在线检测钢带厚度的装置,其特征在于:所述箱式外壳(1)还设有上固定座(31)和下固定座(32),支撑板(3)伸出于所述箱式外壳(1)外侧的部分固定在下固定座(32)上,限位支座(23)固定在上固定座(31)上。