欢迎来到知嘟嘟! 联系电话:13336804447 卖家免费入驻,海量在线求购! 卖家免费入驻,海量在线求购!
知嘟嘟
我要发布
联系电话:13336804447
知嘟嘟经纪人
收藏
专利号: 2016101049705
申请人: 杭州电子科技大学
专利类型:发明专利
专利状态:已下证
专利领域: 机床;其他类目中不包括的金属加工
更新日期:2023-08-24
缴费截止日期: 暂无
价格&联系人
年费信息
委托购买

摘要:

权利要求书:

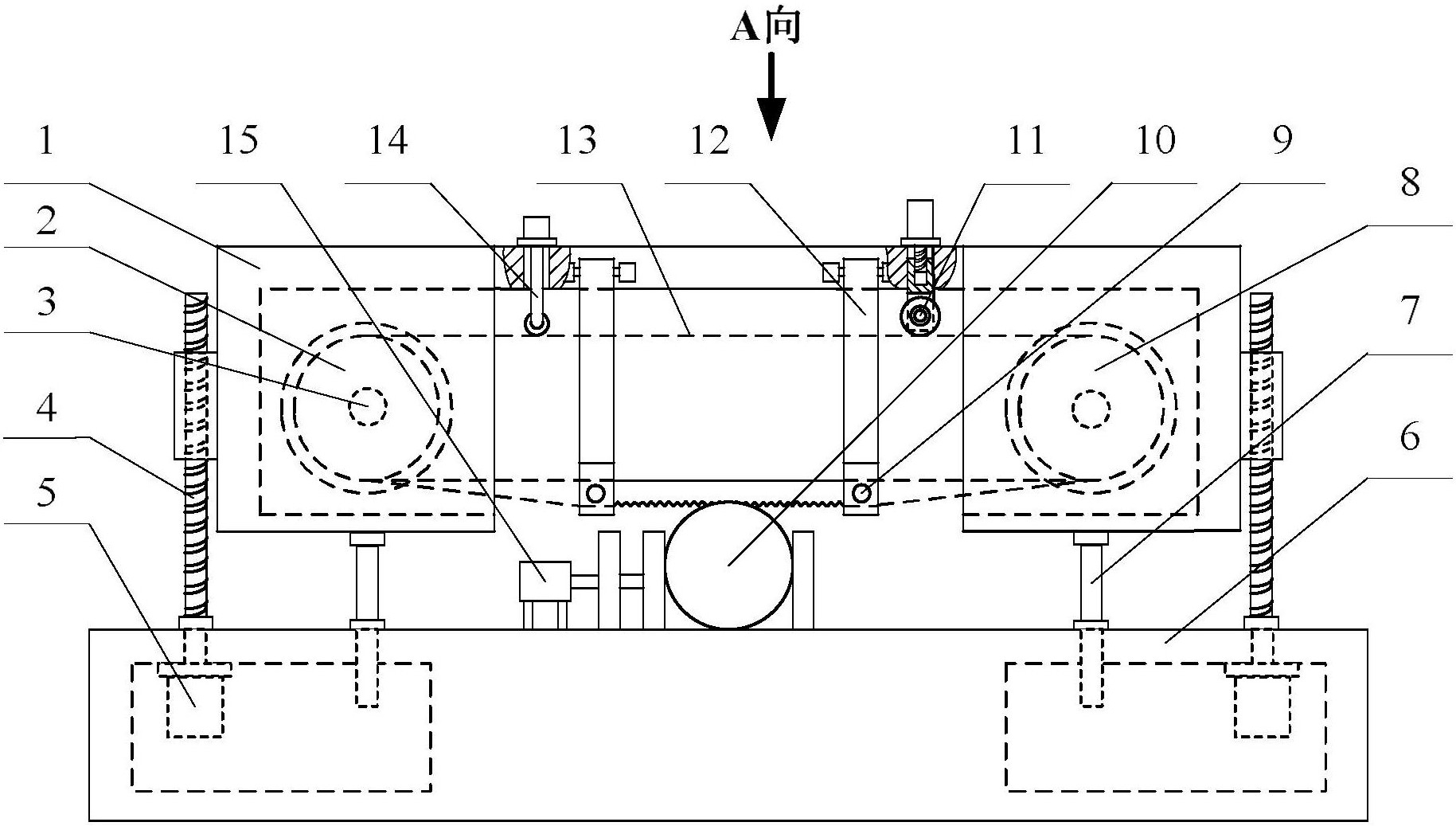
1.带消振与纠偏控制装置的数控带锯床,包括锯架、主动锯带轮、主运动伺服电机、进给机构、进给伺服电机、床身、进给导向柱、从动锯带轮、电涡流位移传感器、张紧机构、纠偏装置、锯带、消振装置和夹紧机构,其特征在于:所述的夹紧机构将工件夹紧在床身的工作台上;所述的锯架上安装有主动锯带轮和从动锯带轮;所述的锯带连接主动锯带轮和从动锯带轮,并由张紧机构张紧;所述的主运动伺服电机驱动主动锯带轮;所述的进给伺服电机驱动进给机构,进给机构带动锯架产生进给运动;锯架与进给导向柱构成滑动副;两个纠偏装置上均设置电涡流位移传感器检测锯带锯切部分两端的位移,并输入到控制模块计算锯带的振动值和锯切误差;所述的张紧机构、纠偏装置和消振装置均由控制模块控制;所述的纠偏装置由纠偏伺服电机、第一丝杆螺母机构、导向块、摆杆和销轴组成;所述的纠偏伺服电机安装在锯架上,并驱动第一丝杆螺母机构;所述的导向块固定在第一丝杆螺母机构的螺母上;摆杆的一端与导向块固定,另一端通过销轴与锯架铰接;锯带嵌入导向块开设的导向槽内。

2.根据权利要求1所述的带消振与纠偏控制装置的数控带锯床,其特征在于:所述的导向块与摆杆连接处以及导向块与第一丝杆螺母机构的螺母连接处均焊有加强筋。

3.根据权利要求1所述的带消振与纠偏控制装置的数控带锯床,其特征在于:所述的张紧机构由张紧伺服电机、第二丝杆螺母机构和压紧滚轮组成;所述的张紧伺服电机驱动第二丝杆螺母机构;所述的压紧滚轮铰接在第二丝杆螺母机构的螺母上,并与锯带接触。

4.根据权利要求1所述的带消振与纠偏控制装置的数控带锯床,其特征在于:所述的消振装置由超声波控制器和超声波换能装置组成;超声波控制器通过电涡流位移传感器检测的锯带振动情况,产生相应的超声脉冲信号,控制超声波换能装置作用在锯带上。

5.根据权利要求1所述的带消振与纠偏控制装置的数控带锯床,其特征在于:所述的主运动伺服电机和进给伺服电机均配置有电机控制器和光电速度检测装置;所述的控制模块包括参数优化控制器、纠偏控制器和张紧控制器;参数优化控制器优化运行和控制参数,纠偏控制器控制纠偏装置,张紧控制器控制张紧机构。

我要求购
我不想找了,帮我找吧
您有专利需要变现?
我要出售
智能匹配需求,快速出售