欢迎来到知嘟嘟! 联系电话:13336804447 卖家免费入驻,海量在线求购! 卖家免费入驻,海量在线求购!
知嘟嘟
我要发布
联系电话:13336804447
知嘟嘟经纪人
收藏
专利号: 2015109340874
申请人: 中国矿业大学
专利类型:发明专利
专利状态:已下证
专利领域: 卷扬;提升;牵引
更新日期:2024-01-05
缴费截止日期: 暂无
价格&联系人
年费信息
委托购买

摘要:

权利要求书:

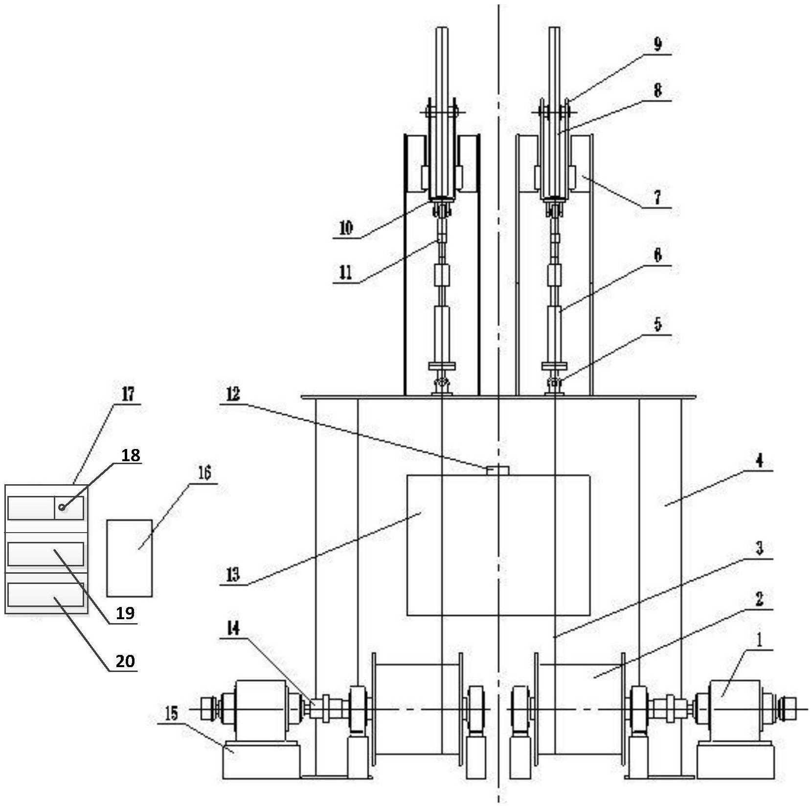
1.一种超深矿井提升机多绳协同控制系统试验台,其特征是:控制系统试验台包括:

四个液压马达(1)及对应的四个滚筒(2)和四根钢丝绳(3),一套钢结构支架(4),四个铰链(5),四个伺服液压缸(6),四个直线导轨(7),四个天轮(8),四个天轮支架(9),四个压力传感器(10),四个拉力传感器(11),一个螺旋仪(12),一个罐笼(13),四个联轴器(14),马达底座(15),一个油泵(16);

所述液压马达(1)通过联轴器(14)与滚筒(2)连接,滚筒(2)上有钢丝绳(3),钢丝绳(3)与罐笼(13)连接;拉力传感器(11)放置到钢丝绳(3)上,检测钢丝绳(3)拉力,并反馈信号;伺服液压缸(6)固定到铰链(5)上,上端与天轮支架(9)连接,天轮支架(9)上连接有天轮(8);天轮支架(9)固定在直线导轨(7)上,铰链(5)和直线导轨(7)连接在钢结构支架(4)上,伺服液压缸(6)通过天轮支架(9)带动天轮(8)上下运动;拉力传感器(11)放置到钢丝绳(3)上,检测钢丝绳(3)拉力,压力传感器(10)放置到天轮支架(6)上,检测天轮(8)受到的压力,并反馈信号至下位机(18);螺旋仪(12)固定到罐笼(13)上方,检测罐笼(13)是否水平,并反馈信号至下位机(18),罐笼(13)位于钢结构支架(4)内。

2.根据权利要求1所述的一种超深矿井提升机多绳协同控制系统试验台,其特征是:

所述的罐笼(13)采用四绳拖拽方式,用于提升较重货物,布置形式遵循实际工况。

3.根据权利要求1所述的一种超深矿井提升机多绳协同控制系统试验台,其特征是:

所述的控制器包括:控制柜(17),下位机(18)、调理箱(19)和移动电源模块(20);下位机(18)、调理箱(19)和移动电源模块(20)均安装在控制柜(17)内,油泵(16)位于控制柜(17)一侧;上位机与下位机(18)通过以太网进行数据传送,控制信号和反馈信号通过调理箱(19)传给下位机或者执行机构。