欢迎来到知嘟嘟! 联系电话:13336804447 卖家免费入驻,海量在线求购! 卖家免费入驻,海量在线求购!
知嘟嘟
我要发布
联系电话:13336804447
知嘟嘟经纪人
收藏
专利号: 201510712584X
申请人: 中国矿业大学
专利类型:发明专利
专利状态:已下证
专利领域: 卷扬;提升;牵引
更新日期:2024-01-05
缴费截止日期: 暂无
价格&联系人
年费信息
委托购买

摘要:

权利要求书:

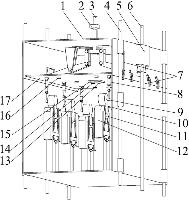
1.一种立井提升机断绳坠罐事故脱罐式矿工安全保护装置,其特征在于:它包括锁罐脱罐装置(7)、顶板(17)、液压缸(8)、电磁比例溢流阀(16)、卷收器(9)、安全绳(10)、安全带(11)、位移传感器(13)、速度传感器(14)、钢丝绳张力传感器(2)和信号处理器(15);所述锁罐脱罐装置(7)对称布置在罐笼(1)的两侧面上,所述顶板(17)设在罐笼(1)内的顶部,所述的液压缸(8)设在顶板(17)上,所述电磁比例溢流阀(16)连接在液压缸(8)上,所述卷收器(9)的缓冲带(9-1)上部与液压缸(8)的活塞杆相连,下部与安全绳(10)的一端连接,安全绳(10)的另一端与安全带(11)相连,所述位移传感器(13)、速度传感器(14)和信号处理器(15)安装在顶板(17)上,所述钢丝绳张力传感器(2)安装在主提升绳(3)的底部,所述位移传感器(13)、速度传感器(14)、钢丝绳张力传感器(2)、锁罐脱罐装置(7)和电磁比例溢流阀(16)分别与信号处理器(15)相连。

2.根据权利要求1所述的立井提升机断绳坠罐事故脱罐式矿工安全保护装置,其特征在于:所述的锁罐脱罐装置(7)包括水平伸缩器(7-1)、长摆杆(7-2)、销轴(7-3)、以及多套沿上部罐笼(1-1)与下部罐笼(1-2)结合缝平行布置的斜向伸缩器(7-4)、半圆形卡槽(7-5)、滚动轴承(7-6)和支座(7-7);所述半圆形卡槽(7-5)设在靠近上部罐笼(1-1)的下底边,半圆形卡槽(7-5)上设有向下倾斜的过渡弧;所述斜向伸缩器(7-4)的伸缩臂上设有可与半圆形卡槽(7-5)拼接成圆环的弧形块,所述销轴(7-3)安装在上部罐笼(1-1)上,且靠近半圆形卡槽(7-5),所述长摆杆(7-2)安装在销轴(7-3)上,长摆杆(7-2)的另一端设有水平伸缩器(7-1),所述支座(7-7)安装在靠近下部罐笼(1-2)的上顶边,支座(7-7)上安装有滚动轴承(7-6),所述半圆形卡槽(7-5)、斜向伸缩器(7-4)的伸缩臂弧形块、滚动轴承(7-6)的外径相同。

3.根据权利要求1所述的立井提升机断绳坠罐事故脱罐式矿工安全保护装置,其特征在于:所述的液压缸(8)、电磁比例溢流阀(16)和卷收器(9)成套安装,其数量与安装在顶板(17)下方的位置依据罐笼(1)中容纳矿工(12)的数量和站立的位置确定。

4.根据权利要求1所述的立井提升机断绳坠罐事故脱罐式矿工安全保护装置,其特征在于:所述的卷收器(9)为摆锤式卷收器,摆锤式卷收器包括卷轴(9-2)、设在卷轴(9-2)端面上的平面涡卷弹簧(9-3),卷轴(9-2)和平面涡卷弹簧(9-3)同轴安装,卷轴(9-2)上缠绕有缓冲带(9-1),卷轴(9-2)的两端面设有棘轮,卷轴(9-2)的侧面沿竖直方向设有与棘轮相配合的棘爪(9-6),棘爪(9-6)经摆杆(9-5)连接有加重摆锤(9-4),加重摆锤(9-4)在惯性作用下向下摆动,带动摆杆(9-5)和棘爪(9-6)摆动,棘爪(9-6)卡住卷轴(9-2)的棘轮进行止锁。

5.根据权利要求1所述的立井提升机断绳坠罐事故脱罐式矿工安全保护装置,其特征在于:所述的液压缸(8)为单作用缸,与液压缸(8)相连的电磁比例溢流阀(16)为内控内泄式溢流阀。

6.根据权利要求1所述的立井提升机断绳坠罐事故脱罐式矿工安全保护装置,其特征在于:所述的安全带(11)采用全身式安全带,全身式安全带包括肩带和腿带,肩带和腿带之间连接有矿工用的腰带,肩带的背部经伸缩卡扣与安全绳(10)相连接。

7.一种使用权利要求1-6所述装置的立井提升机断绳坠罐事故脱罐式矿工安全保护方法,其特征在于包括如下步骤:

a、将锁罐脱罐装置(7)安装在罐笼(1)的两侧面,下部罐笼(1-2)的滚动轴承(7-6)嵌入上部罐笼(1-1)的半圆形卡槽(7-5)中,斜向伸缩器(7-4)伸出,斜向伸缩器(7-4)的伸缩臂和半圆形卡槽(7-5)共同夹持滚动轴承(7-6),使上部罐笼(1-1)与下部罐笼(1-2)紧密啮合,并锁在一起,以抵御罐笼(1)在工作过程中的水平和垂直方向的冲击;

b、将顶板(17)安装在罐笼(1)内壁上方,将液压缸(8)铰接安装在顶板(17)的下方,并与电磁比例溢流阀(16)相连接,将卷收器(9)的缓冲带(9-1)连接到液压缸(8)的活塞杆上,并将位移传感器(13)、速度传感器(14)和信号处理器(15)安装在顶板(17)的下方,将钢丝绳张力传感器(2)安装在主提升绳(3)的底端,经导线将位移传感器(13)、速度传感器(14)、钢丝绳张力传感器(2)、锁罐脱罐装置(7)和电磁比例溢流阀(16)与信号处理器(15)相连接;

c、矿工(12)穿戴好安全带(11)进入罐笼(1)内后,将矿工(12)背部的安全绳(10)连接到卷收器(9)下部尾端,随后按相应的液压缸(8)中轴线正下方站立,在卷收器(9)的平面涡卷弹簧(9-3)的卷收力作用下,缓冲带(9-1)、安全绳(10)、安全带(11)被收紧;

d、信号处理器(15)通过位移传感器(13)和速度传感器(14)分别采集罐笼(1)在井道中的高度H和运行速度V,通过钢丝绳张力传感器(2)检测主提升绳(3)的张力F;

e、罐笼(1)下放时,当检测到主提升绳(3)的张力F瞬时减少到几乎为零,则判定发生断绳坠罐事故,此时信号处理器(15)持续记录罐笼(1)的坠罐高度H′和坠罐速度V′;

当检测到罐笼(1)坠罐速度V′逐步减少,则判定为自主制停坠罐事故,罐笼(1)沿罐道绳(4)减速下滑,制动钳(5)和制动绳(6)开始制动,最终罐笼(1)在制动钳(5)和制动绳(6)的共同作用下制停,锁止在制动绳(6)上,在此过程中:罐笼(1)的制动减速度小,锁罐脱罐装置(7)不脱罐,卷收器(9)的加重摆锤(9-4)由于惯性向下摆动,带动摆杆(9-5)和棘爪(9-6)摆动,棘爪(9-6)卡住卷轴(9-2)的棘轮,使卷收器(9)处于锁止状态,缓冲带(9-1)不能继续从卷收器(9)抽出,低速下冲的矿工(12)在安全带(11)的作用下,安全绳(10)、缓冲带(9-1)拉动液压缸(8)活塞杆,这时由于液压缸(8)有杆腔油压达不到电磁比例溢流阀(16)的溢流压力,因而液压缸(8)活塞杆不会被拉出,从而使矿工(12)始终保持稳定的站立姿态,有效防止自主制停坠罐造成矿工的碰伤和摔伤;

当检测到罐笼(1)的坠罐速度V′逐步增大,则判定为不可自主制停坠罐事故,制动钳(5)和制动绳(6)设备因罐笼重量大和惯性冲击因素难以实施有效制停,此时罐笼(1)沿罐道绳(4)开始加速下滑,当判定罐笼(1)坠罐速度V′的增长趋势没有逆转,且超出罐笼可允许的极限下坠速度,即超出罐笼匀速段速度的1.5倍时,启动脱罐逃逸流程,在此过程中:信号处理器(15)依据此时罐笼(1)的坠罐速度V′和坠罐高度H′,参考矿工(12)安全缓冲最大减速度a,计算得出液压缸(8)需要提供的制动油压P,即电磁比例溢流阀的溢流油压:P=m×a/s

其中,m为矿工(12)的预设体重,s为液压缸(8)小腔的油压作用面积,

通过信号处理器(15)调定电磁比例溢流阀(16)的溢流油压,锁罐脱罐装置(7)启动脱罐,首先,斜向伸缩器(7-4)的伸缩臂收回,然后,水平伸缩器(7-1)的伸缩臂伸出,推动长摆杆(7-2)以销轴(7-3)为轴心摆动,进而推动滚动轴承(7-6)沿水平方向从半圆形卡槽(7-5)中脱出,并沿其过渡弧逐步脱离上部罐笼(1-1),由于过渡弧向下倾斜,下部罐笼(1-2)的重力会自主加剧滚动轴承(7-6)沿过渡弧的脱离,促使多个滚动轴承(7-6)同步脱离,使上部罐笼(1-1)与下部罐笼(1-2)平稳脱离,下部罐笼(1-2)在自重的作用下,沿罐道绳(4)坠落到井底,上部罐笼(1-1)由于负重的极大减小,制动钳(5)和制动绳(6)能够提供充分的制动力,从而逐渐减速直到锁止在制动绳(6)上,同时卷收器(9)的加重摆锤(9-4)由于惯性向下摆动,带动摆杆(9-5)和棘爪(9-6)摆动,棘爪(9-6)卡住卷轴(9-2)的棘轮,使卷收器(9)处于锁止状态,缓冲带(9-1)不能继续从卷收器(9)抽出,矿工(12)在安全带(11)的作用下,安全绳(10)、缓冲带(9-1)拉动液压缸(8)活塞杆,此时液压缸(8)有杆腔油压超过电磁比例溢流阀(16)的溢流压力,开始背压泄油,液压缸(8)活塞杆在提供制动力的前提下缓速拉出,使液压缸(8)活塞杆沿缓冲带(9-1)、安全绳(10)、安全带(11)拉拽矿工(12),既有对矿工(12)的制动力,又有缓冲距离,保证矿工(12)可靠悬挂在上部罐笼(1-1)的顶板(17)下方,从而有效降低脱罐制停过程对矿工(12)产生冲击,并将冲击载荷分散至矿工(12)的肩部、裆部,减少对矿工(12)胸腹腔脏器以及脊椎脆弱部位的冲击,有效保护矿工(12)的生命安全。