欢迎来到知嘟嘟! 联系电话:13336804447 卖家免费入驻,海量在线求购! 卖家免费入驻,海量在线求购!
知嘟嘟
我要发布
联系电话:13336804447
知嘟嘟经纪人
收藏
专利号: 2015101860086
申请人: 珠海磐磊智能科技有限公司
专利类型:发明专利
专利状态:已下证
专利领域: 飞行器;航空;宇宙航行
更新日期:2024-04-28
缴费截止日期: 暂无
价格&联系人
年费信息
委托购买

摘要:

权利要求书:

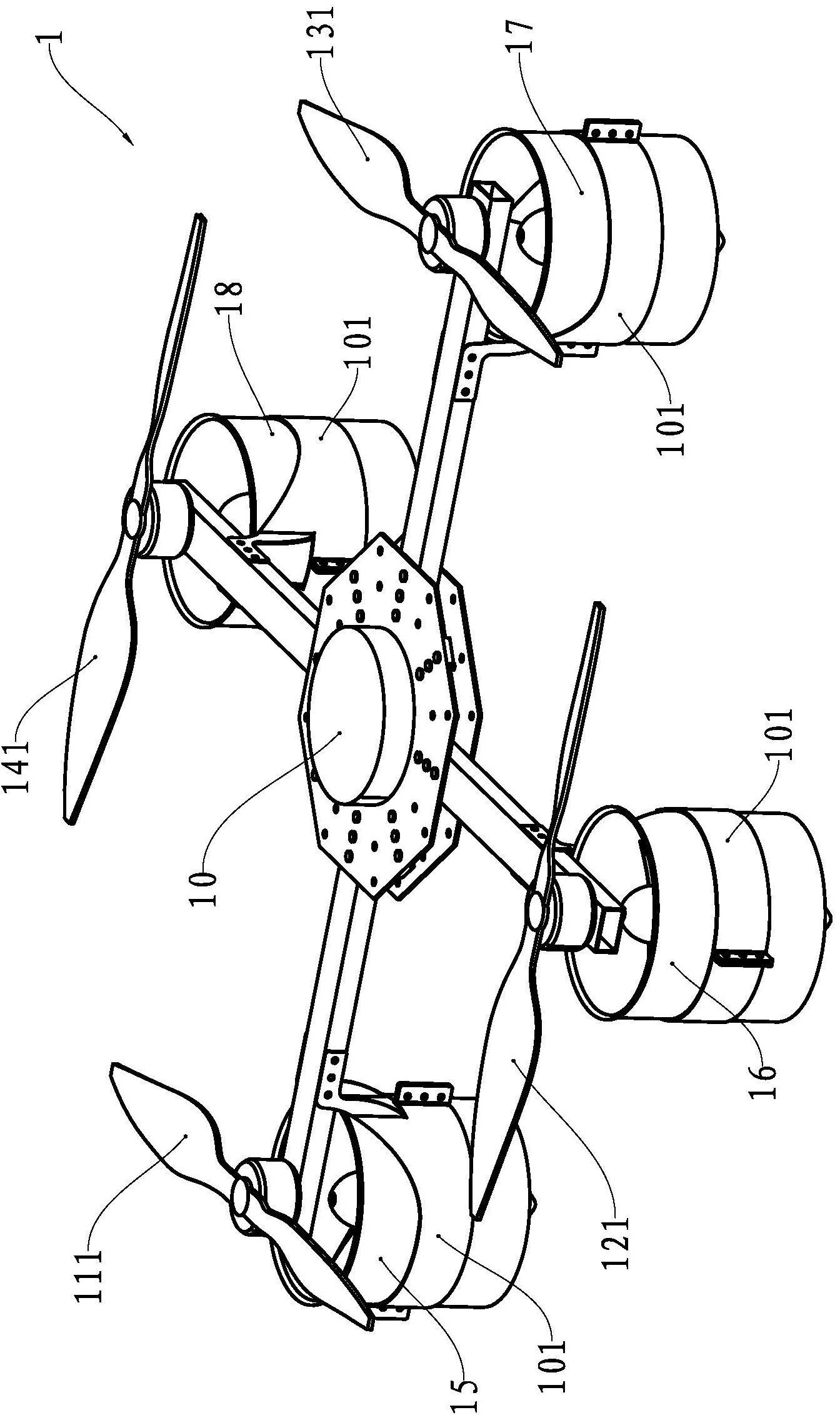
1.多旋翼飞行器,包括机架及安装于所述机架上的两个以上的旋翼系统;

所述旋翼系统包括主旋翼单元及副旋翼单元,所述主旋翼单元包括主旋翼,所述副旋翼单元包括副旋翼;

其特征在于:

所述副旋翼的桨径小于所述主旋翼的桨径;

所述主旋翼与所述副旋翼共轴线布置;

所述副旋翼单元为涵道风扇。

2.根据权利要求1所述多旋翼飞行器,其特征在于:所述副旋翼的桨径与所述主旋翼的桨径之比为0.15至0.4。

3.根据权利要求2所述多旋翼飞行器,其特征在于:所述主旋翼的转向与所述副旋翼的转向相反。

4.根据权利要求1所述多旋翼飞行器,其特征在于:所述主旋翼的转向与所述副旋翼的转向相反。

5.根据权利要求1至4任一项所述多旋翼飞行器,其特征在于:所述旋翼系统的数量为4个以上且为偶数。

6.根据权利要求5所述多旋翼飞行器,其特征在于:所述旋翼系统的数量为4个;

所述机架包括4根悬臂,4根所述悬臂构成一十字型结构,4个所述旋翼系统对应地固定于4根所述悬臂的自由端上。

7.根据权利要求1至4任一项所述多旋翼飞行器,其特征在于:所述主旋翼的桨叶的桨距角小于所述副旋翼的桨叶的桨距角。

8.根据权利要求1至4任一项所述多旋翼飞行器,其特征在于:所述副旋翼与所述主旋翼的桨叶数量均为三片。

9.根据权利要求1至4任一项所述多旋翼飞行器,其特征在于:所述涵道风扇位于所述主旋翼的下方。

我要求购
我不想找了,帮我找吧
您有专利需要变现?
我要出售
智能匹配需求,快速出售