欢迎来到知嘟嘟! 联系电话:13336804447 卖家免费入驻,海量在线求购! 卖家免费入驻,海量在线求购!
知嘟嘟
我要发布
联系电话:13336804447
知嘟嘟经纪人
收藏
专利号: 2015101418508
申请人: 江南大学
专利类型:发明专利
专利状态:已下证
专利领域: 天然或人造的线或纤维;纺纱或纺丝
更新日期:2023-10-11
缴费截止日期: 暂无
价格&联系人
年费信息
委托购买

摘要:

权利要求书:

1.一种五组份异同步牵伸调控纱线线密度及混纺比的方法,其特征在于,其具体包括:

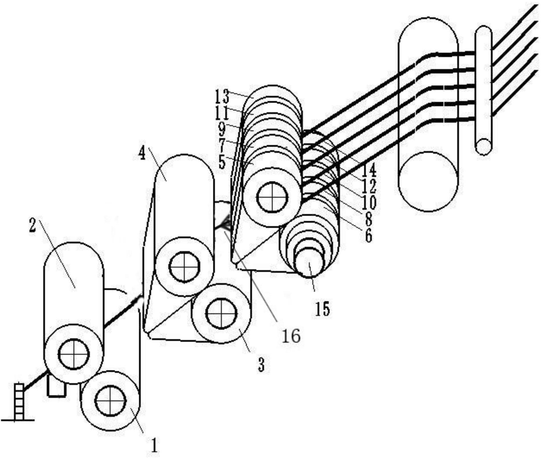
1)牵伸和加捻系统包括前后设置的一级牵伸单元和二级牵伸单元;

2)所述一级牵伸单元包括组合后罗拉、中罗拉;组合后罗拉具有五个转动自由度,其包括同一根后罗拉轴上并排设置的第一后罗拉、第二后罗拉、第三后罗拉、第四后罗拉和第五后罗拉;第一后罗拉、第二后罗拉、第三后罗拉、第四后罗拉和第五后罗拉分别以速度Vh1、Vh2、Vh3、Vh4和Vh5运动;中罗拉以速度Vz的速度转动;所述二级同步牵伸单元包括前罗拉和所述中罗拉;前罗拉以表面线速度Vq转动;

设第一后罗拉、第二后罗拉、第三后罗拉、第四后罗拉和第五后罗拉所牵伸的第一组份粗纱、第二组份粗纱、第三组份粗纱、第四组份粗纱和第五组份粗纱的线密度分别为ρ1、ρ2、ρ3、ρ4和ρ5,前罗拉牵伸加捻后得到的纱线Y的线密度为ρy,

3)根据设定混纺比和/或线密度,将所述纱线Y分为n段,每段纱线Y的线密度和混纺比相同,而相邻两段的线密度或混纺比不同;牵伸第i段纱线Y时,第一后罗拉、第二后罗拉、第三后罗拉、第四后罗拉和第五后罗拉的线速度分别为Vh1i、Vh2i、Vh3i、Vh4i和Vh5i,其中i∈(1,2,…,n);所述第一组份粗纱、第二组份粗纱、第三组份粗纱、第四组份粗纱和第五组份粗纱经两级牵伸和加捻形成的第i段纱线Y后,其混纺比k1i、k2i、k3i、k4i和k5i可表达如下:第i段纱线Y的线密度为:

其中, 为二级牵伸比;

4)设将n段纱线Y中线密度最小的一段定义为基准线段,该段的基准线密度为ρ0,以及该段的第一后罗拉、第二后罗拉、第三后罗拉、第四后罗拉和第五后罗拉的基准线速度分别为Vh10、Vh20、Vh30、Vh40和Vh50;该段的第一组份粗纱、第二组份粗纱、第三组份粗纱、第四组份粗纱和第五组份粗纱的基准混纺比分别为k10、k20、k30、k40和k50,保持所述中罗拉的线速度恒定,

且Vz=Vh10+Vh20+Vh30+Vh40+Vh50 (8);

同时,令二级牵伸比 恒定;

其中,第一后罗拉、第二后罗拉、第三后罗拉、第四后罗拉和第五后罗拉的基准线速度Vh10、Vh20、Vh30、Vh40和Vh50根据第一组份粗纱、第二组份粗纱、第三组份粗纱、第四组份粗纱和第五组份粗纱的材质、基准线密度ρ0以及基准混纺比k10、k20、k30、k40和k50提前设定;

5)牵伸混纺第i段纱线Y时,在已知第i段的设定线密度ρyi和设定混纺比k1i、k2i、k3i、k4i和k5i前提下,根据公式(2)-(8)计算出所述第一后罗拉、第二后罗拉、第三后罗拉、第四后罗拉和第五后罗拉的线速度Vh1i、Vh2i、Vh3i、Vh4i和Vh5i;

6)在基准线段的基准线速度Vh10、Vh20、Vh30、Vh40和Vh50基础上,增减第一后罗拉、第二后罗拉、第三后罗拉、第四后罗拉和/或第五后罗拉的转速,实现第i段纱线Y的线密度或/和混纺比的在线动态调整。

2.如权利要求1所述调控纱线线密度及混纺比的方法,其特征在于,设ρ1=ρ2=ρ3=ρ4=ρ5=ρ,则公式(7)简化为:根据公式(2)-(6)和(8)-(9)计算出所述第一后罗拉、第二后罗拉和第三后罗拉的线速度Vh1i、Vh2i、Vh3i、Vh4i和Vh5i;在基准线速度Vh10、Vh20、Vh30、Vh40和Vh50的基础上,增减第一后罗拉、第二后罗拉、第三后罗拉、第四后罗拉和/或第五后罗拉的转速实现设定的第i段纱线Y线密度或/和混纺比。

3.如权利要求2所述调控纱线线密度及混纺比的方法,其特征在于,在纱线Y从第i-1段转换到第i段的瞬间,设纱线Y的线密度在基准线密度的基础上增加动态增量△ρyi,即粗细变化△ρyi;为此所述第一后罗拉、第二后罗拉、第三后罗拉、第四后罗拉和第五后罗拉的线速度分别在基准线速度的基础上发生相应增量,即(Vh10+Vh20+Vh30+Vh40+Vh50)→(Vh10+ΔVh1i+Vh20+ΔVh2i+Vh30+ΔVh3i+Vh40+ΔVh4i+Vh50+ΔVh5i)时,纱线Y线密度的增量为:则纱线Y的线密度ρyi可表达如下:

令ΔVi=ΔVh1i+ΔVh2i+ΔVh3i+ΔVh4i++ΔVh5i,则(10)变为:通过控制所述第一后罗拉、第二后罗拉、第三后罗拉、第四后罗拉和第五后罗拉的线速度增量之和ΔVi实现纱线Y的线密度变化。

4.如权利要求3所述调控纱线线密度及混纺比的方法,其特征在于,令ρ1=ρ2=ρ3=ρ4=ρ5=ρ,则在纱线Y从第i-1段转换到第i段的瞬间,纱线Y的混纺比,即公式(2)-(6)简化为:通过控制所述第一后罗拉、第二后罗拉、第三后罗拉、第四后罗拉和第五后罗拉的线速度增量实现纱线Y的混纺比的调整;

其中,

ΔVh1i=k1i*(VZ+ΔVi)-Vh10

ΔVh20=k2i*(VZ+ΔVi)-Vh20

ΔVh3i=k3i*(VZ+ΔVi)-Vh30

ΔVh4i=k4i*(VZ+ΔVi)-Vh40

ΔVh50=k5i*(VZ+ΔVi)-Vh50。

5.如权利要求4所述调控纱线线密度及混纺比的方法,其特征在于,令Vh1i*ρ1+Vh2i*ρ

2+Vh3i*ρ3+Vh4i*ρ4+Vh5i*ρ5=H,H为常数,则ΔVi恒为0,由此,实现所述纱线Y的混纺比调整的同时保证线密度不变。

6.如权利要求4所述调控纱线线密度及混纺比的方法,其特征在于,令ΔVh1i、ΔVh2i、ΔVh3i、ΔVh4i和ΔVh5i其中任意1-4个为零,其他不为零,则实现所述纱线Y中1-4种粗纱组份的变化,而其他粗纱组份不变化,调整后的混纺比为:其中,k,j∈(1,2,3,4,5),且k≠j。

7.如权利要求4所述调控纱线线密度及混纺比的方法,其特征在于,令ΔVh1i、ΔVh2i、ΔVh3i、ΔVh4i和ΔVh5i都不为零,则实现所述纱线Y中五种粗纱组份的变化。

8.如权利要求4所述调控纱线线密度及混纺比的方法,其特征在于,令Vh1i、Vh2i、Vh3i、Vh4i和Vh5i其中1-4个为零,而其它不为零,则实现在第i段纱线Y中1-4种粗纱组份的不连续。

9.实现上述方法的一种五组份异同步牵伸调控纱线线密度及混纺比的装置,其特征在于,其包括控制系统和执行机构,执行机构包括五组份分合式异同步二级牵伸机构、加捻机构和卷绕成型机构;所述二级牵伸机构包括一级牵伸单元和二级牵伸单元;所述一级牵伸单元包括组合后罗拉、中罗拉;组合后罗拉具有五个转动自由度,包括同一根后罗拉轴上并排设置的第一后罗拉、第二后罗拉、第三后罗拉、第四后罗拉和第五后罗拉;五个所述后罗拉依次相邻设置,其驱动机构设置在五个后罗拉的两侧;所述二级牵伸单元包括前罗拉和所述中罗拉。

10.如权利要求9所述装置,其特征在于,所述第三后罗拉固定设置在所述后罗拉轴上;其他四个后罗拉分别对称设置在第三后罗拉的两侧,五个后罗拉彼此能够独立转动;

所述第二后罗拉设置有与其驱动机构连接的第二轴套,第二轴套套装在所述后罗拉轴上,所述第一后罗拉可转动地套装在第二轴套上;所述第四后罗拉设置有与其驱动机构连接的第四轴套,第四轴套套装在后罗拉轴上,所述第五后罗拉可转动地套装在该轴套上。