欢迎来到知嘟嘟! 联系电话:13336804447 卖家免费入驻,海量在线求购! 卖家免费入驻,海量在线求购!
知嘟嘟
我要发布
联系电话:13336804447
知嘟嘟经纪人
收藏
专利号: 2014104827899
申请人: 中北大学
专利类型:发明专利
专利状态:已下证
专利领域: 一般的物理或化学的方法或装置
更新日期:2024-01-05
缴费截止日期: 暂无
价格&联系人
年费信息
委托购买

摘要:

权利要求书:

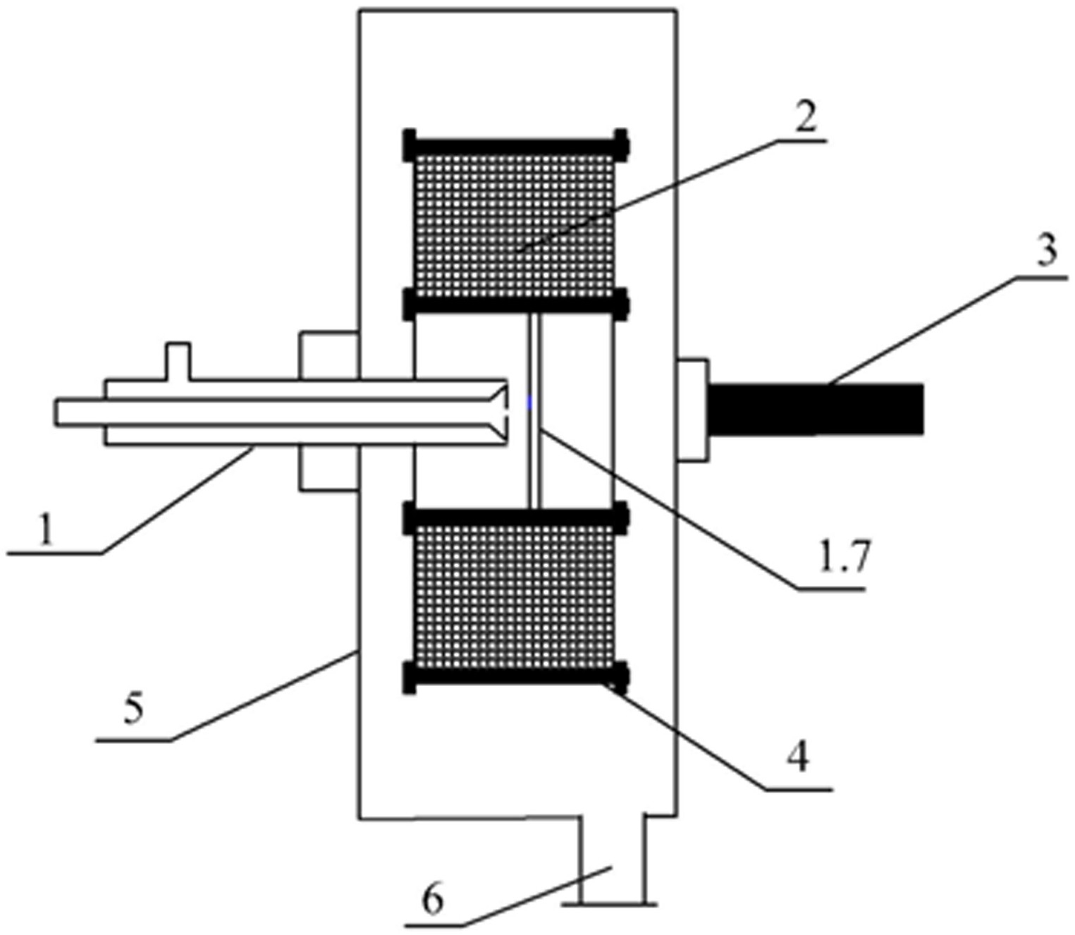
1.一种单反射- 环式喷嘴撞击流结构,其特征在于:包括管径不同的主进料管(1.3)和套管(1.4)以及挡板(1.7),套管(1.4)的管径大于主进料管(1.3)的管径,套管(1.4)套于主进料管(1.3)之外,主进料管(1.3)远离挡板(1.7)的一端设置主进料管进料口(1.1)、靠近挡板(1.7)的另一端设置扩口型主进料管喷嘴(1.5),主进料管喷嘴(1.5)端部中心开有出料孔,套管(1.4)对应主进料管进料口的一端也设置有套管进料口(1.2),套管对应主进料管喷嘴的另一端开口、套管开口端部与主进料管喷嘴端部形成环缝(1.6),出料孔与环缝设置于同一平面,挡板(1.7)相对于主进料管以及套管的轴线方向垂直设置,挡板中心位于主进料管以及套管的轴线上,量多的反应物料从主进料管进料,而量少的反应物料从套管进料。

2.根据权利要求1 所述的单反射- 环式喷嘴撞击流结构,其特征在于套管直径(d1)与主进料管直径(d2)的比值为1.5~20,套管长度(L1)与套管直径(d1)比值为10~50,主进料管长度(L2)大于套管长度(L1),主进料管出料孔到挡板的距离(d3)与主进料管出料孔直径(D2)之比为1~50,主进料管直径(d2)与出料孔直径(D2)比为1~50,套管直径(d1)与环缝宽度(D1)比值为1~100。

3.根据权利要求1 或2 所述的单反射- 环式喷嘴撞击流结构,其特征在于挡板(1.7)为圆形或方形,挡板(1.7)相对主进料管(1.3)和套管(1.4)可旋转设置或者与主进料管(1.3)和套管(1.4)连接,挡板(1.7)为向外凸起,挡板(1.7)表面粗糙。

4.一种旋转填料床装置,包括旋转填料床以及如权利要求3 所述的单反射- 环式喷嘴撞击流结构,旋转填料床包括填料(2)、转轴(3)、转子(4)、壳体(5)以及液体出口(6),其特征在于:所述的单反射- 环式喷嘴撞击流结构(1)设置于转子(4)的空腔内并沿转子轴线方向设置,主进料管喷嘴以及环缝(1.6)与挡板之间的中心线位于转子(4)空腔的中央,转子(4)位于壳体(5)的中部;填料(2)在转子空心圆环中;液体出口(6)在壳体(5)的底部;转轴(3)通过与电机相连带动转子(4)转动。

5.根据权利要求4 所述的旋转填料床装置,其特征在于转子内径(d4)与套管直径(d1)比为1~5。

6.根据权利要求4 所述的旋转填料床装置,其特征在于主进料管和套管的进料溶液体积比为1~15,反应物料的粘度为2~300mPa﹒S。