欢迎来到知嘟嘟! 联系电话:13336804447 卖家免费入驻,海量在线求购! 卖家免费入驻,海量在线求购!
知嘟嘟
我要发布
联系电话:13336804447
知嘟嘟经纪人
收藏
专利号: 2014104827884
申请人: 中北大学
专利类型:发明专利
专利状态:已下证
专利领域: 一般的物理或化学的方法或装置
更新日期:2024-01-05
缴费截止日期: 暂无
价格&联系人
年费信息
委托购买

摘要:

权利要求书:

1.一种三喷嘴撞击流结构,其特征在于:包括进料管I(1.1)、进料管II(1.2)和进料管III(1.3),进料管I(1.1)、进料管II(1.2)和进料管III(1.3)并排设置,进料管I(1.1)和进料管III(1.3)为尾部带有弯头的直管,进料管II(1.2)为直管并且位于进料管I(1.1)和进料管III(1.3)中间,进料管III(1.3)与进料管I(1.1)相对于进料管II(1.2)对称,进料管I(1.1)、进料管II(1.2)和进料管III(1.3)的尾端开孔形成进料管I喷嘴(1.7)、进料管II的喷嘴(1.8)和进料管III喷嘴(1.9),进料管I喷嘴(1.7)与进料管III喷嘴(1.9)相对设置。

2.根据权利要求1所述的三喷嘴撞击流结构,其特征在于进料管I(1.1)和进料管III(1.3)的直径相等、长度相等,进料管II(1.2)长度L1与进料管II(1.2)直径D1比值为

10~50,进料管I(1.1)长度L2与进料管I(1.1)直径D1比值为10~50,进料管I喷嘴(1.7)直径d6、进料管III喷嘴(1.9)直径d6与进料管II喷嘴(1.8)直径d5之比为1~10。

3.根据权利要求1或2所述的三喷嘴撞击流结构,其特征在于进料管I喷嘴(1.7)到进料管III喷嘴(1.9)之间的距离d1与进料管I喷嘴(1.7)、进料管III(1.9)喷嘴直径d6比为1~50,进料管II喷嘴(1.8)到进料管I喷嘴(1.7)和进料管III喷嘴(1.9)中心连接线的垂直距离距离d2与进料管II喷嘴(1.8)直径d5比为1~30。

4.根据权利要求3所述的三喷嘴撞击流结构,其特征在于进料管I喷嘴(1.7)以及进料管III喷嘴(1.9)的中心轴线与进料管II中心轴线的夹角θ为15°-90°。

5.根据权利要求4所述的三喷嘴撞击流结构,其特征在于进料管I(1.1)、进料管II(1.2)和进料管III(1.3)连接并固定在一起,形成一个整体结构。

6.根据权利要求5所述的三喷嘴撞击流结构,其特征在于量多的反应物料从进料管I进料口(1.4)和进料管III进料口(1.6)进入,而量少的反应物料从进料管II进料口(1.5)进入,量多的反应物料和量少反应物料的进料溶液体积比为1~20,两种反应物料的粘度为

1~300mPa×s。

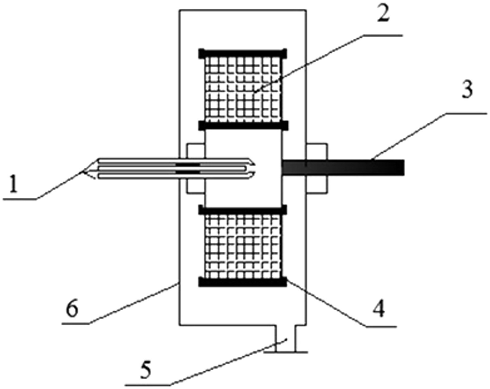
7.一种三喷嘴撞击流—旋转填料床装置,包括旋转填料床和如权利要求6所述的三喷嘴撞击流结构,旋转填料床包括填料(2)、转轴(3)、转子(4)、液体出口(5)和壳体(6),填料设置在转子空心圆环中;液体出口(5)在壳体(6)的底部;转轴(3)连接电机并带动转子转动,其特征在于:所述的三喷嘴撞击流结构(1)固定于转子(4)的空腔内,进料管I喷嘴(1.7)和进料管III喷嘴(1.9)中心连接线的中心位于转子(4)空腔的轴线中心位置。

8.根据权利要求7所述的三喷嘴撞击流—旋转填料床装置,其特征在于:转子(4)内径d4与三喷嘴撞击流结构(1)边缘到转子的距离d3的比值为1~6。