欢迎来到知嘟嘟! 联系电话:13095918853 卖家免费入驻,海量在线求购! 卖家免费入驻,海量在线求购!
知嘟嘟
我要发布
联系电话:13095918853
知嘟嘟经纪人
收藏
专利号: 2014100257129
申请人: 西安电子科技大学
专利类型:发明专利
专利状态:已下证
专利领域: 电通信技术
更新日期:2024-02-23
缴费截止日期: 暂无
价格&联系人
年费信息
委托购买

摘要:

权利要求书:

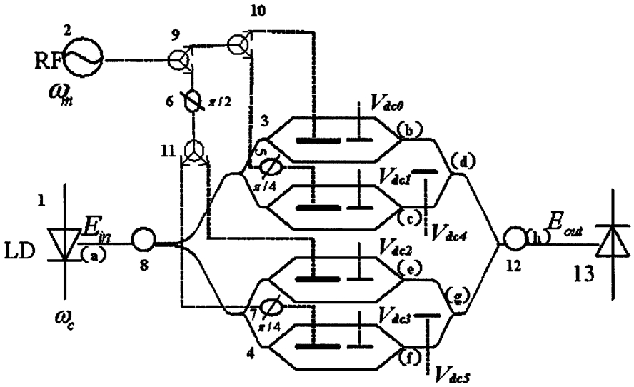
1.利用马赫-曾德尔调制器产生八倍频毫米波的装置,包括可调光源、光分路器、上路双平行马赫-曾德尔调制器、下路双平行马赫-曾德尔调制器、耦合器,光电检测器;所述光分路器设置在可调光源的出射光路上,所述光分路器与双平行马赫-曾德尔调制器(DPMZM)的输入端连接,其特征在于:所述两个双平行马赫-曾德尔调制器(DPMZM)是并联的,所述光分路器分别与双平行马赫-曾德尔调制器(DPMZM)的输入端连接;所述双平行马赫-曾德尔调制器(DPMZM)的输出端分别与光耦合器连接,所述光耦合器与光电探测器相连;

所述上路双平行马赫-曾德尔调制器(DPMZM)的一个射频输入端口连接有对射频源的射频信号产生45°相移差的第一移相器;所述下路双平行马赫-曾德尔调制器(DPMZM)的一个射频输入端口连接有对射频源的射频信号产生90°相移差的第二移相器;所述下路双平行马赫曾德尔调制器的另一个射频输入端口连接有依次对射频源的射频信号产生90°相移差的第二移相器和产生45°相移差的第三移相器;双平行马赫-曾德尔调制器的两个子调制器均工作在最大点,主调制器工作在最小点;

所述上路双平行马赫-曾德尔调制器(DPMZM)输出的主要成分为两个二阶边带与两个四阶边带;所述下路双平行马赫-曾德尔调制器(DPMZM)输出的主要成分同样为两个二阶边带与两个四阶边带;因为上下路双平行马赫-曾德尔调制器间引入了π/2的相位差,所以上下路的正负二阶边带相位相反,正负四阶边带同相,这样两路光信号叠加后,上下路正负二阶边带抵消,正负四阶边带增强;耦合器输出纯净的正负四阶边带,二者之间的频率间隔为

8f0,其中f0为射频驱动信号的频率;在不需要光滤波器和特殊调制指数的情况下,通过光电探测器进行拍频得到八倍于射频驱动信号的毫米波信号。

2.根据权利要求1所述的利用马赫-曾德尔调制器产生八倍频毫米波的装置,其特征在于:所述第一移相器可以连接在上路双平行马赫曾德尔调制器的上臂或者下臂;所述第三移相器可以连接在下路双平行马赫曾德尔调制器的上臂或者下臂;所述第二移相器可以连接在上路双平行马赫曾德尔调制器或者下路双平行马赫曾德尔调制器。

3.根据权利要求1所述的利用马赫-曾德尔调制器产生八倍频毫米波的装置,其特征在于:所述两个双平行马赫-曾德尔调制器(DPMZM)均包括三个马赫-曾德尔调制器,其中一个马赫-曾德尔调制器作为主调制器,另外两个马赫-曾德尔调制器作为子调制器嵌在主调制器中,每个子调制器具有独立的射频信号输入端口和偏置端口,两个子调制器具有相同的结构和性能,另外还有一个主偏置端口,可用来调节两个子调制器的输出。