欢迎来到知嘟嘟! 联系电话:13095918853 卖家免费入驻,海量在线求购! 卖家免费入驻,海量在线求购!
知嘟嘟
我要发布
联系电话:13095918853
知嘟嘟经纪人
收藏
专利号: 2014100245460
申请人: 浙江理工大学
专利类型:发明专利
专利状态:已下证
专利领域: 工程元件或部件;为产生和保持机器或设备的有效运行的一般措施;一般绝热
更新日期:2024-11-06
缴费截止日期: 暂无
价格&联系人
年费信息
委托购买

摘要:

权利要求书:

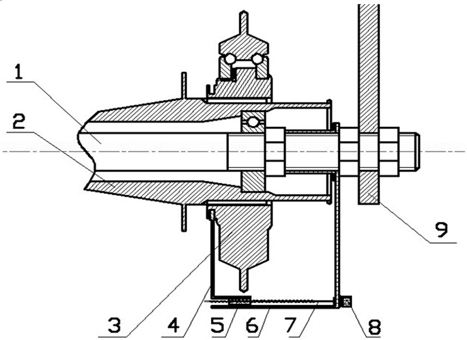
1.一种折叠自行车飞轮与花鼓间活动联接拨动装置,包括拨叉结构(4)、丝杠传动结构(5 )、控制丝杠定位架(6 )、控制丝杠(7 )和旋钮(8 ),其特征在于:折叠自行车的飞轮(3 )的芯子结构的内孔与后轮轴皮(2)外缘设置成相配合的花键联接,所述拨叉结构(4)的叉口卡在与拨叉匹配的拨叉槽口里,所述拨叉结构(4)和控制丝杠(7)配合组成丝杠传动结构(5)0

2.如权利要求1所述的折叠自行车飞轮与花鼓间活动联接拨动装置,其特征在于:所述拨叉结构(4)外端弯折90度,并固定一个内有螺纹孔的金属块,该金属块和控制丝杠(7)配合。

3.如权利要求1所述的折叠自行车飞轮与花鼓间活动联接拨动装置,其特征在于:所述控制丝杠定位架(6)为90度弯折的板件,其一端通过套筒和螺母压紧定位在后轴(I)上。

4.如权利要求1所述的折叠自行车飞轮与花鼓间活动联接拨动装置,其特征在于:所述旋钮(8)与控制丝杠(7)相联接,并固定在控制丝杠定位架(6)上。

5.如权利要求4所述的折叠自行车飞轮与花鼓间活动联接拨动装置,其特征在于:所述旋钮(8)为可折叠结构,其旋杆通过扭转基座可旋转地固定在旋钮座上。

6.如权利要求1所述的折叠自行车飞轮与花鼓间活动联接拨动装置,其特征在于:所述拨叉结构(4)叉口尺寸与飞轮(3)的拨叉槽口尺寸相匹配。

7.如权利要求1所述的折叠自行车飞轮与花鼓间活动联接拨动装置,其特征在于:所述丝杠传动结构(5)的螺纹满足螺纹升角小于螺旋副的当量摩擦角。