欢迎来到知嘟嘟! 联系电话:13336804447 卖家免费入驻,海量在线求购! 卖家免费入驻,海量在线求购!
知嘟嘟
我要发布
联系电话:13336804447
知嘟嘟经纪人
收藏
专利号: 2014100110336
申请人: 任强
专利类型:发明专利
专利状态:无效专利
专利领域: 家具;家庭用的物品或设备;咖啡磨;香料磨;一般吸尘器
更新日期:2024-05-06
缴费截止日期: 暂无
价格&联系人
年费信息
委托购买

摘要:

权利要求书:

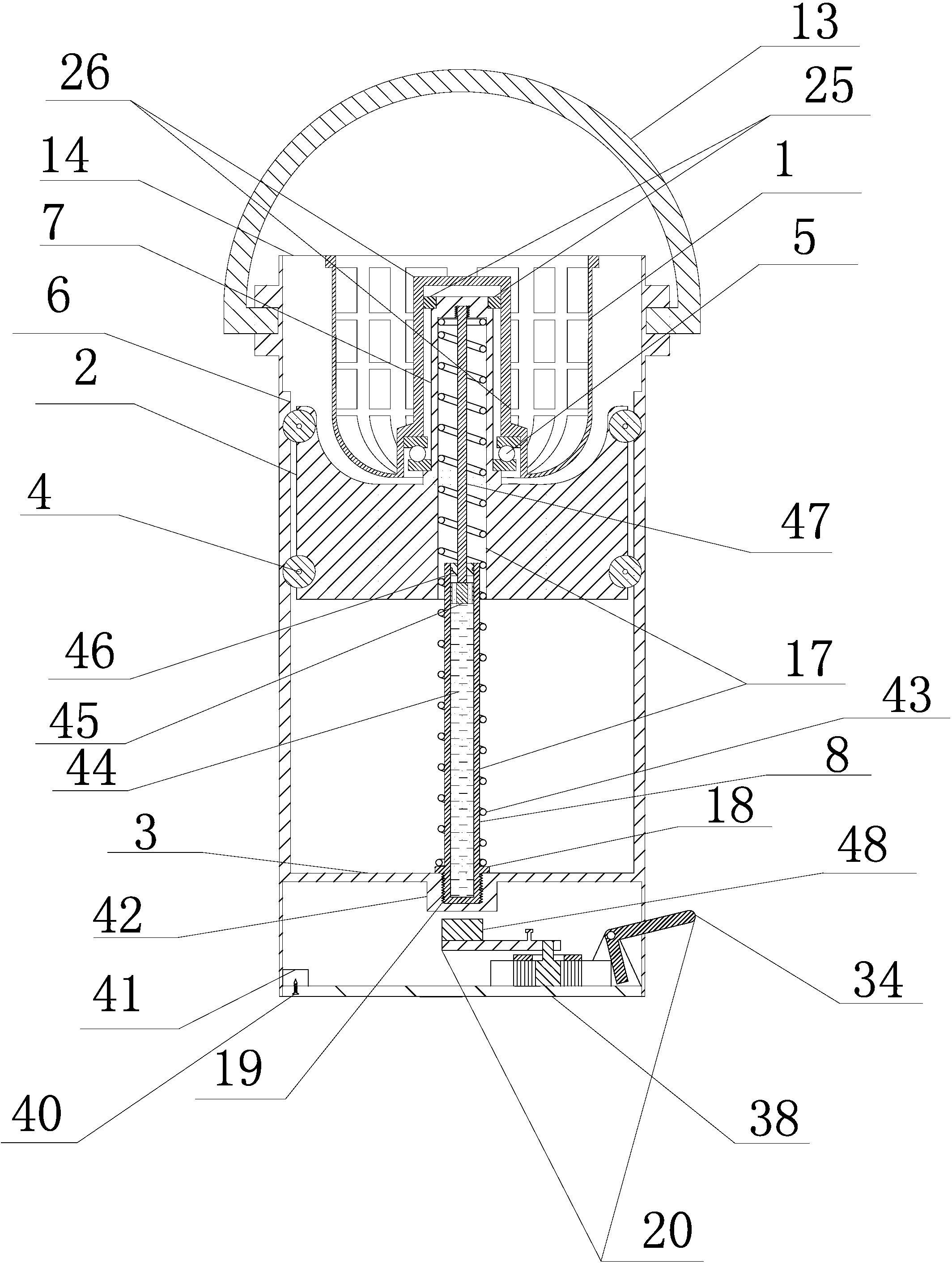
1.一种柱筒磁变液弹簧升降手压旋转拖把清洗甩干器,清洗桶(14)内设有旋转篮(1),其特征是:旋转篮(1)与清洗桶(14)之间设有旋转篮支架(2),旋转篮支架(2)与旋转篮(1)以及清洗桶(14)之间活动相接,旋转篮(1)底部设有一组可伸缩的旋转篮升降轴组(17),清洗桶(14)的底部设有一旋转篮升降控制机构(20)。

2.根据权利要求1所述的柱筒磁变液弹簧升降手压旋转拖把清洗甩干器,其特征是:

清洗桶(14)为圆柱形,其上端设有清洗桶把(13),桶壁上设有供旋转篮支架(2)上下移动的支架滑槽(6)。

3.根据权利要求1所述的柱筒磁变液弹簧升降手压旋转拖把清洗甩干器,其特征是:

旋转篮支架(2)的中心设有一向上凸起的上旋转轴(7)。

4.根据权利要求3所述的柱筒磁变液弹簧升降手压旋转拖把清洗甩干器,其特征是:

旋转篮支架(2)上设有支架滑轮(4)。

5.根据权利要求1所述的柱筒磁变液弹簧升降手压旋转拖把清洗甩干器,其特征是:

旋转篮(1)的底部设有一向上凸起的旋转篮轴套(26),并套接于上旋转轴(7)的上端,旋转篮轴套(26)与上旋转轴(7)之间设有旋转篮轴承(5)和上旋转轴轴头滑动套(25)。

6.根据权利要求1所述的柱筒磁变液弹簧升降手压旋转拖把清洗甩干器,其特征是:

旋转篮升降轴组(17)由中空的上旋转轴(7)和下旋转轴(8)套接构成,上旋转轴(7)内腔设有一固定于顶部的活塞杆(47),活塞杆(47)的下端固定一设有过油孔(52)的活塞(45),活塞(45)与下旋转轴(8)的内腔活动相接,下旋转轴(8)腔内设有磁流变液,其上端设有密封圈(46),下旋转轴(8)的下端设有下旋转轴凸缘(18)和下旋转轴下轴头(19),下旋转轴下轴头(19)与桶底(3)中心的下旋转轴下轴头孔(42)固定相接。

7.根据权利要求6所述的柱筒磁变液弹簧升降手压旋转拖把清洗甩干器,其特征是:

一控制升降的升降弹簧(43)下半部套接于下旋转轴(8)外,其上半部套接于上旋转轴(7)内。

8.根据权利要求1所述的柱筒磁变液弹簧升降手压旋转拖把清洗甩干器,其特征是:

所述旋转篮升降控制机构(20)其构造为一底板(38)由底板固定螺栓(40)通过设于桶底的底板固定脚(41)固定于清洗桶(14)的底端,一“L”形踏板(34)通过踏板转轴(36)固定于设在底板(38)上的踏板支架(35)上,设于底板(38)上的踏板顶杆活动槽(37)内设有一踏板顶杆(33),踏板(34)的前端与踏板顶杆(33)的后端活动相接,在踏板顶杆(33)中部的一侧设有顶杆直齿(50),踏板顶杆活动槽(37)中部靠顶杆直齿(50)一侧设有扭杆齿轮槽(51),使顶杆直齿(50)与设于底板(38)上的扭杆齿轮(49)能够啮合,扭杆齿轮(49)的上端设有一扭杆(21),扭杆(21)的前端固定一块磁铁(48),一扭杆回位弹簧(32)一端固定于底板(38)上的扭杆回位弹簧底板固定栓(31)上,另一端固定于扭杆(21)上的扭杆回位弹簧固定栓(30)上。