欢迎来到知嘟嘟! 联系电话:13336804447 卖家免费入驻,海量在线求购! 卖家免费入驻,海量在线求购!
知嘟嘟
我要发布
联系电话:13336804447
知嘟嘟经纪人
收藏
专利号: 2013105113552
申请人: 中国矿业大学
专利类型:发明专利
专利状态:已下证
专利领域: 测量;测试
更新日期:2024-01-05
缴费截止日期: 暂无
价格&联系人
年费信息
委托购买

摘要:

权利要求书:

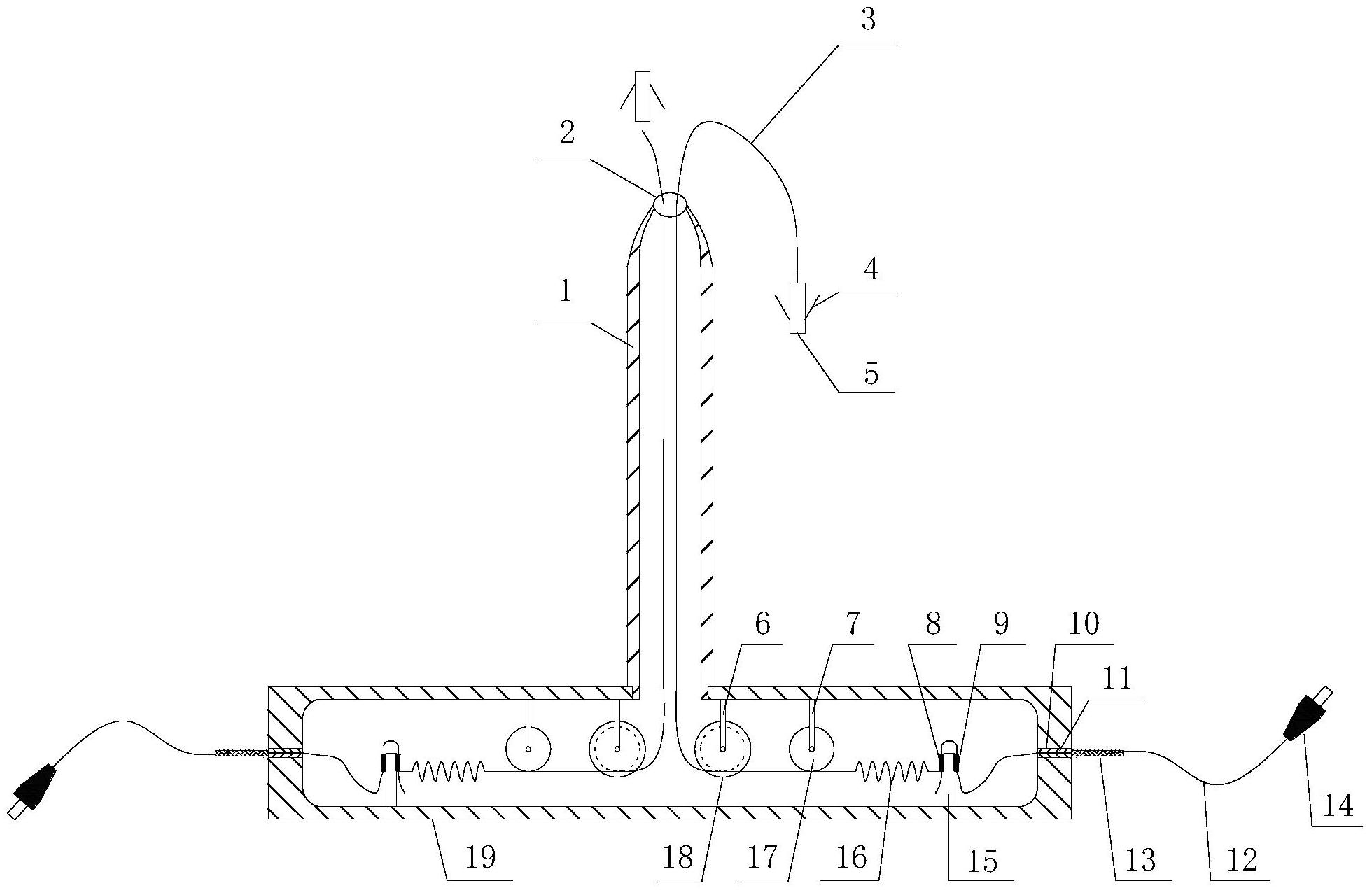
1.一种矿用光纤光栅顶板离层监测装置,包括封装壳体(19)、光纤(12)、光纤光栅、拉力弹簧(16)、钢丝绳(3)、锚固头(5),其特征在于:还包括设在顶板钻孔内的垂直测筒(1),封装壳体(19)连接在垂直测筒(1)下,所述的封装壳体(19)上部对称设有定滑轮固定架(6)、钢带轮固定架(7),下部对称设有等强度悬臂梁(15),封装壳体(19)的左右两侧对称开有光纤导出孔(10),所述的滑轮固定架(6)上设有定滑轮(18),所述的钢带轮固定架(7)上设有钢带轮(17),所述对称设置的等强度悬臂梁(15)相对一端分别设有拉力弹簧(16),两根拉力弹簧(16)另一端连接有钢丝绳(3),钢丝绳(3)穿过刚带轮(17)和定滑轮(18)从垂直测筒(1)顶部的钢丝绳引出孔(2)穿出,穿出钢丝绳引出孔(2)的钢丝绳(3)的端头连接锚固头(5),锚固头(5)上至少设有两个锚固爪(4);所述的等强度悬臂梁(15)左右两侧对称设有A光纤光栅(8)和B光纤光栅(9),A光纤光栅(8)与B光纤光栅(9)经同一条光纤(12)从光纤导出孔(10)穿出与光纤接线头(14)连接,光纤导出孔(10)内注有封住光纤导出孔(10)的密封胶(11),从光纤导出孔(10)引出的光纤(12)铠装有胶皮保护层(13)。

2.根据权利要求1所述的一种矿用光纤光栅顶板离层监测装置,其特征在于:所述的垂直测筒(1)的直径为30-35mm,长度为250-350mm。

3.根据权利要求1所述的一种矿用光纤光栅顶板离层监测装置,其特征在于:所述的锚固头(5)上安设的锚固爪(4)为2-4个。

4.根据权利要求1所述的一种矿用光纤光栅顶板离层监测装置,其特征在于:所述的A光纤光栅(8)与B光纤光栅(9)的形状大小相同,波长互不相同。

5.根据权利要求1所述的一种矿用光纤光栅顶板离层监测装置,其特征在于:所述的钢丝绳(3)的最大长度为7m。

6.根据权利要求1所述的一种矿用光纤光栅顶板离层监测装置,其特征在于:所述的定滑轮(18)为带U型槽的塑料轴承滑轮。

7.一种使用权利要求1所述装置的矿用光纤光栅顶板离层监测方法,包括在锚杆支护巷道中,向顶板支护的锚杆附近钻孔至预定的深度;其特征在于:a、在钻孔内部布置一个浅部测点(24)和一个深部测点(25),其中浅部测点(24)设置在与顶板锚杆(21)上端处于同一高度,深部测点(25)设置在钻孔(22)上端的稳定岩层内;

b、用安装杆将一个锚固头推至钻孔上端的深部测点(25),将另一个锚固头推至浅部测点(24),此时盘绕在刚带轮上的钢丝绳将会被拉开,轻拉封装壳体(19),确保锚固头(5)上的锚固爪(4)与岩层已经锚固在一起;

c、将封装壳体(19)外部光纤(12)的光纤接线头(14)连接至光纤接线盒(23);

d、钢丝绳(3)在顶板离层中的受力变化通过A光纤光栅(8)和B光纤光栅(9)的波长显示,利用波长解调装置将波长值解调为数字信号,送至计算机实时显示顶板离层的位移量,根据离层位移量绘制变化曲线和设定的离层界限值,判断是否有离层,实时监测顶板离层的数据变化:当深部测点(25)的数据不变,浅部测点(24)的数据不变,深部测点(25)的数据与浅部测点(24)的数据差值也不变时,可判断顶板没有发生离层或者顶板离层位置在深部测点(25)之上,此时应增大深部测点(25)的深度,监测深部测点(25)或者浅部测点(24)的数据是否有变化,进一步判断顶板离层情况;

当深部测点(25)的数据逐渐增大,浅部测点(24)的数据不变,深部测点(25)的数据和浅部测点(24)的数据差值逐渐增大时,可判断顶板离层位置在深部测点(25)与浅部测点(24)之间;

当深部测点(25)的数据逐渐增大,浅部测点(24)的数据逐渐增大,深部测点(25)的数据和浅部测点(24)的数据增幅相同时,则判断顶板离层位置在浅部测点(24)之下。