欢迎来到知嘟嘟! 联系电话:13336804447 卖家免费入驻,海量在线求购! 卖家免费入驻,海量在线求购!
知嘟嘟
我要发布
联系电话:13336804447
知嘟嘟经纪人
收藏
专利号: 2013104947576
申请人: 浙江工业大学
专利类型:发明专利
专利状态:已下证
专利领域: 卷扬;提升;牵引
更新日期:2024-08-16
缴费截止日期: 暂无
价格&联系人
年费信息
委托购买

摘要:

权利要求书:

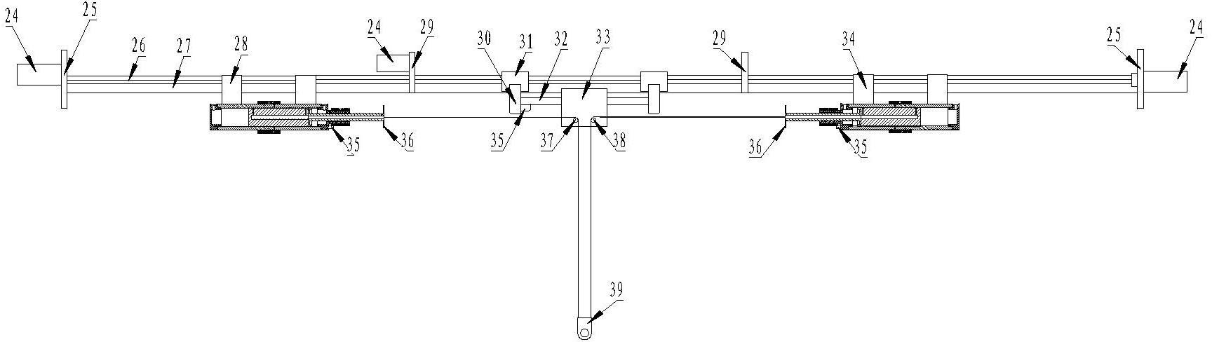
1.一种可实现长距离二维跟随的恒力吊挂装置,其特征在于:包括恒力输出气缸、气浮装置、导轨系统、滑轮组、悬挂绳、吊挂座、检测装置等; 所述导轨系统包括直线导轨、第一滑块、第二滑块、第三滑块和电机;所述直线导轨安装在水平横梁上且两端通过支架支撑,所述直线导轨上安装两个挡块,所述第一滑块套装在直线导轨上且位于两个挡块之间,所述第二滑块、第三滑块套装在直线导轨上且分别位于挡块两边的,所述电机有三个,分别安装在两个支架和挡块上,所述电机可独立驱动第一滑块、第二滑块、第三滑块; 所述恒力输出气缸有两个且分别连接第二滑块、第三滑块,所述气浮装置连接第一滑块; 所述气浮装置包含气浮座、气浮轴、气浮套;所述气浮套套装在气浮轴上,所述气浮轴两端通过气浮座支撑,所述气浮座连接第一滑块; 所述恒力输出气缸包含活塞、活塞杆、缸筒、端盖、缸筒盖、进气套;所述活塞杆连接活塞,所述活塞套装在缸筒内且和缸筒壁间存有极小间隙,所述缸筒两端分别套装端盖和缸筒盖,所述活塞杆穿过缸筒盖连接悬挂绳,所述活塞杆和缸筒盖内壁间存有极小间隙;所述滑轮组包含第一定滑轮、第二定滑轮,所述第一定滑轮和第二定滑轮与气浮套固接; 所述吊挂座连接目标工件,所述吊挂座上连接两根悬挂绳,所述两根悬挂绳分别绕过第一定滑轮、第二定滑轮连接同侧恒力输出气缸的活塞杆; 所述检测装置包括激光位移传感器和反光板,所述激光位移传感器有三个且分别安装在气浮座和两个恒力输出气缸的 缸筒盖上,所述反光板有两个且套装在活塞杆上,所述激光位移传感器可分别测量出气浮套和活塞杆的位移。

2.如权利要求1所述的一种可实现长距离二维跟随的恒力吊挂装置,其特征在于:所述恒力输出气缸的进气套包含第一进气套和第二进气套,所述第一进气套套装在缸筒上,所述第二进气套套装在缸筒盖上; 所述第一进气套和缸筒间留有间隙形成第一储气腔,所述第一进气套上设有第一进气口,所述第一进气口与第一储气腔相通。所述第二进气套和缸筒盖间留有间隙形成第二储气腔,所述第二进气套上设有第二进气口,所述第二进气口与第二储气腔相通; 所述缸筒沿圆周均布第一径向节流孔,所述第一径向节流孔与第一储气腔相通,所述第一径向节流孔沿轴向方向至少有两组,所述第一径向节流孔内安装节流塞; 所述缸筒盖上沿圆周均布第二径向节流孔,所述第二径向节流孔与第二储气腔相通,所述第二径向节流孔沿轴向方向至少有两组,所述第二径向节流孔内安装节流塞; 所述活塞上设有第一卸压槽,所述第一卸压槽包含活塞中心的轴向盲孔、活塞外圆柱面上的第一凹槽、第一凹槽内的第一径向通孔;所述第一径向通孔与轴向盲孔相通,所述第一凹槽至少有两组且位于活塞的两端; 所述活塞杆中心开有轴向通孔形成卸气孔,所述卸气孔与活塞中心的轴向盲孔相通;所述缸筒盖上设有第二卸压槽,所述第二卸压槽包含缸筒盖内壁上的第二凹槽、第二凹槽内的第二径向通孔;所述第二径向通孔与外界大气相通; 所述端盖上设有出气孔,所述缸筒盖上设有进气孔;所述进气孔通过气管连接气压传感器和大储气罐,所述大储气罐内储存恒压气体。

3.如权利要求1所述的一种可实现长距离二维跟随的恒力吊挂装置,其特征在于:所述第一定滑轮、第二定滑轮均为气浮轴承滑轮,所述气浮套、第一定滑轮、第二定滑轮可通过气浮轴供气。`