欢迎来到知嘟嘟! 联系电话:13336804447 卖家免费入驻,海量在线求购! 卖家免费入驻,海量在线求购!
知嘟嘟
我要发布
联系电话:13336804447
知嘟嘟经纪人
收藏
专利号: 201310494005X
申请人: 浙江工业大学
专利类型:发明专利
专利状态:已下证
专利领域: 工程元件或部件;为产生和保持机器或设备的有效运行的一般措施;一般绝热
更新日期:2023-12-11
缴费截止日期: 暂无
价格&联系人
年费信息
委托购买

摘要:

权利要求书:

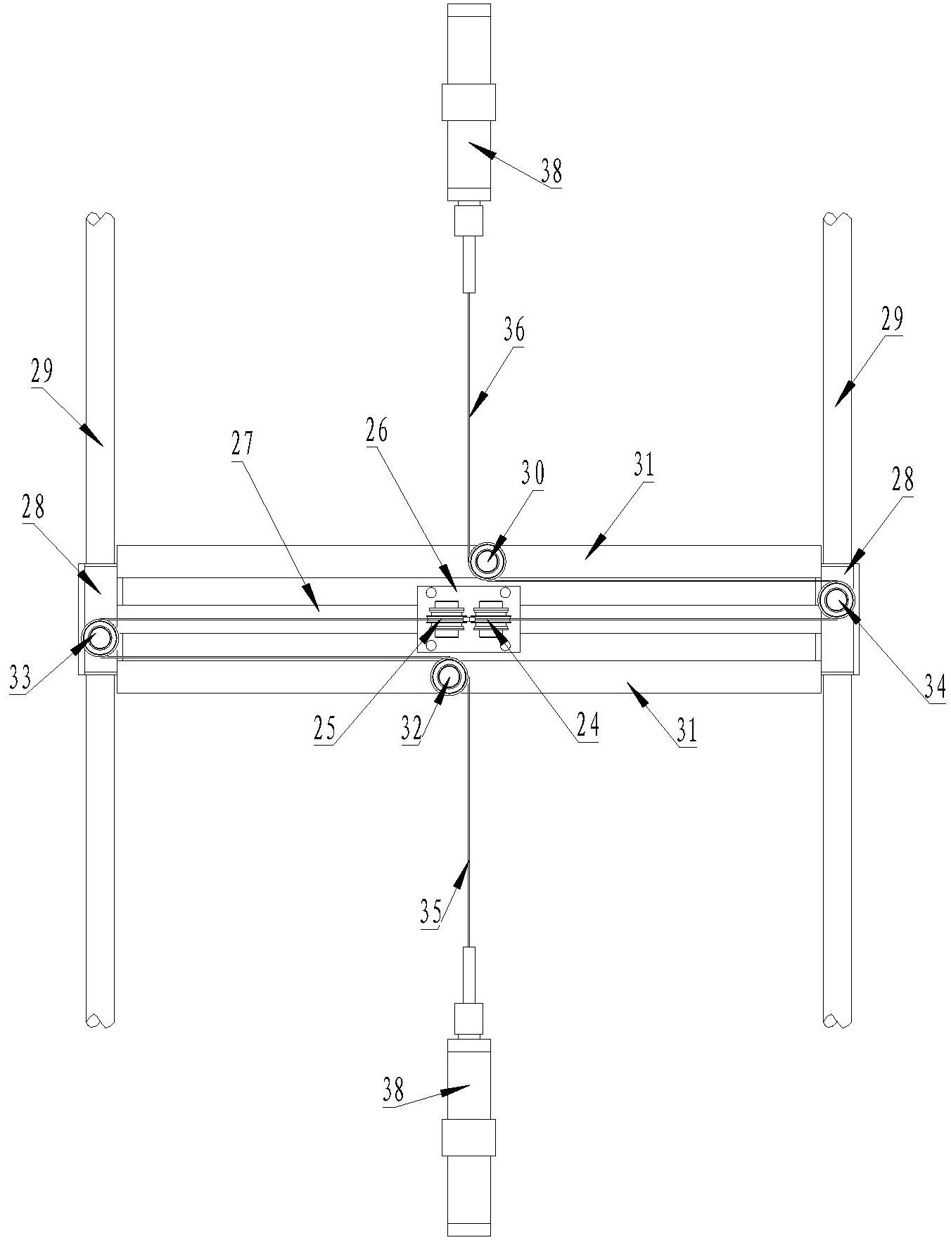
1.一种三维跟随恒力吊挂装置,其特征在于:包括气浮导轨、恒力输出装置、滑轮组、悬挂绳;

所述气浮导轨包含横向气浮轴、横向气浮套、纵向气浮轴和纵向气浮套,所述横向气浮套套装在横向气浮轴上,所述横向气浮轴两端与两个纵向气浮套固接,所述纵向气浮套套装在纵向气浮轴上,所述两个纵向气浮套之间连接水平支架,所述水平支架有两根且位于横向气浮轴的两侧;

所述滑轮组包括两个竖直安装的第一定滑轮、第二定滑轮和四个水平安装的第三定滑轮、第四定滑轮、第五定滑轮和第六定滑轮,所述第一定滑轮和第二定滑轮通过安装座固定在横向气浮套的下方,所述第三定滑轮和第四定滑轮分别固定在两个纵向气浮套的下方,所述第五定滑轮和第六定滑轮分别固定在两跟水平支架的下方;所述滑轮组内的定滑轮均为气浮轴承滑轮;

所述悬挂绳包含第一悬挂绳和第二悬挂绳,所述第一悬挂绳和第二悬挂绳连接吊挂座,所述吊挂座上吊挂目标工件;所述第一悬挂绳沿竖直方向绕过第一定滑轮,然后沿横向方向绕过同侧的第三定滑轮,再沿横向方向绕过第五定滑轮,最后沿纵向方向引出连接恒力输出装置;所述第二悬挂绳沿竖直方向绕过第二定滑轮,然后沿横向方向绕过同侧的第四定滑轮,再沿横向方向绕过第六定滑轮,沿与第一悬挂绳相反的纵向方向引出连接恒力输出装置;

所述恒力输出装置包括两个恒力输出气缸、滑块、纵向直线导轨、电机;所述两个恒力输出气缸分别通过滑块套装在纵向直线导轨上,所述电机有两个且可通过滑块单独控制两个恒力输出气缸的运动,所述两个恒力输出气缸的输出轴分别连接第一悬挂绳和第二悬挂绳。

2.如权利要求1所述的一种三维跟随恒力吊挂装置,其特征在于:所述恒力输出气缸包括活塞、输出轴、缸筒、端盖、缸筒盖、进气套;所述输出轴连接活塞,所述活塞套装在缸筒内且和缸筒壁间存有极小间隙,所述缸筒两端分别套装端盖和缸筒盖,所述端盖与动滑轮座固接,所述输出轴穿过缸筒盖,所述输出轴和缸筒盖内壁间存有极小间隙;

所述进气套包含第一进气套和第二进气套,所述第一进气套套装在缸筒上,所述第二进气套套装在缸筒盖上;所述第一进气套和缸筒间留有间隙形成第一储气腔,所述第一进气套上设有第一进气口,所述第一进气口与第一储气腔相通;所述第二进气套和缸筒盖间留有间隙形成第二储气腔,所述第二进气套上设有第二进气口,所述第二进气口与第二储气腔相通;

所述缸筒沿圆周均布第一径向节流孔,所述第一径向节流孔与第一储气腔相通,所述第一径向节流孔沿轴向方向至少有两组,所述第一径向节流孔内安装节流塞;所述缸筒盖上沿圆周均布第二径向节流孔,所述第二径向节流孔与第二储气腔相通,所述第二径向节流孔沿轴向方向至少有两组,所述第二径向节流孔内安装节流塞;

所述活塞上设有第一卸压槽,所述第一卸压槽包含活塞中心的轴向盲孔、活塞外圆柱面上的第一凹槽、第一凹槽内的第一径向通孔;所述第一径向通孔与轴向盲孔相通,所述第一凹槽至少有两组且位于活塞的两端;所述输出轴中心开有轴向通孔形成卸气孔,所述卸气孔与活塞中心的轴向盲孔相通;所述缸筒盖上设有第二卸压槽,所述第二卸压槽包含缸筒盖内壁上的第二凹槽、第二凹槽内的第二径向通孔;所述第二径向通孔与外界大气相通;

所述端盖上设有出气孔,所述缸筒盖上设有进气孔;所述进气孔通过气管连接气压传感器和大储气罐,所述大储气罐内储存恒压气体;

所述端盖与缸筒之间、缸筒与第一进气套之间、缸筒盖与缸筒之间、缸筒盖与第二进气套之间均采用O型圈密封。

3.如权利要求1所述的一种三维跟随恒力吊挂装置,其特征在于:所述恒力输出装置还包含检测组件,所述检测组件包括两组激光位移传感器和反光板,所述两组激光位移传感器分别安装在恒力输出气缸的缸筒盖上,所述反光板分别套装在输出轴上,所述激光位移传感器可测量出输出轴的位移。