欢迎来到知嘟嘟! 联系电话:13336804447 卖家免费入驻,海量在线求购! 卖家免费入驻,海量在线求购!
知嘟嘟
我要发布
联系电话:13336804447
知嘟嘟经纪人
收藏
专利号: 2013104937023
申请人: 浙江工业大学
专利类型:发明专利
专利状态:已下证
专利领域: 流体压力执行机构;一般液压技术和气动技术
更新日期:2023-12-11
缴费截止日期: 暂无
价格&联系人
年费信息
委托购买

摘要:

权利要求书:

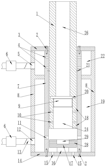
1.一种无摩擦恒力输出气浮装置,包括长活塞、缸筒、储气套、气压压板;所述长活塞套装在缸筒内且与缸筒间存在极小间隙,所述储气套套装在缸筒外,所述储气套及缸筒的两端通过端盖和底座密封,所述长活塞穿过端盖;

所述储气套与缸筒间形成相互独立的第一储气腔和第二储气腔;

所述气压压板套装在缸筒内且与缸筒壁间有间隙,所述气压压板下安装力传感器,所述力传感器固定在底座上,所述底座上开有出气口;

所述长活塞中心开有进气通孔和卸气通孔,所述进气通孔和卸气通孔间通过密封塞隔离,所述进气通孔在长活塞位于缸筒内的一端;

所述长活塞上沿圆周均布第一径向节流孔,所述第一径向节流孔与进气通孔相通,所述第一径向节流孔沿轴向方向至少有两组;所述缸筒靠近端盖的一端沿圆周均布第二径向节流孔,所述第二径向节流孔与第二储气腔相通;所述气压压板上沿圆周均布第三径向节流孔,所述第三径向节流孔与缸筒内腔相通;

所述第一径向节流孔、第二径向节流孔和第三径向节流孔内均安装有节流塞;

所述长活塞上设有第一卸压槽,所述第一卸压槽包含外圆柱面上的第一凹槽、第一凹槽内沿圆周均布的径向盲孔以及与径向盲孔相通的第一轴向孔;所述第一轴向孔一端通过卸气通孔内的第二凹槽与卸气通孔相通,所述第一轴向孔的另一端通过堵块密封;所述外圆柱面上的第一凹槽至少有两组且位于第一径向节流孔的两侧;所述第一卸压槽与第一径向节流孔之间相互隔离;

所述缸筒上设有第二卸压槽,所述第二卸压槽包含缸筒内圆柱面上的第三凹槽、与第三凹槽相通的第二轴向孔,所述第二轴向孔另一端与端盖上的通孔相通;所述第三凹槽位于第二径向节流孔的下方,所述第二卸压槽与第二径向节流孔之间相互隔离;

所述缸筒靠近气压压板的一端沿圆周均布进气口,所述储气套上设有第一进气孔和第二进气孔,所述第一进气孔与第一储气腔相通,所述第二进气孔与第二储气腔相通;所述第一进气孔和第二进气孔分别通过气管与比例阀连接。