欢迎来到知嘟嘟! 联系电话:13336804447 卖家免费入驻,海量在线求购! 卖家免费入驻,海量在线求购!
知嘟嘟
我要发布
联系电话:13336804447
知嘟嘟经纪人
收藏
专利号: 2013104928965
申请人: 浙江工业大学
专利类型:发明专利
专利状态:已下证
专利领域: 流体压力执行机构;一般液压技术和气动技术
更新日期:2023-12-11
缴费截止日期: 暂无
价格&联系人
年费信息
委托购买

摘要:

权利要求书:

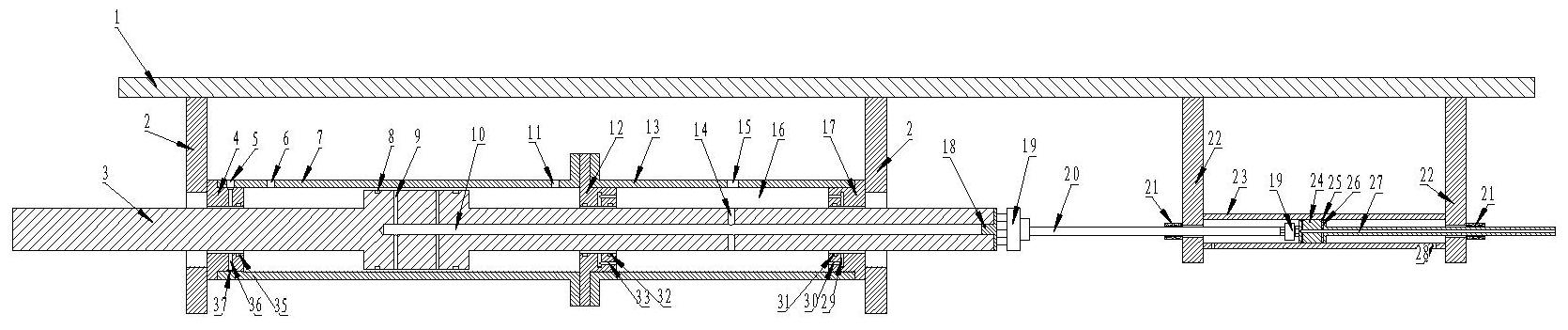
1.一种带气缸补偿的恒力输出气浮装置,其特征在于:包括输出气缸、补偿气缸;所述输出气缸包括第一连杆活塞、第一缸筒、储气套,气浮套,其中,所述气浮套包含第一气浮套、第二气浮套和第三气浮套;所述补偿气缸包括第二连杆活塞、第二缸筒;所述输出气缸和补偿气缸均通过连接支架与固定板连接,所述输出气缸内的第一连杆活塞和补偿气缸内的第二连杆活塞的轴心在同一直线上;

所述第一气浮套套装在储气套内,所述储气套与第一缸筒端面固接,所述第二气浮套套装在储气套的上端,所述第三气浮套套装在第一缸筒的下端;所述第一连杆活塞由长杆、短杆和中间活塞组成,所述中间活塞套装在第一缸筒内,所述中间活塞的活塞壁与第一缸筒之间留有极小的间隙,所述长杆穿过第一气浮套、第二气浮套且和第一气浮套、第二气浮套内壁间留有极小的间隙,所述短杆端穿过第三气浮套且和第三气浮套内壁间留有极小的间隙,所述第二气浮套和第三气浮套分别与第一连接支架固定;

所述第二连杆活塞包含活塞和活塞杆,所述活塞套装在第二缸筒内且和第二缸筒内壁之间留有极小的间隙,所述第二缸筒两端分别与第二连接支架固定,所述活塞杆穿过第二连接支架;所述第一连杆活塞的长杆与第二连杆活塞的活塞通过浮动接头和连接杆连接,所述连接杆和活塞杆上均套有气浮轴承,所述气浮轴承与第二连接支架固定;

所述第一缸筒内径远大于第二缸筒内径;

所述储气套与长杆之间形成储气腔,所述储气套上设有第一进气口,所述第一进气口与储气腔相通;所述第一缸筒的一端设有第二进气口,所述第一缸筒的另一端设有第一出气口和气浮进气口,所述第二进气口通过气管连接差压传感器和大储气罐,所述第二缸筒两端分别设有第三进气口和第四进气口,所述第三进气口和第四进气口分别通过气管连接比例阀和小储气罐;

所述长杆中心打轴向盲孔形成第一进气孔,所述中间活塞上沿圆周均布第一径向节流孔,所述第一径向节流孔与所述第一进气孔相通,所述第一径向节流孔内套装节流塞,所述第一径向节流孔沿轴向方向至少有两组;所述长杆上开有径向通孔形成第二进气孔,所述第二进气孔与第一进气孔相通,所述第二进气孔位于储气腔内;所述长杆端面套装密封盖;

所述第一连杆活塞上设有第一卸压槽,所述第一卸压槽包含中间活塞外圆柱面上的第一凹槽、第一凹槽内均布的第一径向盲孔、短杆内均布的与第一径向盲孔相通的第一轴向盲孔;所述第一凹槽至少有两组且位于第一径向节流孔的两侧;所述第一卸压槽与所述第一径向节流孔、第一进气孔之间相互隔离;

所述第二连杆活塞的活塞上沿圆周均布第五径向节流孔,所述活塞沿端面打轴向盲孔形成第四进气孔,所述第四进气孔与第五径向节流孔相通,所述第五径向节流孔内套装节流塞,所述第五径向节流孔沿轴向方向至少有两组;所述活塞上设有第五卸压槽,所述第五卸压槽包含活塞外圆柱面上的第六凹槽、第六凹槽内均布的第五径向盲孔、与第五径向盲孔相通的第五轴向盲孔,所述第五轴向盲孔一端通过活塞杆与外界大气相通,所述第五卸压槽与第五径向节流孔之间相互隔离。

2.如权利要求1所述的一种带气缸补偿的恒力输出气浮装置,其特征在于:所述第一气浮套上均布轴向盲孔形成第二进气孔,所述第二进气孔与储气腔相通,所述第一气浮套沿圆周均布第二径向节流孔,所述第二径向节流孔与所述第二进气孔相通,所述第二径向节流孔内套装节流塞,所述第一气浮套上设有第二卸压槽,所述第二卸压槽包含内圆柱面上的第二凹槽、第二凹槽内的第二径向盲孔和第二径向通孔、与第二径向盲孔和第二径向通孔相通的第二轴向盲孔;所述第二轴向盲孔一端通过密封塞密封,所述第二径向通孔与外界大气相通;所述第二凹槽有两组且位于第二径向节流孔的两侧,所述第二卸压槽与第二径向节流孔之间相互隔离;

所述第二气浮套上均布轴向盲孔形成第三进气孔,所述第三进气孔与储气腔相通,所述第二气浮套沿圆周均布第三径向节流孔,所述第三径向节流孔与所述第三进气孔相通,所述第三径向节流孔内套装节流塞;所述第二气浮套上设有第三卸压槽,所述第三卸压槽包含内圆柱面上的第三凹槽、第三凹槽内均布的第三径向盲孔、与第三径向盲孔相通的第三轴向盲孔;所述第三凹槽靠近储气腔,所述第三轴向盲孔一端与外界大气相通,所述第三卸压槽与第三径向节流孔之间相互隔离;

所述第三气浮套外圆柱面上设有第四凹槽,所述第四凹槽与缸筒上的气浮进气口相通,所述第四凹槽内沿圆周均布第四径向节流孔,所述第四径向节流孔内套装节流塞;所述第三气浮套上设有第四卸压槽,所述第四卸压槽包含内圆柱面上的第五凹槽、第五凹槽内均布的第四径向盲孔、与第四径向盲孔相通的第四轴向盲孔,所述第四轴向盲孔一端与外界大气相通,所述第四卸压槽与第四径向节流孔之间相互隔离。