欢迎来到知嘟嘟! 联系电话:13336804447 卖家免费入驻,海量在线求购! 卖家免费入驻,海量在线求购!
知嘟嘟
我要发布
联系电话:13336804447
知嘟嘟经纪人
收藏
专利号: 2013101455279
申请人: 中北大学
专利类型:发明专利
专利状态:已下证
专利领域: 测量;测试
更新日期:2024-01-05
缴费截止日期: 暂无
价格&联系人
年费信息
委托购买

摘要:

权利要求书:

1.一种基于电容耦合的旋转件扭矩测试方法,其特征在于,将旋转件扭矩测试装置接入电容检测电路中;

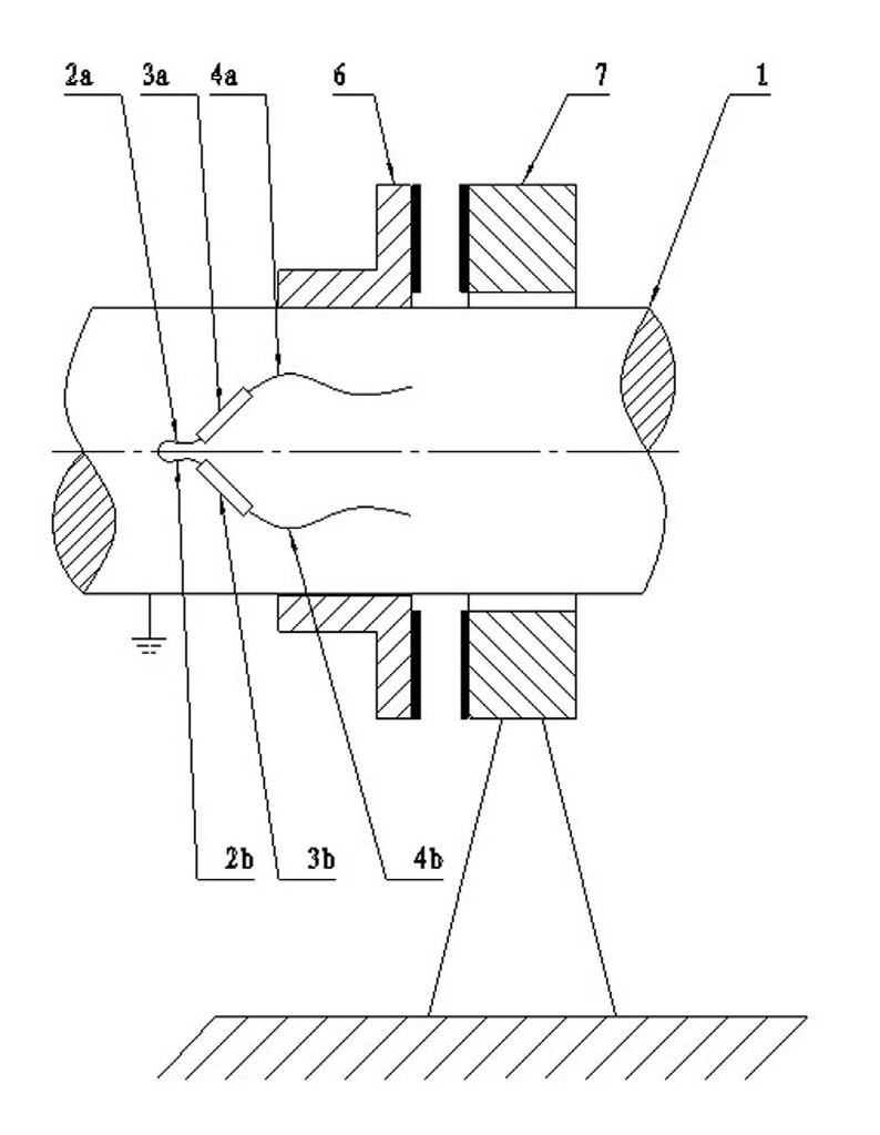
所述的旋转件扭矩测试装置包括粘贴于动力机械装置内旋转件(1)被测部位的第一感应元件,设于动力机械装置内的第二感应元件,

所述的第一感应元件是由电阻应变片Ra(3a)和电阻应变片Rb(3b)构成的,电阻应变片Ra(3a)和电阻应变片Rb(3b)一端分别通过引线(2a、2b)连接于旋转件(1)上,旋转件(1)接地,电阻应变片Ra(3a)和电阻应变片Rb(3b)的相互位置关系保证随旋转件(1)转动各电阻应变片产生形变;

所述的第二感应元件是由动支撑件(6)、静支撑件(7)、设于动支撑件(6)上的动极板以及设于静支撑件(7)上的静极板构成的,动极板是由动极板A片(9a)和动极板B片(9b)构成的,静极板是由静极板A片(10a)和静极板B片(10b)构成的;所述的动支撑件(6)固定套装于旋转件(1)上随旋转件(1)旋转运动,动极板A片(9a)和动极板B片(9b)之间相互绝缘;所述的静支撑件(7)环套于旋转件(1)且支撑于动力机械装置内,静极板A片(10a)和静极板B片(10b)之间相互绝缘;所述的动支撑件(6)和静支撑件(7)之间有相对面,且动极板和静极板分别安装于各支撑件的相对面上,动极板和静极板的形状控制静极板A片(10a)与随旋转件(1)转动的动极板A片(9a)形成周而复始的由小变大、由大变小的电容C1a,与随旋转件(1)转动的动极板B片(9b)形成周而复始的由由大变小、小变大的电容C1b;同理,静极板B片(10b)与随旋转件(1)转动的动极板A片(9a)形成周而复始的由大变小、由小变大的电容C2a,与随旋转件(1)转动的动极板B片(9b)形成周而复始的由小变大、由大变小的电容C2b;动极板A片(9a)通过引线(4a)与电阻应变片Ra(3a)的另一端相连,动极板B片(9b)通过引线(4b)与电阻应变片Rb(3b)的另一端相连;静极板A片(10a)通过引线(8a)输出信号,静极板B片(10b)通过引线(8b)输出信号;

所述的旋转件扭矩测试装置是通过将静极板A片(10a)的引线(8a)和静极板B片(10b)的引线(8b)接入电容检测电路中的。

2.一种基于电容耦合的旋转件扭矩测试方法,其特征在于,将旋转件扭矩测试装置形成的电路中接入交流恒流源;

所述的旋转件扭矩测试装置包括粘贴于动力机械装置内旋转件(1)被测部位的第一感应元件,设于动力机械装置内的第二感应元件,

所述的第一感应元件是由电阻应变片Ra(3a)和电阻应变片Rb(3b)构成的,电阻应变片Ra(3a)和电阻应变片Rb(3b)一端分别通过引线(2a、2b)连接于旋转件(1)上,旋转件(1)接地,电阻应变片Ra(3a)和电阻应变片Rb(3b)的相互位置关系保证随旋转件(1)转动各电阻应变片产生形变;

所述的第二感应元件是由动支撑件(6)、静支撑件(7)、设于动支撑件(6)上的动极板以及设于静支撑件(7)上的静极板构成的,动极板是由动极板A片(9a)和动极板B片(9b)构成的,静极板是由静极板A片(10a)和静极板B片(10b)构成的;所述的动支撑件(6)固定套装于旋转件(1)上随旋转件(1)旋转运动,动极板A片(9a)和动极板B片(9b)之间相互绝缘;所述的静支撑件(7)环套于旋转件(1)且支撑于动力机械装置内,静极板A片(10a)和静极板B片(10b)之间相互绝缘;所述的动支撑件(6)和静支撑件(7)之间有相对面,且动极板和静极板分别安装于各支撑件的相对面上,动极板和静极板的形状控制静极板A片(10a)与随旋转件(1)转动的动极板A片(9a)形成周而复始的由小变大、由大变小的电容C1a,与随旋转件(1)转动的动极板B片(9b)形成周而复始的由由大变小、小变大的电容C1b;同理,静极板B片(10b)与随旋转件(1)转动的动极板A片(9a)形成周而复始的由大变小、由小变大的电容C2a,与随旋转件(1)转动的动极板B片(9b)形成周而复始的由小变大、由大变小的电容C2b;动极板A片(9a)通过引线(4a)与电阻应变片Ra(3a)的另一端相连,动极板B片(9b)通过引线(4b)与电阻应变片Rb(3b)的另一端相连;静极板A片(10a)通过引线(8a)输出信号,静极板B片(10b)通过引线(8b)输出信号;

然后将静极板A片(10a)的引线(8a)和静极板B片(10b)的引线(8b)进行短接,动极板A片(9a)与静极板形成固定电容Ca,动极板B片(9b)与静极板形成固定电容Cb。

3.根据权利要求1或2所述的基于电容耦合的旋转件扭矩测试方法,其特征在于,所述的旋转件扭矩测试装置中动支撑件(6)为动套筒,静支撑件(7)为静套筒。

4.根据权利要求3所述的基于电容耦合的旋转件扭矩测试方法,其特征在于,所述的旋转件扭矩测试装置中动套筒和静套筒的相对面为端面。

5.根据权利要求4所述的基于电容耦合的旋转件扭矩测试方法,其特征在于,所述的旋转件扭矩测试装置中动极板B片(9b)包括环形本体以及均匀连接于环形本体上的若干扇环形,动极板A片(9a)与动极板B片(9b)呈互补结构;同理所述静极板A片(10a)和静极板B片(10b)。